Добавить в корзинуПозвонить
Найти в Дзене

Granta FL не включается вентилятор радиатора

Введение На календаре, безжалостно приближался май, а это значило, что наступила пора для переобувания шин и подготовки машины к летнему сезону. С 25 апреля, синоптики стали обещать аномальную жару, то есть до первого мая следовало ожидать снег и морозы. Я, как водитель со стажем, все же решил доверится беспечным синоптикам и стал готовить машину к летнему сезону. Начал с промывки радиатора, благо на мойках самообслуживания, давление воды было достаточное для этой процедуры. И... машина после мойки взбрыкнула - перестал включаться вентилятор радиатора системы охлаждения. Благо у меня Гранта, а значит, была куча интернет-пособий для начинающего автоэлектрика. Вскоре, для меня стало неприятной неожиданностью, что на мою Гранту (Granta FL), на просторах всезнающего интернета, найти электрическую схему было невозможно. Хотя признаю, были довольно толковые руководства по диагностике и ремонту почти моего авто - надо было только приложить мозг и руки в нужном направлении. Немного теории Наск
На Урале уже стали проявляться все признаки весны - 29 апреля глубина снега достигла приемлемых величин, то есть наступила пора подготавливать а/м к летнему периоду
На Урале уже стали проявляться все признаки весны - 29 апреля глубина снега достигла приемлемых величин, то есть наступила пора подготавливать а/м к летнему периоду

Введение

На календаре, безжалостно приближался май, а это значило, что наступила пора для переобувания шин и подготовки машины к летнему сезону. С 25 апреля, синоптики стали обещать аномальную жару, то есть до первого мая следовало ожидать снег и морозы. Я, как водитель со стажем, все же решил доверится беспечным синоптикам и стал готовить машину к летнему сезону. Начал с промывки радиатора, благо на мойках самообслуживания, давление воды было достаточное для этой процедуры. И... машина после мойки взбрыкнула - перестал включаться вентилятор радиатора системы охлаждения. Благо у меня Гранта, а значит, была куча интернет-пособий для начинающего автоэлектрика. Вскоре, для меня стало неприятной неожиданностью, что на мою Гранту (Granta FL), на просторах всезнающего интернета, найти электрическую схему было невозможно. Хотя признаю, были довольно толковые руководства по диагностике и ремонту почти моего авто - надо было только приложить мозг и руки в нужном направлении.

Немного теории

Насколько я смог разобраться, просторы российских дорог, бороздят Гранты с тремя схемами включения вентилятора радиатора системы охлаждения.

Вариант 1. С одним вентилятором и без кондиционера. Взято из просторов интернета
Вариант 1. С одним вентилятором и без кондиционера. Взято из просторов интернета
Вариант 2. С кондиционером и двумя вентиляторами - один вентилятор радиатора системы охлаждения, второй - кондиционера. Взято из просторов интернета
Вариант 2. С кондиционером и двумя вентиляторами - один вентилятор радиатора системы охлаждения, второй - кондиционера. Взято из просторов интернета
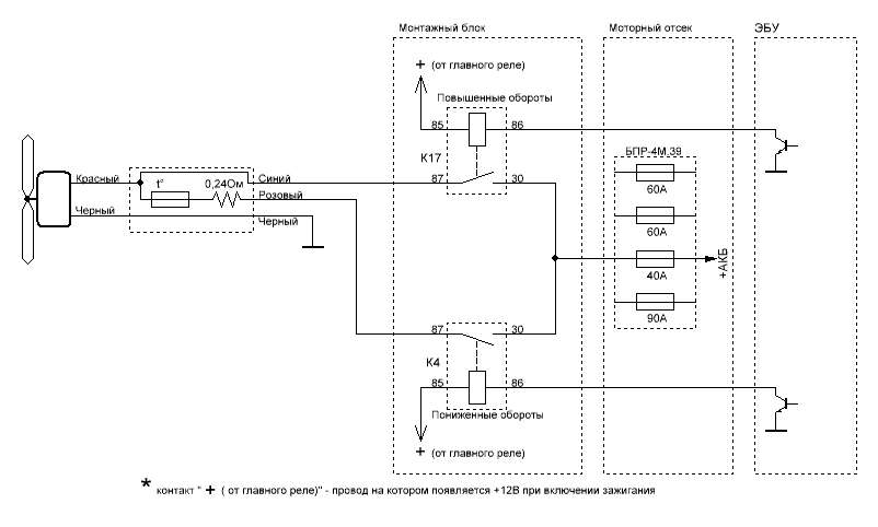
Вариант 3. С кондиционером и одним вентилятором. Нарисовано с реальной разводки с собственного а/м, возможны незначительные неточности.
Вариант 3. С кондиционером и одним вентилятором. Нарисовано с реальной разводки с собственного а/м, возможны незначительные неточности.

На самом деле, если верить интернету, вариантов схем больше, но все они частности этих трех вариантов. Схему на третий вариант я не смог найти, возможно плохо искал. По закону подлости, на моей машине был как раз этот самый, третий, вариант - пришлось рисовать самостоятельно.

Граничные температуры включения разных скоростей вращения вентилятора. Взято из просторов интернета
Граничные температуры включения разных скоростей вращения вентилятора. Взято из просторов интернета

Для вариантов с кондиционером (вариант 2 и 3) у вентилятора охлаждения радиатора существует два варианта включения - пониженная и повышенная скорость вращения.

Методики диагностики

Основная, и самая эффективная, методика диагностики цепи вентилятора охлаждения радиатора системы охлаждения - это откинуть фишку с датчика температуры двигателя расположенного на термостате.

Важно! Откидывать фишку разъема датчика температуры следует на заведенном двигателе. При использовании ELM 327, наоборот, двигатель должен быть заглушен. В обоих вариантах, ключ зажигания повернут - для включения основного реле.

При откинутой фишке датчика температуры двигателя - вентилятор, с небольшой задержкой, должен запустится. Включение вентилятора говорит об исправности как управляющих, так и силовых цепей. Этот способ проверки эффективен тем, что можно проверить как управляющие, так и силовые цепи не используя схему. Из минусов такой диагностики - добраться до датчика температуры двигателя и не запачкаться, довольно проблематично.

Не менее эффективная методика диагностики, это проверка реле - но тут уже нужна схема включения и минимальное знание законов Ома и Кирхгофа. Этот метод эффективен тем, что есть шанс не запачкать руки и сразу получить готовый результат - выявить дефектный элемент с минимальными телодвижениями. Из минусов такой диагностики - требуется инструмент и в случае отрицательного результата, все равно придется откидывать датчик температуры двигателя, для дальнейшей полной диагностики.

Диагностика. Шаг 1

Расположение реле на монтажном блоке (третий ряд (реле К13-17) может иметь меньшее количество реле - в зависимости от опций установленных в а/м). Цветом выделены реле включающие вентилятор охлаждения радиатора системы охлаждения
Расположение реле на монтажном блоке (третий ряд (реле К13-17) может иметь меньшее количество реле - в зависимости от опций установленных в а/м). Цветом выделены реле включающие вентилятор охлаждения радиатора системы охлаждения

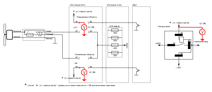
Менее трудозатратная методика диагностики - это проверка реле, а значит  - мой путь. На выключенном зажигании снимаем реле К4 (пониженные обороты) и К17 (повышенные обороты). На 30 контакте - цешкой или лампой 12В проверяем наличие +12В относительно кузова а/м. При исправном предохранителе в моторном отсеке - на 30 контакте цешка покажет +12в, а лампочка загорится.

Проверка предохранителя моторного отсека на монтажной плате
Проверка предохранителя моторного отсека на монтажной плате

В моем случае, классическая колодка с предохранителями отсутствовала, вместо нее установлен блок предохранителей БПР-4М.39

Блок предохранителей БПР-4М.39 находится на своем месте, но по виду похож на предохранители от Газели, а не на предохранители от Гранты. Нужный предохранитель подписан как 40А
Блок предохранителей БПР-4М.39 находится на своем месте, но по виду похож на предохранители от Газели, а не на предохранители от Гранты. Нужный предохранитель подписан как 40А

Если напряжение на 30 контакте колодок обоих реле присутствует, то выполняем второй шаг.

Диагностика. Шаг 2

На выключенном зажигании снимаем реле К4 (пониженные обороты) К17 (повышенные обороты). Из толстого провода (0,75 и толще) устанавливаем перемычку между выводами 30 и 87 (вывода друг напротив друга по горизонтали) в колодке для реле К4. Вентилятор должен включится.

Проверка реле включения К4 (пониженные обороты).
Проверка реле включения К4 (пониженные обороты).

Если вентилятор включился, снимаем перемычку с колодки реле К4 и аналогично проверяем реле К17. Если Реле К4 и К17 исправны, то выполняем шаг 3.

Диагностика. Шаг 3

Снимаем фишку вентилятора радиатора. Для этого требуется снять фильтр воздухозаборника. Потребуется крестовая отвертка для снятия хомута и плоская отвертка для сжимания и последующего снятия двух защелок крепления провода с аккумулятора (на боковине) и трубки с расширительного бачка охлаждающей жидкости (снизу на днище).

Снимаем фишку разъема вентилятора
Снимаем фишку разъема вентилятора

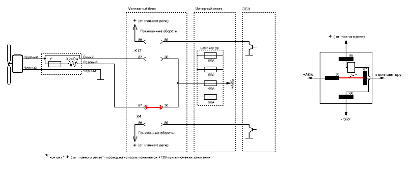
На выключенном зажигании снимаем реле К4 (пониженные обороты) К17 (повышенные обороты). Из толстого провода (0,75 и толще) устанавливаем перемычку между выводами 30 и 87 (вывода друг напротив друга по горизонтали) в колодке для реле К4 и К17.

Проверка целостности проводов до вентилятора
Проверка целостности проводов до вентилятора

Для цепи К4, при установке перемычки, на розовом проводе фишки вентилятора должно появиться +12В.

Для цепи К17, при установке перемычки, на синем проводе фишки вентилятора должно появиться +12В.

Если напряжения на синем и розовом проводе фишки вентилятора присутствуют, то выполняем шаг 4.

Диагностика. Шаг 4

Схема тестирования вентилятора - на черный провод, напрямую подаем минус, на красный - плюс 12В с аккумулятора
Схема тестирования вентилятора - на черный провод, напрямую подаем минус, на красный - плюс 12В с аккумулятора

Снимаем ответную часть разъема вентилятора, фишка разъема вентилятора должна быть отключена. С аккумулятора на выводы вентилятора подаем 12 вольт - вентилятор должен включится. Если вентилятор включился, то неисправен резистор и/или термопредохранитель - сопротивление обоих должно быть равно нулю. Если вентилятор не включился, то неисправен вентилятор.

Если вентилятор, резистор и термопредохранитель исправные, то выполняем шаг 5.

Диагностика. Шаг 5

Устанавливаем реле К4 и К17 обратно, устанавливаем обратно воздушный фильтр. На заведенном двигателе снимаем фишку датчика температуры двигателя (находится на термостате). ЭБУ должен уйти в аварийный режим и секунд через 5-7, вентилятор должен включится. Если вентилятор не включился, то снимаем реле К4 (пониженные обороты) К17 (повышенные обороты) и на заведенном двигателе проверяем напряжение +12В на 85 контакте колодки соответствующего реле.

Тестируем цепи питания реле
Тестируем цепи питания реле

Если напряжение присутствует, то у вас мой случай - неисправен ЭБУ и нужно выполнить шаг 6.

Диагностика. Шаг 6

Для диагностики ЭБУ требуется ELM 327 и продвинутые знания в области электроники. Дальнейшая диагностика и ремонт ЭБУ - тема отдельной заметки.

Для справки

Шпаргалка, для распечатки и последующей диагностики в гараже (открыть в новом окне и скачать в полном разрешении)
Шпаргалка, для распечатки и последующей диагностики в гараже (открыть в новом окне и скачать в полном разрешении)

Мой вариант монтажного блока
Мой вариант монтажного блока