Найти в Дзене
4pda.to

HP запатентовала ноутбук с гибким распашным дисплеем

Ноутбуков со сгибаемым экраном на рынке пока немного, но производители электроники постепенно осваивают и это направление. По крайней мере, на уровне документации: новый патент HP посвящён устройству с весьма необычной конструкцией дисплея. В опубликованном регулятором USPTO документе описана конструкция ноутбука с гибким экраном, который складывается не вдвое, как обычные раскладушки, а с двух сторон. Судя по иллюстрациям, у модели нет внешнего экрана, и пользоваться им можно только в разложенном виде — конструкция явно рассчитана только на облегчение транспортировки. Ранее компания Razer выпустила ноутбук с похожей конструкцией, но в нём установлены три экрана, соединённые между собой петлями, а не одна гибкая матрица. Похожее устройство ранее также анонсировала компания ACEMAGIC.
   HP запатентовала ноутбук с гибким распашным дисплеем
HP запатентовала ноутбук с гибким распашным дисплеем

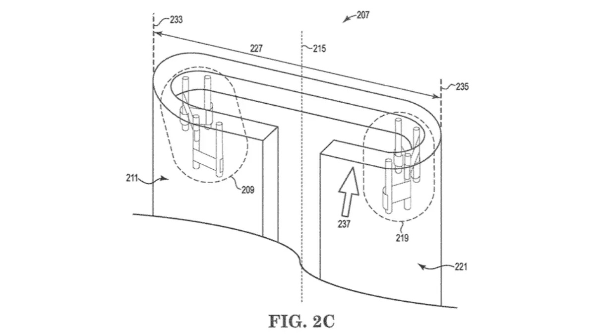
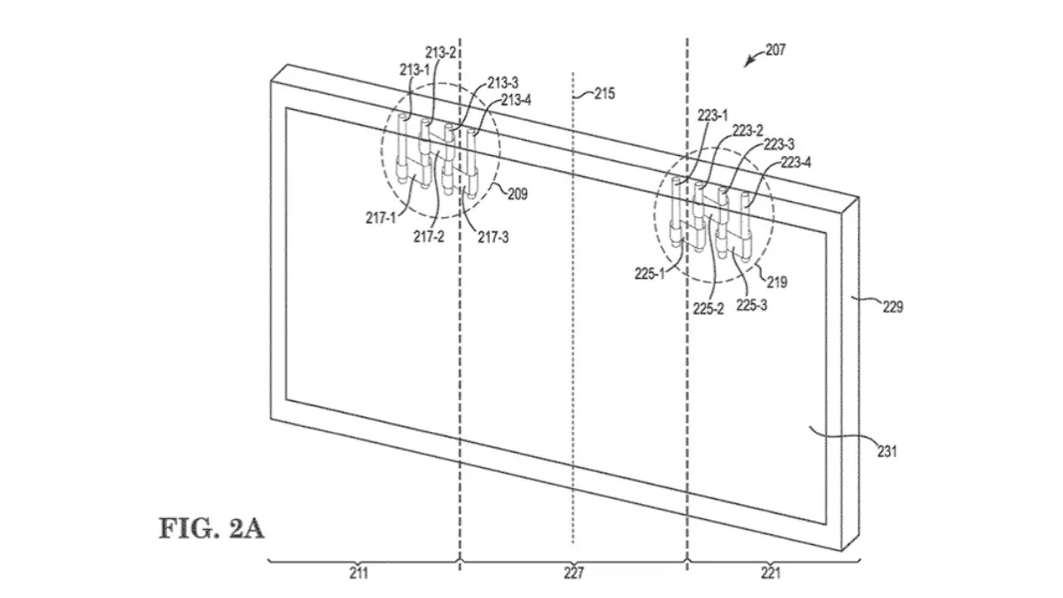
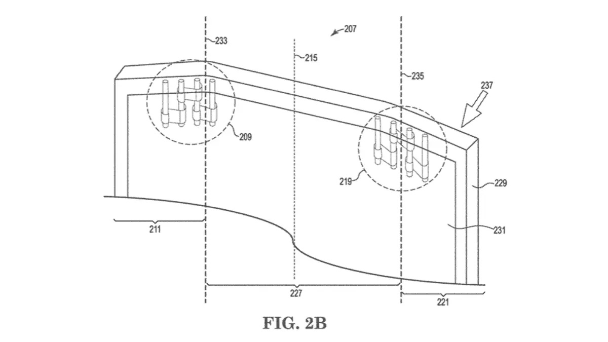
Ноутбуков со сгибаемым экраном на рынке пока немного, но производители электроники постепенно осваивают и это направление. По крайней мере, на уровне документации: новый патент HP посвящён устройству с весьма необычной конструкцией дисплея.

В опубликованном регулятором USPTO документе описана конструкция ноутбука с гибким экраном, который складывается не вдвое, как обычные раскладушки, а с двух сторон. Судя по иллюстрациям, у модели нет внешнего экрана, и пользоваться им можно только в разложенном виде — конструкция явно рассчитана только на облегчение транспортировки.

Ранее компания Razer выпустила ноутбук с похожей конструкцией, но в нём установлены три экрана, соединённые между собой петлями, а не одна гибкая матрица. Похожее устройство ранее также анонсировала компания ACEMAGIC.