Найти в Дзене
4pda.to

Samsung запатентовала технологию создания бескнопочного смартфона

Бюро по патентам и товарным знакам США опубликовало новую заявку Samsung, в которой описана технология, позволяющая заменить все физические кнопки смартфона сенсорными с тактильной обратной связью. Судя по документу, при создании такого гаджета компания может вернуться к загнутым по бокам дисплеям. Samsung в последнее время оснащает свои смартфоны плоскими матрицами, но патент описывает ёмкостные кнопки, которые скрываются под загнутыми краями экрана. За тактильную обратную связь отвечают вибромоторы, скрытые под поверхностью дисплейного модуля. Предполагается, что вибрация должна чувствоваться только в точке касания. «Благодаря удобству использования сенсорная панель всё чаще заменяет существующие физические средства ввода, такие, как клавиши. Кроме того, растёт интерес к сенсорной панели, позволяющей получать различные входные сигналы с помощью датчика силы нажатия на дисплее», — говорится в документе. Кроме того, технология предполагает использование специальных сенсоров, чувствител
   Samsung запатентовала технологию создания бескнопочного смартфона
Samsung запатентовала технологию создания бескнопочного смартфона

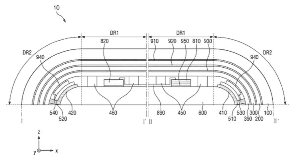
Бюро по патентам и товарным знакам США опубликовало новую заявку Samsung, в которой описана технология, позволяющая заменить все физические кнопки смартфона сенсорными с тактильной обратной связью. Судя по документу, при создании такого гаджета компания может вернуться к загнутым по бокам дисплеям.

Samsung в последнее время оснащает свои смартфоны плоскими матрицами, но патент описывает ёмкостные кнопки, которые скрываются под загнутыми краями экрана. За тактильную обратную связь отвечают вибромоторы, скрытые под поверхностью дисплейного модуля. Предполагается, что вибрация должна чувствоваться только в точке касания.

«Благодаря удобству использования сенсорная панель всё чаще заменяет существующие физические средства ввода, такие, как клавиши. Кроме того, растёт интерес к сенсорной панели, позволяющей получать различные входные сигналы с помощью датчика силы нажатия на дисплее», — говорится в документе.

Кроме того, технология предполагает использование специальных сенсоров, чувствительных к силе нажатия. С помощью подобных виртуальных кнопок можно будет менять громкость, блокировать экран и запускать приложения. Пока неизвестно, появятся ли ёмкостные кнопки в каком-либо смартфоне Samsung, или же компания просто защищает свою интеллектуальную собственность.

Узнать больше о Samsung

Samsung
151,6 тыс интересуются