Найти в Дзене

Принцип работы контактно-транзисторного регулятора напряжения

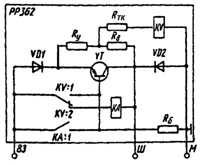
Как работает транзистор. Чтобы ток проходил через коллектор на эммитер, нужно чтобы большой ток приходил на коллетор, а на базу приходил небольшой ток. Если ток на базе будет больше чем на коллекторе, то транзистор будет закрыт. Устройство и принцип работы бесконтактно-транзисторного регулятора напряжения. Регулятор состоит из: Резисторов: ускоряющего, термокомпенсирующего, дополнительным, выравнивающим, резистор базы. Основной катушки KV с её контактами KV1, KV2. Защитная катушка KA c контактом KA1. Транзистор VT. Диоды VD1/2. 83 - идёт + с АКБ; Ш - обмотка возбуждения. Основное преимущество контактно-транзисторных регуляторов перед вибрационными - большой срок службы контактных пар. В таких регуляторах основной ток повышенной силы проходит через силовой транзистор. Управление транзистором осуществляет электромагнитное реле с двумя парами контактов KV:1 и KV:2, Реле имеет одну основную обмотку KV управления, оно включено по схеме с ускоряющим и выравнивающим резисторами. Функции выра

Как работает транзистор.

Транзистор
Транзистор

Чтобы ток проходил через коллектор на эммитер, нужно чтобы большой ток приходил на коллетор, а на базу приходил небольшой ток. Если ток на базе будет больше чем на коллекторе, то транзистор будет закрыт.

Устройство и принцип работы бесконтактно-транзисторного регулятора напряжения.

Регулятор напряжения рр362
Регулятор напряжения рр362

Регулятор состоит из:

Резисторов: ускоряющего, термокомпенсирующего, дополнительным, выравнивающим, резистор базы.

Основной катушки KV с её контактами KV1, KV2. Защитная катушка KA c контактом KA1.

Транзистор VT.

Диоды VD1/2.

83 - идёт + с АКБ; Ш - обмотка возбуждения.

Основное преимущество контактно-транзисторных регуляторов перед вибрационными - большой срок службы контактных пар.

В таких регуляторах основной ток повышенной силы проходит через силовой транзистор. Управление транзистором осуществляет электромагнитное реле с двумя парами контактов KV:1 и KV:2, Реле имеет одну основную обмотку KV управления, оно включено по схеме с ускоряющим и выравнивающим резисторами. Функции выравнивающего резистора выполняет диод VD1, который одновременно обеспечивает состояние отсечки транзистора. Необходимая степень насыщения транзистора обеспечивается подбором сопротивления резистора Rб, по которому протекает ток базы.

При включении зажигания ток идёт от + АКБ идёт через диод VD1 на эммитер транзистора, также ток идёт через Rу, Rтк, катушку KV, Rбазы на базу транзистора. Транзистор открывается, через коллектор транзистора начинает проходить напряжение на обмотку возбуждения. Когда напряжения становится выше регулируемого контакт KV1 замыкается, потенциал на базе становится больше потенциала на эммитере, транзистор закрывается. Когда транзистор закрыт ток проходит через ускоряющий, выравнивающий резисторы на обмотку возбуждения, т.к ток идёт через эти резисторы, напряжение и сила тока генератора уменьшается. Когда напряжение становится ниже регулируемого контакт KV2 вновь замыкается и сила тока и напряжение/сила тока начинают увеличиваться. Процесс повторяется.

Поскольку транзисторы чувствительны даже к кратковременным перегрузкам, в регуляторе РР362 предусмотрена защита от коротких замыканий. Функции защиты выполняет электромагнитное реле с замыкающими контактами KV:1. Реле КА, имеющее одну обмотку управления, включенную через размыкающие контакты KV:1 и диод VD2 параллельно транзистору VT, переключается в активное состояние и становится неработоспособным вследствие теплового пробоя. К основной обмотке реле КА защиты через замкнувшие контакты KV:1 подается напряжение аккумуляторной батареи. Реле защиты срабатывает, замыкая контакты КА:1, Транзистор переключается из активного состояния в состояние отсечки. Контакты реле защиты будут замкнуты до тех пор, пока не будет устранено короткое замыкание.