Добавить в корзинуПозвонить
Найти в Дзене
АвтоСлучай!

Шеститактный двигатель Porsche - инновация или хайп?

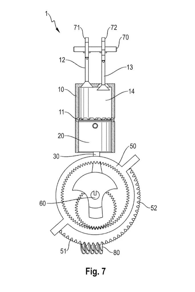
Намедни Porsche всколыхнули мир автомобилестроения подав заявку на патент конструкции нового ДВС с шестью тактами хода поршня в рабочем процессе. Это удивительно не только потому, что во время всеобщего отказа европейских автопроизводителей от ДВС Porsche работает над новым бензиновым двигателем, но и потому, что ранее такого двигателя свет не видовал. По крайней мере в серийном исполнении. Давайте посмотрим, что же такого хитрого задумали Porsche, рассмотрим запатентованную конструкцию двигателя и разберёмся, спасут ли немецкие инженеры двигатели внутреннего сгорания от окончательного заперета, или же это всего лишь хайп с целью привлечения инвестиций. Взглянув на запатентованные схемы двигателя мы увидим, что привычный нам коленчатый вал здесь встроен в систему шестерён - одна большая шестерня внутри которой располагается планетарная шестерня с эксцентриком внутри. В цетре планетарной шестерни её смещаемый элемент - эксцентрик движется по гипоциклоидальной траектории, что и указано
Оглавление

Намедни Porsche всколыхнули мир автомобилестроения подав заявку на патент конструкции нового ДВС с шестью тактами хода поршня в рабочем процессе. Это удивительно не только потому, что во время всеобщего отказа европейских автопроизводителей от ДВС Porsche работает над новым бензиновым двигателем, но и потому, что ранее такого двигателя свет не видовал. По крайней мере в серийном исполнении.

Давайте посмотрим, что же такого хитрого задумали Porsche, рассмотрим запатентованную конструкцию двигателя и разберёмся, спасут ли немецкие инженеры двигатели внутреннего сгорания от окончательного заперета, или же это всего лишь хайп с целью привлечения инвестиций.

Конструкция шеститактного двигателя Porsche

Основная схема шеститактного двигателя из патента Porsche
Основная схема шеститактного двигателя из патента Porsche

Взглянув на запатентованные схемы двигателя мы увидим, что привычный нам коленчатый вал здесь встроен в систему шестерён - одна большая шестерня внутри которой располагается планетарная шестерня с эксцентриком внутри. В цетре планетарной шестерни её смещаемый элемент - эксцентрик движется по гипоциклоидальной траектории, что и указано далее на схемах в патенте Porsche.

Движение смещённого элемента внутри планетарной шестерни по гипоциклоидальной траектории - схема из патента Porsche
Движение смещённого элемента внутри планетарной шестерни по гипоциклоидальной траектории - схема из патента Porsche

Очевидно, что экцентрик в данной схеме обозначает шатунную шейку коленчатого вала и когда она проходит по такой траектории мы получаем шесть остановок поршня с двумя верхними мёртвыми точками и двумя нижними.

Рабочий цикл шеститактного двигателя Porsche
Рабочий цикл шеститактного двигателя Porsche

Схема крепления поршня к планетарной шестерне через шатун на шеститактном моторе Porsche
Схема крепления поршня к планетарной шестерне через шатун на шеститактном моторе Porsche

Таким образом мы получаем шесть тактов в одном рабочем цикле, который составляет 1080 градусов вращения коленчатого вала: впуск, сжатие, рабочий ход (и продувка через специально отведённые порты), впуск, сжатие, выпуск. На графике Porshe показывает это так:

График рабочего цикла шеститактного двигателя Porsche
График рабочего цикла шеститактного двигателя Porsche

Отдельно стоит остановиться на портах продувки камеры сгорания от отработанных газов, через которые, очевидно, будет происходить и её наполнение кислородом. Как они будут реализованы - неизвестно. Известно лишь их расположение на схеме.

Расположение портов продувки камеры сгорания шеститактного двигателя Porsche, располагаются между первой и второй нижними мёртвыми точками
Расположение портов продувки камеры сгорания шеститактного двигателя Porsche, располагаются между первой и второй нижними мёртвыми точками

Мощность и проблемы

Теоретически, шеститактный двигатель Porsche при прочих равных мощнее четырёхтактного двигателя на 33,4%. Да, именно как трёхтактный двигатель, потому что по сути он и является трёхтактным, но работает как 3+3 в одном рабочем цикле, что наглядно видно на схемах представленных Porsche.

Такая конструкция три плюс три такта в одном рабочем ходе, по заявлениям самой Porsche преследует цель получения отличных характристик экологичности, экономичности и большого ресурса, которых не возможно получить от двигателя с рабочим циклом менее четырёх тактов.

Однако, перед инженерами стоит и ряд крупных проблем. Одна из самых очевидных - большое количество потерь на трение и паразитных потерь, которые неизбежны с введением системы шестерён. Далее стоит вопрос баланса двигателя и вибраций. Скорее всего, создать четырёхцилиндровый шеститактный двигатель не удастся, но Porsche этого и не требуется, так как они используют для своих автомобилей шестицилиндровые моторы и здесь уже гораздо сподручнее привести двигатель к балансу введя в конструкцию балансирные валы.

Следующая проблема - эконормы и запрет ДВС в Европе в 2035 году. Одна из основных задач этого двигателя - соответствие строжайшим экологическим нормам. И, скорее всего, работать он будет уже на экотопливе. Если всё действительно получится так, то автомобили с этим двигателем буду едва ли не экологичнее электромобилей, что вполне себе может дать вторую жизнь двигателям внутреннего сгорания.

Продлится ли жизнь у ДВС в Европе?

Porsche сможет дать ДВС второй шанс?
Porsche сможет дать ДВС второй шанс?

Количество угроз жизни ДВС в Европе с каждым днём всё меньше и меньше. Виной тому и сложности европейской промышленности, и не большая популярность электромобилей у населения, о чём свидетельствуют их скромные продажи. Поэтому, с очень высокой долей вероятности - план по отмене ДВС будет сам отменен. Вернее, не отменён полностью, а перенесён в "долгий ящик" на неопределённый срок. Об этом свидетельствует и то, что все мировые автоконцерны потихоньку возобновляют свою работу над новыми двигателями внутреннего сгорания (а многие её и не прекращали).

И при таком "раскладе" патент Porsche на конструкцию нового двигателя уже не выглядит чем-то безрассудным, так как борьба инженеров лучших автоконцернов мира за наилучший ДВС не окончена, а судя по всему, ещё впереди. Но сможет ли Porsche реализовать на деле столь смелое и инновационное решение или всё ограничится "бурей в стакане" автомобильного мира? Поживём - увидим!