Найти в Дзене
Эпонимы и Мы

ТРУБКА БРАНЛИ

Очень многие открытия, на основе которых созданы перспективные технологии, в своё время воспринимались как нечто ненужное, своего рода баловство взрослых мужиков, от которого нет никакого толка, кроме развлечения. Но надо отдать должное учёным - несмотря на это они всё равно продолжались "баловаться", потому что это им было интересно, а главное - они видели в этом какую-то смутную перспективу, пусть и не вполне ясную, но ощутимую. Например, в 1835 году шведский физик Петер Самуэль Мунк аф Розеншельд в статье "Опыты над способностью твердых тел проводить электричество" описал результаты своих экспериментов с порошками сульфида ртути, олова, угля и других материалов в стеклянной трубке, снабжённой проволочными металлическими выводами. При прохождении через них электрического разряда сопротивление массы значительно снижалось и сохраняло низкое значение. А после высыпания и повторного засыпания в трубку, а также при встряхивании трубки оно снова оказывалось высоким. Использовать это явле

Очень многие открытия, на основе которых созданы перспективные технологии, в своё время воспринимались как нечто ненужное, своего рода баловство взрослых мужиков, от которого нет никакого толка, кроме развлечения. Но надо отдать должное учёным - несмотря на это они всё равно продолжались "баловаться", потому что это им было интересно, а главное - они видели в этом какую-то смутную перспективу, пусть и не вполне ясную, но ощутимую.

Например, в 1835 году шведский физик Петер Самуэль Мунк аф Розеншельд в статье "Опыты над способностью твердых тел проводить электричество" описал результаты своих экспериментов с порошками сульфида ртути, олова, угля и других материалов в стеклянной трубке, снабжённой проволочными металлическими выводами. При прохождении через них электрического разряда сопротивление массы значительно снижалось и сохраняло низкое значение. А после высыпания и повторного засыпания в трубку, а также при встряхивании трубки оно снова оказывалось высоким.

Использовать это явление попытался английский инженер Сэмюэл Альфред Варли, который в 1866 году запатентовали устройство для защиты телеграфной аппаратуры, содержавшее два медных электрода, разделённых тонким слоем угольного порошка в смеси с порошком из непроводящего электричество материала. При низком напряжении устройство имело большое электрическое сопротивление, а при высоком - малое. Эта особенность позволяла защитить телеграфную аппаратуру от ударов молний в линии связи.

В дальнейшем опытами в данном направлении занимались итальянский физик Фемистокл Кальцекки-Онести, французский физик Пьер Гитар, валлийский учёный Дэвид Эдвард Хьюз и другие.

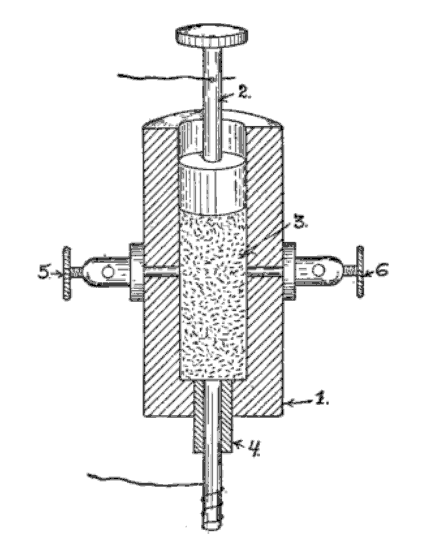
А вот кто действительно увидел перспективы данного явления и постарался как можно подробнее всё изучить и описать, так это француз Эдвард Бранли. Он взял стеклянную трубку, наполнил её металлическими опилками и принялся изучать их поведение в различны условиях. Выяснилось, что если заменить стекло на эбонит, принципиально ничего не меняется, а электропроводность опилок увеличивается в мотни раз только за счёт силы импульса. И поскольку электромагнитные волны распространяются на большие расстояния, есть возможность отслеживать их с помощью такого вот стеклянного или эбонитового "радиокондуктора", находясь на значительном удалении от источника волн.

Эбонитовая ТРУБКА БРАНЛИ.
Эбонитовая ТРУБКА БРАНЛИ.

Чуть позже английский физик и изобретатель Оливер Лодж разработал аналогичное устройство, назвав его умным словом "когерер" (лат. cohaerere - сцеплять). Он работал по тому же самому принципу, однако изделие Бранли (которое физики прозвали ТРУБКОЙ БРАНЛИ) было проще и надёжнее. Единственная проблема данных устройств состояла в том, что после улавливания импульса металлические частицы слипались и, чтобы вернуть прибор в исходное состояние, то есть сделать его способным снова что-то уловить, его требовалось встряхнуть, разрушив контакт между частицами. Для этого был придуман специальный молоточек, ударявший по трубке сразу после улавливания сигнала. Кстати, как раз это - заслуга Лоджа.

-2

1896 год считают годом рождения радио, поскольку именно тогда русский физик Александр Попов решил использовать когерер Лоджа для регистрации гроз, то есть для фиксирования ВОЛН ГЕРЦА (радиоволн). И в тот же год итальянский изобретатель Гульельмо Маркони шагнул чуть дальше, разработав и запатентовав систему беспроводной телеграфии, которая также содержала когерер, однако предполагала регистрацию не природных, а рукотворных радиоволн.

-3

К слову, само слово "радио" появилось позже, в 1873 году, благодаря английскому физику-химику Уильяму Круксу (вспомните ВЕРТУШКУ КРУКСА). А споры о приоритете изобретения самого радио не утихают до сих пор. Сам Попов до конца дней считал, что прибор Маркони основан на том же принципе, что и его "измеритель молний", хотя последний и не предполагалось использовать для связи между людьми, находящимися на значительном расстоянии. А Маркони своё устройство ровно для того и создавал.

Самое интересное, что в Германии изобретателем радио считают Герца, в Сербии - Теслу, в Белоруссии - Наркевича-Иодко.

А во франции - Бранли.

-4

Эдуард Эжен Дезире Бранли (23 октября 1844 - 24 марта 1940) - французский физик и изобретатель. Член Французской академии наук.

Родился в Амьене, Королевство Франция. Учился в Вышей нормальной школе, стал доктором философии, затем доктором медицины. Работал профессором физики и профессором медицины в Католическом университете Парижа.

Когерентный детектор, созданный на основе ТРУБКИ БРАНЛИ, стал основой для радиоприёма и широко использовался в течение примерно десяти лет, примерно до 1907 года. Но потом был заменён кристаллическими детекторами.

Бранли трижды номинировали на Нобелевскую премию, но всё безрезультатно. Зато в 1911 году ему удалось обойти Марию Кюри на выборах во Французскую академию наук. Мелочь, а приятно.

Говорят, во время первой радиосвязи через Ла-Манш, первое радиосообщение было таким: «Мистер Маркони передаёт мистеру Бранли привет через Ла-Манш по беспроводному телеграфу. Это замечательное достижение отчасти является результатом выдающейся работы мистера Бранли».

Вы можете поддержать канал, перечислив любую доступную вам сумму на кошелёк ЮMoney 4100 1102 6253 35 (или на карту Райффайзенбанка 2200 3005 3005 2776). И поучаствовать в создании книги по материалам этих статей. Заранее всем спасибо!