Найти в Дзене

Как сделать сервировочный столик для дачи

Как сделать сервировочный столик для дачи
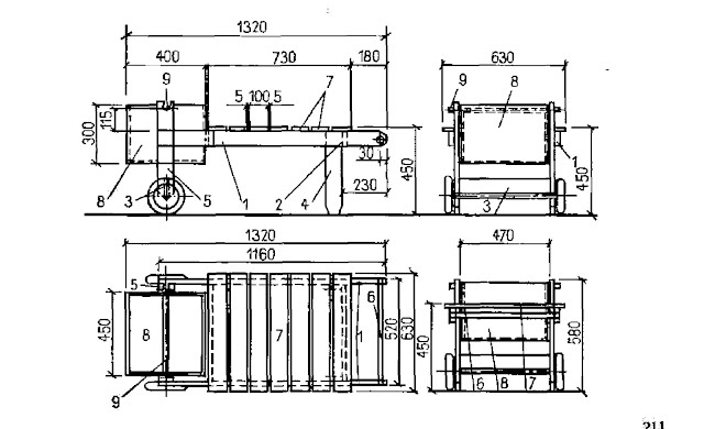
Рекомендуем рациональную дачную мебель — столик и одновременно место для сервировки. Конструкция столика, использованный материал и инструмент самые простые (рис. 111-19-51). Как сушилка дачник 4 сушить ягоды шиповника Прежде всего необходимо приобрести колеса. Можно использовать колеса от детской коляски; по возможности их диаметр должен быть меньше 25 см; колеса должны иметь широкий обод, особенно если столиком будут пользоваться на открытом воздухе. Для колес необходимо подобрать соответствующую ось (или части оси), которую придется приспособить для данной цели (рис. 111-19-52). После того как проблема с колесами будет решена, можно определить длину держателя колес 5. Затем в соответствии с рис. Ш-19-53 (А) необходимо вырезать все части столика и обработать их шкур­кой. Одновременно рубанком скругляются грани. Рама собирается в соответствии с чертежом на рис. 111-19-53б из боковин 1, соединительных планок 2, несущих элементов оси 3, ножек 4

Как сделать сервировочный столик для дачи

Рекомендуем рациональную дачную мебель — столик и одновременно место для сервировки. Конструкция столика, использованный материал и инструмент самые простые (рис. 111-19-51).

Как сушилка дачник 4 сушить ягоды шиповника

Прежде всего необходимо приобрести колеса. Можно использовать колеса от детской коляски; по возможности их диаметр должен быть меньше 25 см; колеса должны иметь широкий обод, особенно если столиком будут пользоваться на открытом воздухе. Для колес необходимо подобрать соответствующую ось (или части оси), которую придется приспособить для данной цели (рис. 111-19-52).

Как сделать сервировочный столик для дачи
Как сделать сервировочный столик для дачи

После того как проблема с колесами будет решена, можно определить длину держателя колес 5. Затем в соответствии с рис. Ш-19-53 (А) необходимо вырезать все части столика и обработать их шкур­кой. Одновременно рубанком скругляются грани.

Как сделать сервировочный столик для дачи
Как сделать сервировочный столик для дачи

Рама собирается в соответствии с чертежом на рис. 111-19-53б из боковин 1, соединительных планок 2, несущих элементов оси 3, ножек 4, держателя колес 5 и ручки 6. Эти детали соединяются встык при посадке на клей и дополнительно свинчиваются. Пазы в держателях колес 5 должны быть выполнены очень точно, чтобы несущий элемент оси 3 после посадки на клей и свинчивания держался прочно. То же самое относится к верхним пазам в защитном кожухе подвесной оси 9. Если для изготовления подвесной оси 9 используется деревянный стержень диаметром 22 — 25 мм, необходимо сделать в кожухе паз шириной приблизительно 28 мм, чтобы ось могла легко перемещаться.

После того как клей высохнет, можно после повторной обработки шкуркой привинтить доски 7, образующие столик. На рис. 111-19-52 показан столик, сделанный из семи досок. Если требуется увеличить поверхность столика или откидной доски, можно, не изменяя конструкции, привинтить дополнительно восьмую доску. Если стол будет покрываться лаком, необходимо кроме тщательной обработки позаботиться еще и о том, чтобы все головки болтов были как следует утоплены. Если столиком пользоваться на открытом воздухе, лучше купить болты из нержавеющей стали.

Часть столика, предназначенная для сервировки 8, решенная в виде ящика, может быть сделана из клееной фанеры, из древесностужечной или тому подобной плиты толщиной 15 мм (рис. 111-19-53). Такая толщина делает возможным соединение встык с предварительным промазыванием клеем места соединения и последующим свинчиванием. Видимые грани можно обшить планками из твердой древесины или облицевать пластмассовыми профилями.

Подвесную ось 9 необходимо прочно приклеить к «ящику». Она выполняет функцию не только держателя, но и несущей ручки. Можно использовать и соответствующий ящик из пластмассы или короб, сделанный из проволочной сетки.

После монтажа всех деревянных деталей их поверхность зачищается, утопленные на большую глубину болты сажаются на клей (до покрытия лаком), и поверхность выравнивается. Если столик предназначен для использования большей частью на открытом воздухе, следует позаботиться о надлежащей защите его поверхности. Столик следует покрасить масляной краской, причем необходимо выдержать время, нужное для ее высыхания, после чего столик дополнительно покрывают двумя слоями лака. Если мы хотим сохранить природный цвет древесины, то соответствующего от­тенка можно достичь, протравив ее морил­кой. После этого древесину следует про­тереть льняным маслом, а после того как масло впитается, покрасить еще двумя-тремя слоями бесцветного лака.

Как сделать сервировочный столик для дачи
Как сделать сервировочный столик для дачи

Монтаж оси и колес зависит от конструкции «тележки», имеющейся в нашем распоряжении. Ось привинчивается обычным способом к нижней стороне несущей планки держателя 5. То же самое необходимо проделать и с подвижной осью, которая не вращается вместе с колесами. Подвижная вращающаяся ось закрепляется шплинтом.

Как быстро собирать ягоду облепиху

Как сделать облепиховое масло в домашних условиях