Найти в Дзене
ТехноVogue

ДОРОГА К ПАТРОНУ БУДУЩЕГО: ФРАНЦУЗСКИЙ ТУПИК. ЧАСТЬ 1

Французы совершили революцию в 1886 году, приняв на вооружение винтовку Лебель с патроном современного типа. Эта винтовка была скорострельной и надежной благодаря магазинной системе заряжания и патрону 8×50 мм R Лебель. Стрелок быстро перезаряжал оружие – ему не нужно было вручную закладывать каждый патрон в винтовку. А патрон 8×50 мм R Лебель обеспечивал большую скорость пули. Бездымный порох позволял вести скрытную стрельбу. Это стало образцом для подражания на долгие-долгие десятилетия. Об историях успеха вооружений мы наслышаны, но не менее важны и истории неудач. Именно так мы можем проследить полную историю трансформации различного вооружения. В данной статье рассмотрим неудачи французских военных. Начиная с 1886 года, параллельно с разработкой «временного» патрона 8 мм Mle 1886D, большое внимание уделялось улучшению абсолютно нового патрона 6 мм APX 1893 (6 x 62 мм R). Между 1895 и 1900 годами «Школа стрельбы Шалон» (E.N.T.) провела систематические исследования формы пули (16 ра

Французы совершили революцию в 1886 году, приняв на вооружение винтовку Лебель с патроном современного типа. Эта винтовка была скорострельной и надежной благодаря магазинной системе заряжания и патрону 8×50 мм R Лебель. Стрелок быстро перезаряжал оружие – ему не нужно было вручную закладывать каждый патрон в винтовку. А патрон 8×50 мм R Лебель обеспечивал большую скорость пули. Бездымный порох позволял вести скрытную стрельбу.

Это стало образцом для подражания на долгие-долгие десятилетия.

Об историях успеха вооружений мы наслышаны, но не менее важны и истории неудач. Именно так мы можем проследить полную историю трансформации различного вооружения. В данной статье рассмотрим неудачи французских военных.

Первый французский тупик, программа 6 мм

Начиная с 1886 года, параллельно с разработкой «временного» патрона 8 мм Mle 1886D, большое внимание уделялось улучшению абсолютно нового патрона 6 мм APX 1893 (6 x 62 мм R).

Между 1895 и 1900 годами «Школа стрельбы Шалон» (E.N.T.) провела систематические исследования формы пули (16 различных пуль калибра 6 мм длиной от 22 до 36 мм и весом от 4,5 до 7,2 г) со следующими результатами:

- длина цилиндрической части пули могла быть уменьшена менее чем до 2 мм, но за счет увеличения вертикального рассеивания (хотя это и не измерялось, вероятно, это связано с большим разбросом начальной скорости);

- пули с длинной оживальной частью (3,5 калибра) и радиусом тангенциального типа кривизны поверхности носика пули 14+ калибров требовали "короткой" цилиндрической части из-за высокого уровня контакта между носом и стволом;

- для данного веса пуля с наибольшей длиной оживальной части (3,5 калибра) дает лучшую траекторию, но пули с оживальной частью («носом») длиной 3 калибра были не намного хуже;

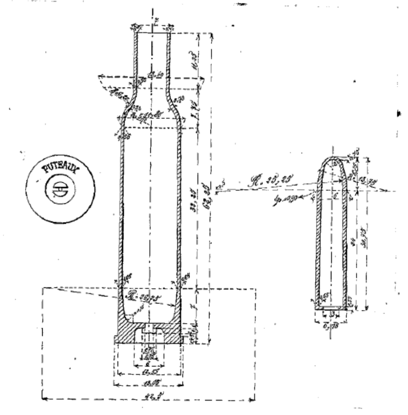
Патрон 6х62R
Патрон 6х62R

Наконец, после нескольких усовершенствований, появились два почти эквивалентных дизайна: E.N.T. "balle n ° 29" (34,4 мм длиной, 6,8 г с длиной оживальной части 3 калибра) и E.N.T. "balle n ° 30" (34,4 мм длиной, 6,6 г с длиной оживальной части 3,5 калибра), с диаметром пули 6,24 мм в обоих случаях.

Сравнительные испытания этих двух пуль с порохом BN3F показали, что максимальный пороховой заряд составляет 2,90 г для пули "n ° 29" (начальная скорость около 851 м/с) против 2,95 г для пули "n ° 30" (начальная скорость около 876 м/с), что давало последней небольшое преимущество в траектории.

По современным стандартам заряд пороха 45 гран в гильзе емкостью 64 грана (58 гран чистой емкости, плотность заряда 0,77) указывает на то, что использованный порох, вероятно был плохим.

Основываясь на результатах многочисленных испытаний, обе пули показали впечатляющий баллистический коэффициент (G7), равный ~0,29 в сверхзвуковой области (i7 от 0,81 до 0,84) и ~0,25 в околозвуковой и дозвуковой областях (i7 от 0,97 до 1,0).

Результаты попаданий по различным мишеням (стальные листы, кадавры, живые лошади) также были превосходными, и в 1900 году было предложено принять на вооружение 6 мм патрон.

Сравнение между патроном 6 x 62 мм APX и недолго состоявшим на вооружении патроном 6 мм Lee-Navy сложно избежать.

6 мм Lee-Navy
6 мм Lee-Navy

Развитие обоих патронов происходило в одно и то же время, под влиянием одних и тех же потребностей (увеличение практической дальности стрелкового оружия и снижение веса патрона для увеличения огневой мощи при данном весе нагрузки) и французская армия была хорошо осведомлена о существовании патрона Lee-Navy.

В своей первоначальной форме патрон APX значительно отставал от патрона Lee-Navy, используя гораздо бОльшую гильзу при меньшей начальной скорости (752 м/с для французского 8,5-граммового пули RN по сравнению с 777 м/с для американской 8,7-граммовой пули RN), но в конце XIX века улучшенные пороха (2,95 г BN3F вместо 2,65 г BF) и улучшенные пули (6,60-граммовая остроконечная пуля с хвостовым конусом вместо 8,50-граммовых пуль с полусферической головной частью и плоским основанием) позволили "магнумизированному" APX превзойти патрон Lee-Navy.

пуля n ° 29,5
пуля n ° 29,5

Нет никаких сомнений в том, что 6-миллиметровая цельномедная пуля с очень низким сопротивлением длиной 34 мм, запущенная со скоростью 880 м/с, обеспечила бы эффективность, необходимую военному патрону, но в начале XX века французская армия начала задумываться о самозарядных винтовках и вместо патрона с закраиной потребовался патрон без закраины с еще лучшими внешнебаллистическими характеристиками.

К сожалению, когда начальная скорость была увеличена с 880 м/с до более чем 920 м/с (и частотой вращения пули 368 000 об/мин), возникла серьезная проблема с загрязнением ствола свинцовой оболочкой пули, а также деформацией пули в стволе.

Чтобы решить эти проблемы, была изменена конструкция пули на полуоболочечную со стальным сердечником. Новый "дизайн" так же разработали в E.N.T. и назвали “bimétal” - биметаллическая. Кроме того, для уменьшения загрязнения нарезов свинцом была введена большая канавка.

Несмотря на хорошие показатели пули "n ° 30" (длина оживала 3,5 калибра), бОльшая площадь соприкосновения пули и ствола оставалась проблемой. Поэтому E.N.T. вернулась к пуле "n ° 29" с более практичной длиной оживальной части в 3 калибра. Пуля с глубокой канавкой поддерживалась в канале ствола основаниями оживальной части и хвостового конуса.

Эта пуля называлась "пуля n ° 29,5" и ее вес был уменьшен до 6,4 г.

К сожалению, производство этой пули крупномасштабными промышленными методами того времени было очень сложным, а пороха, доступные в то время, создавали слишком большое давление и разброс начальной скорости. Эта проблема будет преследовать все французские усилия по разработке высокоскоростного патрона с хорошей настильностью. В попытках справиться с этим из Португалии был тайно доставлен порох немецкого производства Rottweil, который был проанализирован и загружен в высокоскоростные патроны французского производства с хорошими результатами, но французским химикам не удалось скопировать эти пороха до окончания Первой мировой войны.

Таким образом, калибр 6 мм был отвергнут в пользу калибров 6,5 мм и 7 мм для программы винтовок 1910 года, основанной на требовании дальности стрельбы 800 м по мишеням высотой 1,6 м.

Тенденция к использованию сверхскоростных военных патронов для винтовок охватила все армии мира. Последовали ей и французы.

Второй тупик был не за горами. Продолжение следует...

Всё самое интересное только на ТехноVOGUE!