Добавить в корзинуПозвонить
Найти в Дзене
Apple SPb Event

Дисплей из гибкого стекла может заменить клавиатуру в MacBook Pro

Компания Apple продолжает удивлять технологическое сообщество своими инновационными идеями. Недавно опубликованный патент раскрывает концепцию полностью сенсорной клавиатуры для ноутбуков MacBook Pro, которая может радикально изменить способ взаимодействия пользователей с устройством. Согласно патентной документации, новая клавиатура будет представлять собой единую сенсорную поверхность, охватывающую всю верхнюю часть корпуса ноутбука. Это означает, что традиционный трекпад может исчезнуть, уступив место универсальной сенсорной области, способной распознавать различные виды ввода: от обычных кликов до сложных мультитач-жестов. «[По сути] вся верхняя часть корпуса, от края до края, может определять сенсорную поверхность», — говорится в тексте патента. Это позволит обнаруживать «сенсорные или трекпадные входные данные, такие как клики, касания, жесты (например, смахивание, сжатие) и мультитач-ввод... на любой части корпуса». Интересно, что патент предусматривает возможность создания такт

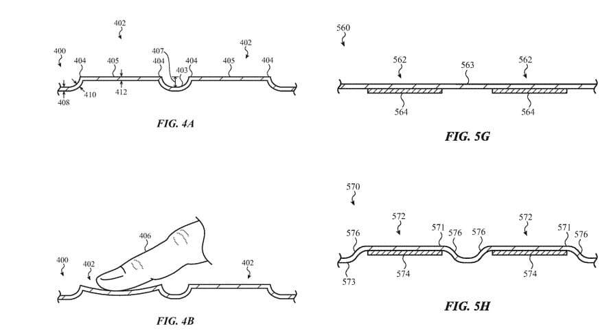
Компания Apple продолжает удивлять технологическое сообщество своими инновационными идеями. Недавно опубликованный патент раскрывает концепцию полностью сенсорной клавиатуры для ноутбуков MacBook Pro, которая может радикально изменить способ взаимодействия пользователей с устройством.

Согласно патентной документации, новая клавиатура будет представлять собой единую сенсорную поверхность, охватывающую всю верхнюю часть корпуса ноутбука. Это означает, что традиционный трекпад может исчезнуть, уступив место универсальной сенсорной области, способной распознавать различные виды ввода: от обычных кликов до сложных мультитач-жестов.

«[По сути] вся верхняя часть корпуса, от края до края, может определять сенсорную поверхность», — говорится в тексте патента. Это позволит обнаруживать «сенсорные или трекпадные входные данные, такие как клики, касания, жесты (например, смахивание, сжатие) и мультитач-ввод... на любой части корпуса».

Интересно, что патент предусматривает возможность создания тактильной обратной связи, имитирующей ощущение физических клавиш. Это может решить проблему, с которой сталкиваются многие пользователи при работе с сенсорными клавиатурами — отсутствие привычных тактильных ощущений при наборе текста.

-2

Помимо улучшения пользовательского опыта, новая технология может иметь и другие преимущества. Отказ от механических элементов потенциально снизит риск поломок, связанных с попаданием грязи и пыли под клавиши. Кроме того, более тонкая конструкция клавиатуры может позволить увеличить ёмкость батареи или сделать ноутбук ещё тоньше.

Стоит отметить, что это не первая попытка Apple переосмыслить концепцию клавиатуры. Ранее компания уже подавала заявки на патенты, связанные с «бесклавишной клавиатурой» и использованием OLED-дисплеев в качестве интерактивной поверхности ввода.

Однако, как подчёркивают эксперты, публикация патента не гарантирует, что описанная технология когда-либо будет реализована в коммерческих продуктах. Тем не менее, она даёт представление о направлении, в котором движется мысль инженеров Apple, и потенциальном будущем портативных компьютеров.

Среди изобретателей, указанных в патенте, значится Пол Х. Ванг, известный своими многочисленными инновационными разработками для Apple. Его участие в проекте подчёркивает серьёзность намерений компании в отношении развития этой технологии.

Если идея сенсорной клавиатуры воплотится в жизнь, это может стать одним из самых значительных изменений в дизайне ноутбуков за последние годы. Остаётся только ждать, когда и в каком виде может появится эта инновация в реальных устройствах Apple.​​​​​​​​​​​​​​​​

Ещё по теме: