Добавить в корзинуПозвонить
Найти в Дзене

Коллектор распределительный с регулирующими клапанами под плоское уплотнение Aquasfera: Обзор и преимущества

Современные системы отопления и водоснабжения требуют надежных и эффективных решений для распределения потоков теплоносителя и воды. Одним из таких решений является распределительный коллектор с регулирующими клапанами. В данной статье мы подробно рассмотрим этот продукт, его особенности, преимущества и области применения. Коллектор распределительный представляет собой устройство, предназначенное для распределения потоков теплоносителя в системах отопления или воды в системах водоснабжения. Он позволяет подключать несколько контуров к одной магистрали, что обеспечивает более равномерное распределение тепла или воды в системе. Модель 9039 от Aquasfera оснащена регулирующими клапанами, которые позволяют точно настраивать параметры каждого подключенного контура. Это особенно важно для систем с различными требованиями к подаче теплоносителя или воды, так как позволяет индивидуально настроить каждый контур для достижения оптимальной работы всей системы. Важно помнить, что данный коллектор
Оглавление

Современные системы отопления и водоснабжения требуют надежных и эффективных решений для распределения потоков теплоносителя и воды. Одним из таких решений является распределительный коллектор с регулирующими клапанами. В данной статье мы подробно рассмотрим этот продукт, его особенности, преимущества и области применения.

Коллектор распределительный латунный с регулирующими клапанами под плоское уплотнение Aquasfera 9039-02
Коллектор распределительный латунный с регулирующими клапанами под плоское уплотнение Aquasfera 9039-02

Что такое коллектор распределительный?

Коллектор распределительный представляет собой устройство, предназначенное для распределения потоков теплоносителя в системах отопления или воды в системах водоснабжения. Он позволяет подключать несколько контуров к одной магистрали, что обеспечивает более равномерное распределение тепла или воды в системе.

Модель 9039 от Aquasfera оснащена регулирующими клапанами, которые позволяют точно настраивать параметры каждого подключенного контура. Это особенно важно для систем с различными требованиями к подаче теплоносителя или воды, так как позволяет индивидуально настроить каждый контур для достижения оптимальной работы всей системы.

Важно помнить, что данный коллектор не предназначен для регулирования расхода подаваемой воды в точки водоразбора.

Особенности коллектора 9039 Aquasfera

  1. Регулирующие клапаны: Каждый контур коллектора оснащен клапаном, позволяющим точно регулировать поток теплоносителя или воды. Это обеспечивает точный контроль температуры и давления в каждом контуре, что особенно важно для многоконтурных систем отопления или водоснабжения.
  2. Плоское уплотнение: Использование плоского уплотнения обеспечивает надежное и герметичное соединение. Это снижает риск протечек и обеспечивает долгий срок службы системы.
  3. Высокое качество материалов: Коллектор выполнен из высококачественных материалов, устойчивых к коррозии и перепадам температур. Это гарантирует долговечность и надежность изделия.
  4. Удобство монтажа: Конструкция коллектора продумана таким образом, чтобы обеспечить легкость монтажа и дальнейшего обслуживания. Подключение контуров осуществляется быстро и просто, что экономит время и силы при установке.
  5. Универсальность: Коллектор подходит для использования в различных системах — как в традиционных водяных системах отопления, так и в системах теплого пола.

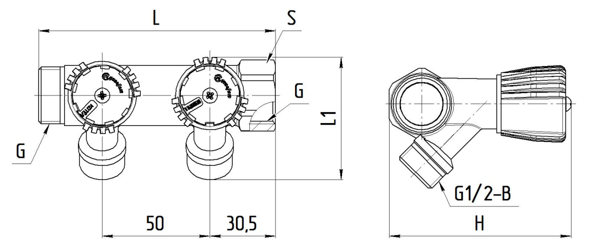
Схематичное изображение коллектора 9039 Aquasfera с плоским уплотнением
Схематичное изображение коллектора 9039 Aquasfera с плоским уплотнением

Преимущества использования коллектора 9039 Aquasfera

  1. Экономия ресурсов: Благодаря возможности точной настройки каждого контура можно существенно сократить затраты на отопление и водоснабжение, так как система будет работать более эффективно.
  2. Повышение комфорта: Равномерное распределение тепла и воды обеспечивает более комфортные условия в помещении. Исключаются "холодные зоны" и перегрев в отдельных местах.
  3. Безопасность: Плоское уплотнение и качественные материалы гарантируют отсутствие протечек и долгий срок службы оборудования, что повышает общую безопасность системы.
  4. Удобство эксплуатации: Регулирующие клапаны позволяют легко управлять системой, что облегчает эксплуатацию и обслуживание.

Где заказать коллектор?

Коллектор 3/4" на 2 выхода 1/2": https://ozon.ru/product/1575031558

Коллектор 3/4" на 3 выхода 1/2": https://ozon.ru/product/1575032003

Коллектор 3/4" на 4 выхода 1/2": https://ozon.ru/product/1575031566

Коллектор 1" на 2 выхода 1/2": https://ozon.ru/product/1575031896

Коллектор 1" на 3 выхода 1/2": https://ozon.ru/product/1575032077

Коллектор 1" на 3 выхода 1/2": https://ozon.ru/product/1575032014

Если нужно воспользоваться другим способом оформления заказа или необходима помощь специалиста, вы можете обратиться на почту aquasokol@inbox.ru

Telegram: @aquasokol_santech

VK: vk.com/aquasokol_santech

Заключение

Коллектор распределительный с регулирующими клапанами под плоское уплотнение 9039 Aquasfera — это надежное и эффективное решение для современных систем отопления и водоснабжения. Его использование позволяет обеспечить равномерное распределение теплоносителя или воды, снизить затраты на эксплуатацию и повысить комфорт в помещении. Благодаря высокому качеству материалов и продуманной конструкции, данный коллектор станет отличным выбором как для профессиональных монтажников, так и для частных пользователей, стремящихся повысить эффективность своей системы отопления или водоснабжения.

Выбирая коллектор 9039 Aquasfera, вы выбираете качество, надежность и удобство в эксплуатации. Используйте только проверенное оборудование и наслаждайтесь комфортом в вашем доме!