Добавить в корзинуПозвонить
Найти в Дзене

Верхнее строение пути - рельсы

Верхнее строение пути служит для направления движения подвижного состава, восприятия силовых воздействий от его колес и передачи их на нижнее строение. Верхнее строение пути представляет собой комплексную конструкцию, включающую рельсы, подрельсовое основание со скреплениями, балластный слой и стрелочные переводы. Тип верхнего строения пути зависит от класса путей, который устанавливается в соответствии с классификацией железнодорожных линий, определяемой на основе двух основных критериев — грузонапряженности и диапазона допустимых скоростей движения пассажирских и грузовых поездов. Назначение, классификация и геометрические параметры рельсов Видео лекция - Рельсы Рельсы предназначены: - непосредственно воспринимать динамическую нагрузку от колёс подвижного состава и равномерно передавать её на подрельсовое основание; - направлять колёса подвижного состава; - на участках с автоблокировкой служить проводником сигнального тока, а при электротяге – обратного тягового тока Рельс предс
Оглавление

Верхнее строение пути служит для направления движения подвижного состава, восприятия силовых воздействий от его колес и передачи их на нижнее строение.

Верхнее строение пути представляет собой комплексную конструкцию, включающую рельсы, подрельсовое основание со скреплениями, балластный слой и стрелочные переводы.

Тип верхнего строения пути зависит от класса путей, который устанавливается в соответствии с классификацией железнодорожных линий, определяемой на основе двух основных критериев — грузонапряженности и диапазона допустимых скоростей движения пассажирских и грузовых поездов.

Назначение, классификация и геометрические параметры рельсов

Видео лекция - Рельсы

Рельсы предназначены:

- непосредственно воспринимать динамическую нагрузку от колёс подвижного состава и равномерно передавать её на подрельсовое основание;

- направлять колёса подвижного состава;

- на участках с автоблокировкой служить проводником сигнального тока, а при электротяге – обратного тягового тока

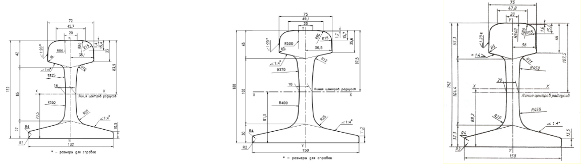
Рельс представляет собой стальную балку в виде двутавра, верхней части которой придана форма головки.

Рельсы Р-50; Р-65; Р-75
Рельсы Р-50; Р-65; Р-75

К рельсам предъявляются следующие требования:

- должны быть гладкими, чтобы сопротивление движению поезда было минимальным и в то же время они должны быть шероховатыми, чтобы поезд мог тронуться с места или повысить силу тяги;

- твёрдыми (износостойкими), чтобы сопротивляться износу и в то же время достаточно вязкими (нехрупкими), так как они воспринимают ударно-динамическую нагрузку;

- жесткими, чтобы сопротивляться изгибу под колесами и в то же время упругими, чтобы динамическое воздействие на нижележащие элементы было минимальным;

- долговечными;

- технологичными;

- иметь большой срок службы.

-3
-4

Для стыкования рельсов разных типов, например с Р-50 на Р-65, существуют переходные рельсы.

Переходной рельс Р50-Р65
Переходной рельс Р50-Р65

Видео - Переходной рельс Р65-Р75

Длина рельсов

Рельсы изготовляют длиной от 12,50 до 100,00 м и более с соблюдением кратности в 12,50 м в длинах до 100 м (12,50, 25,00, 50,00, 75,00, 100,00 м).

Допускается изготовление рельсов длиной более 100 метров (120, 125, 150 м).

Рельсы без болтовых отверстий изготовляют длиной:

- от 12,50 до 25,00 м с предельными отклонениями от номинальной длины ±20 мм;

- свыше 25,00 м с предельными отклонениями от номинальной длины ±30 мм.

Рельсы с болтовыми отверстиями изготовляют длиной 25,00; 24,92; 24,84; 12,52; 12,50; 12,46; 12,42; 12,38 м с предельными отклонениями от номинальной длины ±4 мм.

Длина рельсов указана при температуре 15°C. Результаты измерений, проведенных при других температурах, следует скорректировать с учетом температурного линейного расширения рельсов, м

-6

Маркировка

-7

На средней части шейки с одной стороны каждого рельса в горячем состоянии выкатывают выпуклую маркировку, содержащую:

- две параллельные горизонтальные выпуклые линии, обозначающие дифференцированное термоупрочнение рельса с прокатного нагрева;

- обозначение предприятия-изготовителя;

- месяц (римскими цифрами) и последние две цифры года изготовления (арабскими цифрами) данного рельса;

- тип рельса ("Р50", или "Р65", или "Р75");

- обозначение "ИК" - для рельсов категории ДТ370ИК и "400ИК" - для рельсов категории ДТ400ИК;

- обозначение направления прокатки стрелкой (острие стрелки указывает на передний конец рельса по ходу прокатки).

Допускается вместо выпуклой маркировки применять иные способы нанесения и/или виды маркировки, обеспечивающие отсутствие концентраторов напряжений, полноту содержания данных о рельсе не ниже информативности выпуклой маркировки, идентификацию рельса в период после изготовления и до утилизации.

Маркировка, наносимая клеймовочной машиной

-8

На средней части шейки каждого рельса со стороны, противоположной выпуклой маркировке, в зоне отсутствия контакта с правильными роликами роликоправильной машины горячим клеймением наносят:

- номер плавки (арабскими цифрами по внутренним учетным документам изготовителя);

- расположение каждого участка рельса длиной, кратной 12,5 или 25 м, в раскате латинскими буквами (A, B, ... Y);

- номер ручья машины непрерывной разливки стали в заготовки [один знак арабскими цифрами (1, 2, 3, и т.д.)];

- номер заготовки в ручье машины непрерывной разливки [арабскими цифрами, двумя знаками (01, 02, 03, и т.д.)].

Маркировку наносят на расстоянии более 1,0 м от торца рельса с периодичностью не более 12,5 м, по длине рельсов (для рельсов длиной до 12,52 м - не менее чем в одном месте). Расстояние между знаками, исключая пробел, допускается от 20 до 40 мм.

Маркировочные знаки должны иметь высоту от 14 до 16 мм, глубину от 0,4 до 1,5 мм, угол наклона от 8° до 12° к вертикальной оси рельса. Знаки должны быть четкими, без острых очертаний контуров и вершин.

Маркировочные знаки, нанесенные горячим клеймением, не допускается наносить и исправлять клеймением в холодном состоянии.