Найти в Дзене
Радиолюбитель - это просто!

Методика настройки транчформаторного УНЧ

Точнее было бы сказать "правильная методика настройки работы отрицательной и положительной обратных связей в УНЧ с разделительным и выходным трансформаторами", но это было бы слишком длинным названием. Такие УНЧ активно применялись в переносных транзисторных аппаратах в прошлом веке. Это всевозможные радиоприемники, к примеру Селги, Альпинисты, Нейвы, ВЭФы и т.д. Схемы УНЧ там кстати практически одинаковы. Сама настройка такого УНЧ ничего сложного не представляет и чаще всего в оригинальной схеме есть таблица или сноски прямо на схеме c напряжениями режимов по постоянному току транзисторов. Настраивается такой УНЧ от малого к большему, т.е. от предварительного каскада к выходному. Но есть у таких УНЧ одна "болезнь", такие усилители склонны к возбуждению на низких и средних частотах. "Болезнь" эта может проявляться в новых аппаратах (это нам уже не грозит), но чаще в аппаратах с определенным сроком эксплуатации. Чаще всего первопричиной считается выход из строя (высыхание) электролит

Точнее было бы сказать "правильная методика настройки работы отрицательной и положительной обратных связей в УНЧ с разделительным и выходным трансформаторами", но это было бы слишком длинным названием.

Такие УНЧ активно применялись в переносных транзисторных аппаратах в прошлом веке. Это всевозможные радиоприемники, к примеру Селги, Альпинисты, Нейвы, ВЭФы и т.д. Схемы УНЧ там кстати практически одинаковы.

Сама настройка такого УНЧ ничего сложного не представляет и чаще всего в оригинальной схеме есть таблица или сноски прямо на схеме c напряжениями режимов по постоянному току транзисторов. Настраивается такой УНЧ от малого к большему, т.е. от предварительного каскада к выходному. Но есть у таких УНЧ одна "болезнь", такие усилители склонны к возбуждению на низких и средних частотах. "Болезнь" эта может проявляться в новых аппаратах (это нам уже не грозит), но чаще в аппаратах с определенным сроком эксплуатации. Чаще всего первопричиной считается выход из строя (высыхание) электролитических конденсаторов, но к сожалению не всегда это так и не всегда это помогает. Причина кроется в самой схемотехнике этого усилителя.

Для начала рассмотрим как это лечится, а потом кому интересно, может дочитать до конца и немного узнать о схеме.

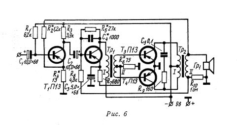
Примером будет служить древняя схема из журнала Радио.

Этот усилитель охвачен одновременно и отрицательной и положительной обратной связью. И именно эти обратные связи нужно настраивать для подавления возбуждения, впрочем они в этом и виноваты.

Положительная обратная связь подается через резистор R6. Кстати в схеме два резистора R6, второй со звездочкой назовем R6 подстроечный.

-2

Отрицательная обратная связь работает через резистор R2.

-3

Методика настройки следующая:

  • настраиваются режимы транзисторов по постоянному току (по схеме или таблице)
  • на вход усилителя подается сигнал с частотой 500-800 Гц.
  • отключают ООС отсоединив резистор R2
  • с помощью резистора R6-подстроечного настраивают УНЧ в режим на грани возникновения самовозбуждения, т.е. усилитель только только "запищал". Если самовозбуждения не возникает вообще, то меняют местами концы обмотки I трансформатора Тр1 (с заводскими устройствами такого чаще всего не бывает)
  • восстанавливают отрицательную обратную связь, резистора R2 - самовозбуждение должно пропасть, если этого не произошло - подбирают резистор R2.
  • проверяют работу УНЧ во всем спектре рабочих частот.

Такие УНЧ использовались почти во всех носимых радиоприемниках.

Альпинист-405

Альпинист-405
Альпинист-405

Селга-405

Селга-405
Селга-405

ВЭФ-202

ВЭФ-202
ВЭФ-202

И несколько слов о самом УНЧ. Можно встретить трансформаторные УНЧ и без обратных связей, но схема без ООС и ПОС очень требовательна к подбору транзисторов и имеет более низкое входное сопротивление, что добавляет проблем с согласованием с источником сигнала, но такая схема имеет большее усиление. Кроме того обратные связи добавляют термостабильности схеме. Так на схеме от приемника Селга-405 на месте R6-подстроечного стоит два резистора в параллель и один из них терморезистор.

Селга-405
Селга-405

И самый главный плюс такой схемы, это возможность использовать транзисторы с малым и очень малым коэффициентом усиления, что было очень не маловажно во времена их изобретения и использования.

В заключении нужно сказать, что все эти УНЧ очень чувствительны к питанию, при снижении питания ниже нормы возбуждения возникает уже в не зависимости от правильной настройки усилителя.