Добавить в корзинуПозвонить
Найти в Дзене
OVERCLOCKERS.RU

AMD работает над уникальным дизайном GPU "Multi-Chiplet"

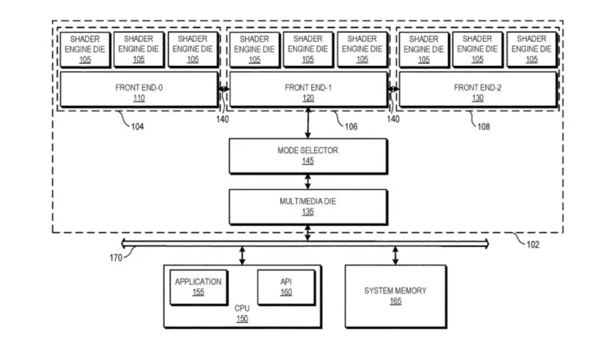
Концепция MCM (Multi-Chiplet Module) становится все более модной, особенно в связи с ограничениями монолитных конструкций, то есть конструкций, в которых каждая деталь собрана на одном чипе. AMD уже некоторое время использует этот дизайн в центрах обработки данных и продуктах потребительского класса. Однако обнаруженный патент указывает на то, что в этом подходе грядут значительные изменения. В этом патенте описывается многочиповый графический процессор с тремя отдельными схемами, которые различаются тем, как распределяются и управляются ресурсы. Это может как повысить производительность, так и снизить производственные затраты. В патенте AMD говорит о GPU, разделенном на несколько чипов, которые она называет GPU-чиплетами. Эти чиплеты или матрицы могут работать либо как один GPU, либо как несколько GPU в режиме, который AMD называет "вторым режимом". В патенте говорится, что GPU имеет в общей сложности три режима. Первый из них - это режим "одного GPU", который очень похож на работу со

Концепция MCM (Multi-Chiplet Module) становится все более модной, особенно в связи с ограничениями монолитных конструкций, то есть конструкций, в которых каждая деталь собрана на одном чипе. AMD уже некоторое время использует этот дизайн в центрах обработки данных и продуктах потребительского класса. Однако обнаруженный патент указывает на то, что в этом подходе грядут значительные изменения.

В этом патенте описывается многочиповый графический процессор с тремя отдельными схемами, которые различаются тем, как распределяются и управляются ресурсы. Это может как повысить производительность, так и снизить производственные затраты.

В патенте AMD говорит о GPU, разделенном на несколько чипов, которые она называет GPU-чиплетами. Эти чиплеты или матрицы могут работать либо как один GPU, либо как несколько GPU в режиме, который AMD называет "вторым режимом". В патенте говорится, что GPU имеет в общей сложности три режима.

Первый из них - это режим "одного GPU", который очень похож на работу современных графических процессоров. Второй режим называется "режим независимости", и здесь все становится интереснее. В этом режиме каждый чиплет действует независимо. Каждый GPU самостоятельно планирует задачи в рамках своих шейдерных движков и не взаимодействует с другими чиплетами.

Третий режим - это гибкая конфигурация, в которой некоторые чипсеты GPU работают как один GPU, а другие - как независимые GPU. AMD называет это гибридным режимом. В своей простейшей форме этот режим обещает масштабируемость и эффективное использование ресурсов за счет использования преимуществ как объединенной, так и автономной обработки. Судя по всему, этот патент направлен на графические процессоры AMD для центров обработки данных в целом.

-2

Конечно, патент не означает, что AMD полностью изменит свой подход к MCM. С другой стороны, хотя многочиповые конфигурации дают преимущества в производительности и масштабируемости, современные производственные проблемы увеличивают их стоимость. Это уже проявляется в отсутствии у AMD полноценного мульти-GPU решения, подходящего для потребительского сегмента.

Если предположить, что патент означает, что AMD изменила свой подход, то в следующем поколении архитектур RDNA можно ожидать, что AMD сделает еще больший акцент на многочиповой упаковке с несколькими GCD (Graphics Compute Die) со своими собственными шейдерными движками. Однако, скорее всего, мы увидим это в RDNA 5 или позже. На самом деле, кажется более вероятным, что этот шаг в данном направлении будет сделан с широким распространением оборудования High-NA. При использовании литографических инструментов High-NA можно утверждать, что уменьшение площади экспонирования в два раза приведет к созданию многочиповых конструкций.