Найти в Дзене
OVERCLOCKERS.RU

Патентная заявка Apple намекает на новый шарнирный механизм для умных очков

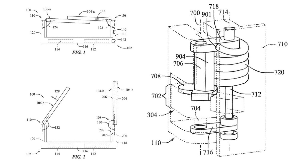
Компания Apple возможно планирует возродить свой проект умных очков под кодовым названием Apple Glass. Новый патент намекает на использование шарнирного механизма, специально разработанного для очков, вероятно, для очков AR. Эта информация появилась после выпуска Apple Vision Pro, высокотехнологичной гарнитуры, ориентированной на возможности дополненной реальности. Хотя Vision Pro предлагает мощное решение AR, появились слухи о том, что Apple стремится к иной концепции. Патент содержит описание "двухосевого шарнирного механизма", который позволяет складывать и раскладывать дужки очков различными способами. Это включает в себя более широкое, чем обычно, открытое положение, что может быть удобно для пользователей с крупной головой или для повышения долговечности устройства. Также очки будут обеспечивать защиту электронных компонентов в сложенном или стандартном открытом состоянии. Кроме того, шарнир очков автоматически фиксируется в определенных положениях и создает оптимальное "прижимно

Компания Apple возможно планирует возродить свой проект умных очков под кодовым названием Apple Glass. Новый патент намекает на использование шарнирного механизма, специально разработанного для очков, вероятно, для очков AR. Эта информация появилась после выпуска Apple Vision Pro, высокотехнологичной гарнитуры, ориентированной на возможности дополненной реальности. Хотя Vision Pro предлагает мощное решение AR, появились слухи о том, что Apple стремится к иной концепции.

Патент содержит описание "двухосевого шарнирного механизма", который позволяет складывать и раскладывать дужки очков различными способами. Это включает в себя более широкое, чем обычно, открытое положение, что может быть удобно для пользователей с крупной головой или для повышения долговечности устройства.

-2

Также очки будут обеспечивать защиту электронных компонентов в сложенном или стандартном открытом состоянии. Кроме того, шарнир очков автоматически фиксируется в определенных положениях и создает оптимальное "прижимное усилие", которое подходит для различных форм головы.

Еще одной интересной деталью в патенте компании является упоминание о проводах, проходящих через шарнир, возможно, для подключения динамиков наушников или других компонентов, расположенных на дужках.

Следует помнить, что патенты не гарантируют реализацию продукта. Однако этот патент демонстрирует усилия Apple в области исследований и разработок, предполагая, что компания может пересмотреть концепцию умных очков с упором на удобство ношения и более эргономичный дизайн.