Добавить в корзинуПозвонить
Найти в Дзене
Стеклянная сказка

Настоящая причина изобретения подушек безопасности: почему это сделали два стоматолога

Сначала анекдот в тему: По городу летит огромный розовый лексус и на перекрёстке попадает в ДТП. Подъехала скорая, санитар иврач скорой достают из раскуроченного лексуса блондинку в бессознательном состоянии и укладвают её на наосилки. - Красивая.... только что у неё с ушами? Как у Чебурашки! - удивляется санитар-новичок. - Ну... бывает.... подушка безопасности выстрелила, у этой дамочки силикон из губ в уши выбило. Во всех учебниках по истории автомобилестроения говорится, что подушку безопасности изобрели в 1953 году независимо друг от друга Джон Хетрик и Вальтер Линдерер. Первым был американец, который подал заявление на получение патента 5 августа, немец чуть припозднился и его патентная заявка была зарегистрирована 6 октября. Несмотря на то, что американец и немец друг с другом не общались и даже не знали о существовании конкурента, их изобретения были очень похожи: спрятанная под рулевым колесом подушка надувалась от сжатого воздуха, который хранился в специальном баллоне. Увы, к

Сначала анекдот в тему:

По городу летит огромный розовый лексус и на перекрёстке попадает в ДТП. Подъехала скорая, санитар иврач скорой достают из раскуроченного лексуса блондинку в бессознательном состоянии и укладвают её на наосилки.
- Красивая.... только что у неё с ушами? Как у Чебурашки! - удивляется санитар-новичок. - Ну... бывает.... подушка безопасности выстрелила, у этой дамочки силикон из губ в уши выбило.

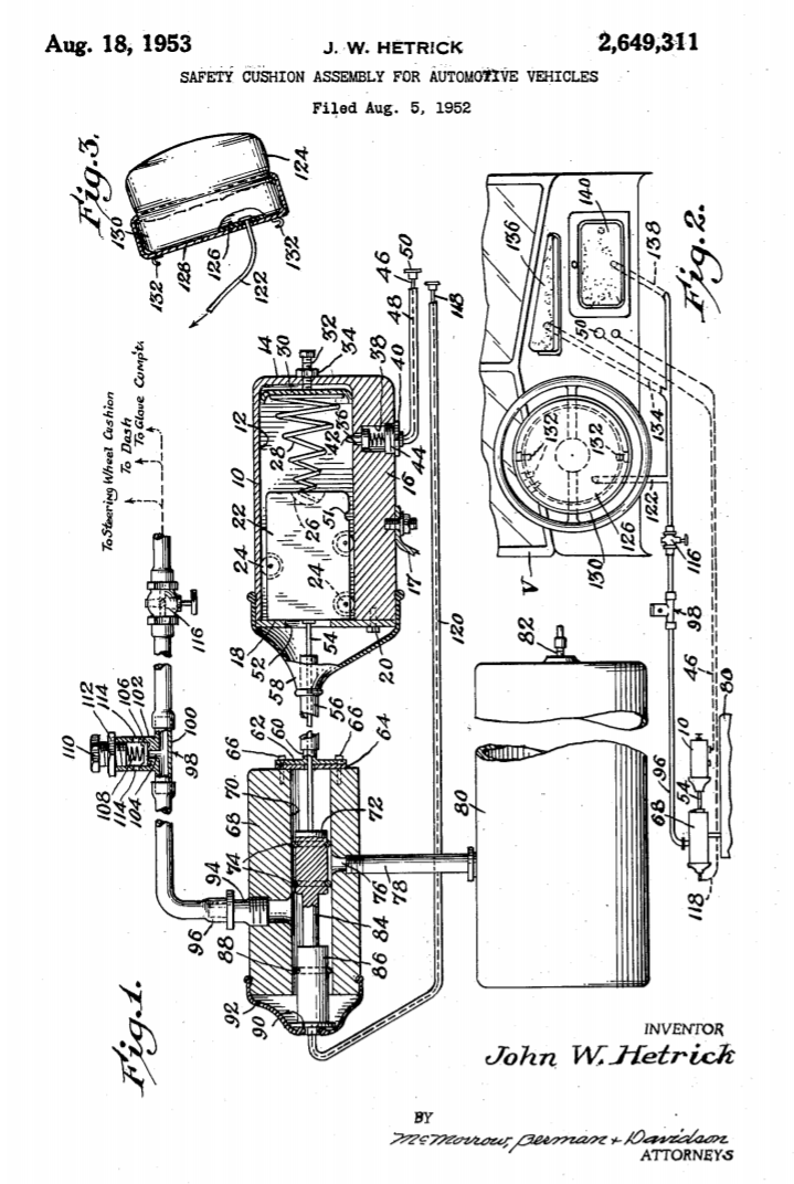
Во всех учебниках по истории автомобилестроения говорится, что подушку безопасности изобрели в 1953 году независимо друг от друга Джон Хетрик и Вальтер Линдерер. Первым был американец, который подал заявление на получение патента 5 августа, немец чуть припозднился и его патентная заявка была зарегистрирована 6 октября.

Несмотря на то, что американец и немец друг с другом не общались и даже не знали о существовании конкурента, их изобретения были очень похожи: спрятанная под рулевым колесом подушка надувалась от сжатого воздуха, который хранился в специальном баллоне.

Увы, как показали испытания, и американское и немецкое изобретения не работали. Силы сжатого воздуха не хватало на то, чтобы надуть подушку в нужное время. Во время серьёзной аварии она надувалась только для того, чтобы трупик водителя мог элегантно положить на неё свою сломанную шею. А могла и вовсе не надуться, если удар приходился в то место, где крепился баллон со сжатым воздухом.

Добавьте описание
Добавьте описание

Иногда, когда баллон был перекачан (да, да, да его нужно было постоянно подкачивать насосом) подушка могла просто размазать голову незадачливого водителя. Так что ещё не известно, что было лучше, потерять голову о подушку безопасности или попытаться стать Карлсоном и вылететь через окно.

И только в 1970-х годах была внедрена подушка безопасности, которая надувалась при помощи пиропатрона при срабатывании специального шарикового датчика в бампере машины.

Но мало кто знает... что самую первую надувную подушку безопасности придумали два друга-стоматолога из Бирмингема, Артур Пэрротт и Гарольд Раунд.

Артём и Гриша были классными мужиками во всех смыслах, начиная с того, что работали на одной улице, то есть по сути дела были конкурентами, но при всём при этом были закадычными друзьями.

Женаты!

Имели большие и крепкие семьи, тогда люди размножались чуть медленнее кроликов, так что у одного было 5 детей, у второго семеро! Но, по всей видимости, заработки на выдирании зубов позволяли не только иметь много детей и конкурирующего врача под боком, но иметь совместное хобби.

-3

А хобби у них было классное!

Дело в том, что в 20-е годы ХХ века весь мир охватило повальное увлечение... аэронавтикой. Попросту говоря, люди любили летать на самолётах, собранных из палок, ещё раз палок, снова палок, немного железок и проклеенной клейстером ткани. В этой палко-леталке был установлен двигатель и пара кресел. Получался эдакий зародыш кукурузника, который летать мог, но

А. недолго

Б. разбивался при посадке он намного чаще чем взлетал.

Но людей так покорила идея летать, как птицы, что на все эти мелочи они закрывали глаза, иногда насовсем. Если же во время незапланированного падения удавалось выжить, то самой популярной травмой, помимо всяческих синяков, порватостей и ушибленностей было... вы всё правильно подумали... внеплановое удаление всех передних зубов о штурвал.

-4

Поэтому многие пилоты начала века страшно фепеляфили и на фотографиях не улыбались. Правило "если ты мужчина - хмурься" работало тут как ни в какой другой профессии.

Но вернёмся к нашим друзьям, Артуру Пэрротту и Гарольду Раунду.

Друзья летать... не любили!

Однако в их городке была большая лётная школа и аэродром, где каждое воскресенье будущие и настоящие пилоты пытались до получения диплома пилота не самоубиться о матушку-землю на своих тряпконитколётах. За этими учениями очень любили наблюдать жители городка, каждые выходные приходившие на огромное поле, с которого взлетали аэропланы.

Не являлись исключением и семьи Артура с Гришей. Взять любимую жену, детей и корзинку с вином и перезакусончиком - было их любимым развлечением. И пока в воздухе выделывал мёртвую петлю очередной пилот, на полянке резвилось 12 детей стоматологов. Сами же стоматологи часто оказывались очень кстати на поле, поскольку вся трава в месте приземлений была усеяна бесхозными зубами...

Шучу, шучу...

Но, в любом случае, просили их посмотреть что там с зубами довольно часто. И такие просьбы им настолько надоели, что друзья решили изготовить для пилотов... подушку безопасности.

Да, да, да! Вы не ослышались!

-5

Первая подушка безопасности, которая приводилась в действие сжатым воздухом была придумана в 1919 году в Бирмингеме стоматологами именно для того, чтобы пилоты не теряли "сфои драгоченные жупки". Подразумевалось, что пока самолёт летит к земле у пилота будет время крутануть рукой вентиль на баллоне со сжатым воздухом и подушка окутает грудь и голову пилота.

Видимо остальные части тела друзья считали не настолько существенными для процесса жизнедеятельности организма... хотя на то они и были стоматологами. Как бы то ни было, их изобретение было запатентовано и даже применено.

Однако спасло ли оно жизнь хотя бы одному пилоту доподлинно неизвестно, но памятный знак на университетской стене Бирмингема доказывает, что какая-то польза всё же была... наверное... может быть...

-6