Найти в Дзене

АЗЛК-2140 «Москвич». ШЛИФОВАНИЕ РАБОЧИХ ФАСОК СЁДЕЛ КЛАПАНОВ.

Обязательно при замене направляющих втулок клапанов, а также при большом износе и биении фасок относительно отверстий в направляющих втулках. Сёдла впускных и выпускных клапанов двигателя имеют большую твёрдость (не менее 55 HRC), и поэтому обработку фасок сёдел можно производить только шлифованием. Для этого рекомендуется применять специальную шлифовальную машинку с электрическим приводом. Машинка должна быть снабжена набор абразивных кругов конусностью 90°, 120° и 60°, набором специальных оправок, вставляемых в отверстия направляющих втулок и применяемых для правки абразивных кругов и для проверки биения фаски. Перед тем, как приступить к шлифованию фаски, необходимо к отверстию в направляющей втулке подобрать из набора оправку, плотно входящую в направляющую втулку. Подача абразивного инструмента производится вручную, а шлифование ведётся до тех пор, пока абразивный камень начнёт снимать металл седла равномерно по всей окружности. Проверка биения фаски относительно оси отверстия нап

Обязательно при замене направляющих втулок клапанов, а также при большом износе и биении фасок относительно отверстий в направляющих втулках.

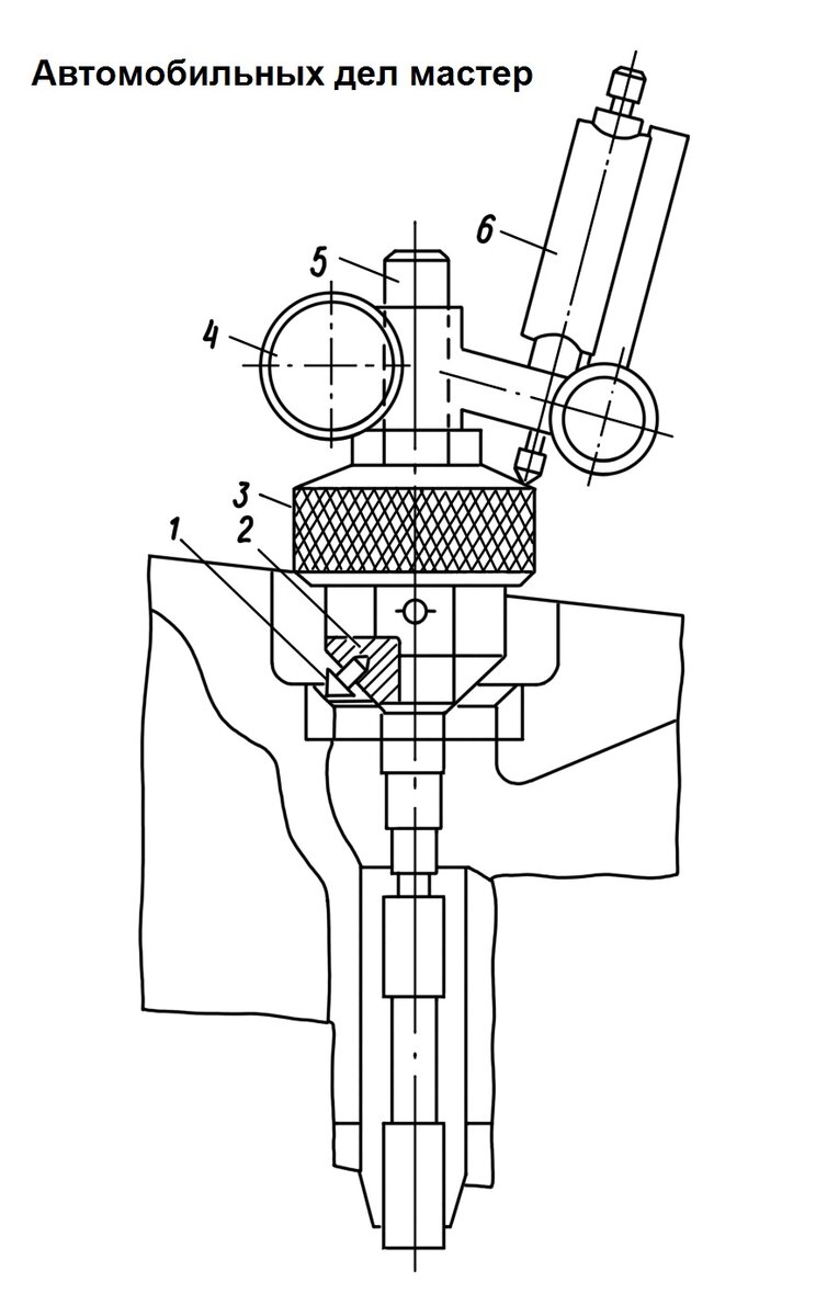
Сёдла впускных и выпускных клапанов двигателя имеют большую твёрдость (не менее 55 HRC), и поэтому обработку фасок сёдел можно производить только шлифованием. Для этого рекомендуется применять специальную шлифовальную машинку с электрическим приводом. Машинка должна быть снабжена набор абразивных кругов конусностью 90°, 120° и 60°, набором специальных оправок, вставляемых в отверстия направляющих втулок и применяемых для правки абразивных кругов и для проверки биения фаски. Перед тем, как приступить к шлифованию фаски, необходимо к отверстию в направляющей втулке подобрать из набора оправку, плотно входящую в направляющую втулку. Подача абразивного инструмента производится вручную, а шлифование ведётся до тех пор, пока абразивный камень начнёт снимать металл седла равномерно по всей окружности. Проверка биения фаски относительно оси отверстия направляющей втулки производится с помощью специального приспособления (рис. 1), устанавливаемого на ту же оправку, на которой производилось шлифование фаски. Величины допустимых биений для фасок сёдел впускных и выпускных клапанов не должны превышать 0,05 мм.

Рис. 1. Приспособление для проверки биения фаски на седле клапана: 1 - наконечник; 2 - отверстие для наконечника; 3 - муфта; 4 - держатель; 5 - оправка; 6 - индикатор
Рис. 1. Приспособление для проверки биения фаски на седле клапана: 1 - наконечник; 2 - отверстие для наконечника; 3 - муфта; 4 - держатель; 5 - оправка; 6 - индикатор

Далее необходимо проверить ширину и место расположения на фаске поверхности соприкосновения головки клапана с седлом. Для этого на седло клапана наносится тонкий слой краски, например берлинской лазури, в направляющую втулку вставляется соответствующий клапан и затем проворачивается с прижиманием к седлу. Клапан хорошо сидит в седле, если образовавшийся на головке клапана поясок краски располагается посередине фаски, а ширина пояска находится в пределах 1,6 – 2,2 мм как для впускного, так и для выпускного клапана.

Если указанные требования не удовлетворены, необходимо дополнительно шлифовать седло клапана (рис. 2). При этом абразивный круг в зависимости от того, куда требуется сместить рабочую фаску седла клапана, должен иметь конусность 60 или 120°.

Рис. 2. Размеры фасок дополнительной шлифовки седла клапана
Рис. 2. Размеры фасок дополнительной шлифовки седла клапана

Для лучшего прилегания клапана к седлу их надо притереть друг к другу известным способом с помощью наждачной пасты и приспособления.

Проверка герметичности клапанов может быть сделана по разрывам слоя краски, наносимой на фаски сёдел и головок клапанов, по просачиванию керосина, заливаемого в камеру сгорания, а также с помощью пневматического приспособления низкого давления.