Добавить в корзинуПозвонить
Найти в Дзене

АЗЛК-2140 «Москвич». ПРОВЕРКА ГЕНЕРАТОРА.

Исправность генератора и правильность его работы определяются проверкой минимальной частоты вращения, при которой достигается напряжение 12,5 В во время работы генератора на холостом ходу и под нагрузкой, а также проверкой величины регулярного напряжения. Внимание! Работа генератора с отключенной аккумуляторной батареей запрещается. Для проведения этих проверок необходимы контрольно-испытательный стенд с приводом, обеспечивающим возможность плавного изменения частоты вращения в пределах от 0 до 5000 об/мин, а также следующие приборы: - вольтметр постоянного тока класса точности не ниже 0,5 со шкалой 0 – 30 В; - амперметр постоянного тока класса точности не ниже 1,5 со шкалой 0 – 60 А; - тахометр, позволяющий замерить частоту вращения в указанных пределах; - нагрузочный реостат на ток до 60 А. Внимание! Производите отсоединение и присоединение проводов к генератору только при отключенной аккумуляторной батарее. Проверка минимальной частоты вращения генератора. Установите генератор на ст

Исправность генератора и правильность его работы определяются проверкой минимальной частоты вращения, при которой достигается напряжение 12,5 В во время работы генератора на холостом ходу и под нагрузкой, а также проверкой величины регулярного напряжения.

Внимание! Работа генератора с отключенной аккумуляторной батареей запрещается.

Для проведения этих проверок необходимы контрольно-испытательный стенд с приводом, обеспечивающим возможность плавного изменения частоты вращения в пределах от 0 до 5000 об/мин, а также следующие приборы:

- вольтметр постоянного тока класса точности не ниже 0,5 со шкалой 0 – 30 В;

- амперметр постоянного тока класса точности не ниже 1,5 со шкалой 0 – 60 А;

- тахометр, позволяющий замерить частоту вращения в указанных пределах;

- нагрузочный реостат на ток до 60 А.

Внимание! Производите отсоединение и присоединение проводов к генератору только при отключенной аккумуляторной батарее.

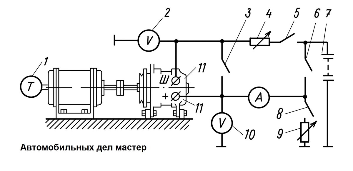
Проверка минимальной частоты вращения генератора. Установите генератор на стенд. Схема соединений генератора для проверки на стенде показана на рис. 1. Питание обмоток возбуждения осуществляется от источника постоянного тока напряжением 12,5 В и фиксируется по вольтметру 2. Выключатель 5 замыкается, а выключатели 3 и 6 размыкаются. Выключатель 8 замыкается при проверке с нагрузкой.

Рис. 1. Электрическая схема для проверки генератора: 1 - тахометр; 2, 10 - вольтметры; 3, 5, 6, 8 - выключатели; 4, 9 - реостаты; 7 - аккумуляторная батарея; 11 - генератор
Рис. 1. Электрическая схема для проверки генератора: 1 - тахометр; 2, 10 - вольтметры; 3, 5, 6, 8 - выключатели; 4, 9 - реостаты; 7 - аккумуляторная батарея; 11 - генератор

При испытании без нагрузки и с нагрузкой частота вращения ротора повышается до тех пор, пока напряжение, фиксируемое по вольтметру 10, не достигнет значения 12,5 В.

При испытании с нагрузкой величина тока устанавливается 32 А, после чего замеряется частота вращения ротора.

Частота вращения генератора, при которой достигается напряжение 12,5 В, не должна превышать 1100 об/мин при работе генератора без нагрузки и 2000 об/мин при токе нагрузки 32 А.

Проверка регулируемого напряжения. Проверка производится с подключённой аккумуляторной батареей 7. При этом выключатель 5 должен быть разомкнут, а выключатели 3, 6 и 8 замыкаются до начала вращения ротора.

Первым замыкается выключатель 6. Напряжение на клеммах аккумуляторной батареи должно быть 12,2 – 12,6 В. Регулируемое напряжение фиксируется по вольтметру 2. Снятие показаний производится при частоте вращения ротора 3500 об/мин.

Регулируемое напряжение при частоте вращения ротора 3500 об/мин и токе нагрузки 16 А с подключённой аккумуляторной батареей должно быть в пределах 13,7 14,4 В.

Регулируемое напряжение с достаточной точностью можно проверить и на автомобиле. Для этого к клемме «+» генератора и массе двигателя подключается вольтметр, устанавливается частота вращения коленчатого вала двигателя (по показаниям тахометра), равная 2000 об/мин, и включаются потребители электроэнергии (габаритный свет, дальний свет фар, отопитель). По показаниям вольтметра определяется регулируемое напряжение, которое должно быть также 13,7 – 14,4 В.