Добавить в корзинуПозвонить
Найти в Дзене
OVERCLOCKERS.RU

Apple получила патент на автономный внешний фонарик для Apple Watch

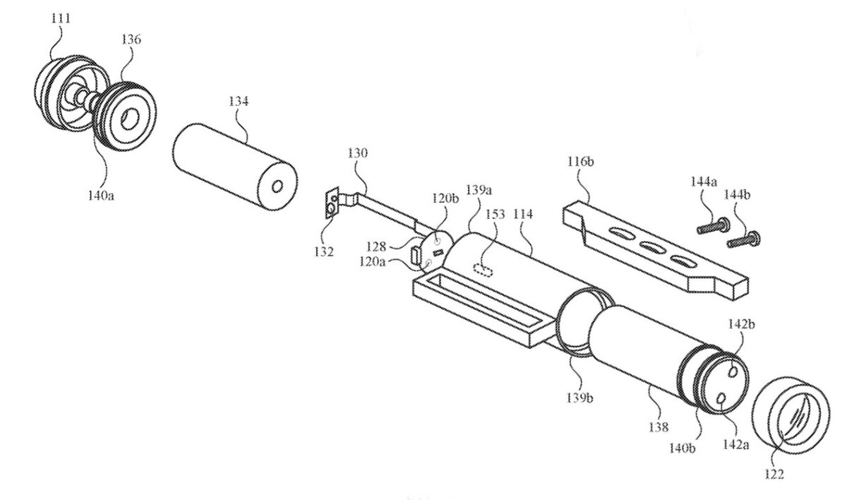
Apple Watch уже имеют функцию фонарика, которая увеличивает яркость экрана, делая его белым для улучшенной видимости в темноте. Однако, такой способ не всегда удобен, требуя поворота запястья и направления экрана на нужный объект. Эта неудобство может быть решено благодаря новой технологии. По патенту, Apple разработала модульный световой фонарик, который крепится к ремешку часов. Этот фонарик будет иметь свою собственную батарею и кнопку для управления, независимую от основного устройства. Он также может получать информацию от умных часов для включения или выключения освещения. Фонарик будет автономным, не требуя подзарядки от батареи Apple Watch. Он представляет собой модуль, который можно отделить от ремешка часов или прикрепить неразъемно, предоставляя новые возможности для пользователей. 📃 Читайте далее на сайте

Apple Watch уже имеют функцию фонарика, которая увеличивает яркость экрана, делая его белым для улучшенной видимости в темноте. Однако, такой способ не всегда удобен, требуя поворота запястья и направления экрана на нужный объект.

Эта неудобство может быть решено благодаря новой технологии. По патенту, Apple разработала модульный световой фонарик, который крепится к ремешку часов. Этот фонарик будет иметь свою собственную батарею и кнопку для управления, независимую от основного устройства. Он также может получать информацию от умных часов для включения или выключения освещения.

-2

Фонарик будет автономным, не требуя подзарядки от батареи Apple Watch. Он представляет собой модуль, который можно отделить от ремешка часов или прикрепить неразъемно, предоставляя новые возможности для пользователей.

📃 Читайте далее на сайте