Добавить в корзинуПозвонить
Найти в Дзене
Европрибор Волга

Принцип действия вихревых расходомеров

Вихревые расходомеры - это устройства, используемые для измерения расхода жидкости, газа или пара. Принцип их действия основан на явлении, называемом эффектом Кармана. Вот основные принципы их работы:
Образование вихря: Поток жидкости, газа или пара, проходя через препятствие (обычно это вихревой дефлектор или преграда), создает вихрь за этим препятствием. Этот вихрь образуется в соответствии с принципами обтекания препятствий в потоке. Частота вихрей: Частота образования вихрей пропорциональна скорости потока. Большая скорость потока приводит к более частому образованию вихрей.
Измерение частоты: Вихревой расходомер обычно содержит датчик (например, пьезоэлектрический), который реагирует на колебания, вызванные образованием вихрей. Эти колебания затем преобразуются в электрический сигнал.
Калибровка: Для преобразования частоты вихрей в единицы расхода (например, литры в секунду или кубические футы в час), расходомер калибруется с использованием известных параметров потока. Вывод да

Вихревые расходомеры - это устройства, используемые для измерения расхода жидкости, газа или пара. Принцип их действия основан на явлении, называемом эффектом Кармана. Вот основные принципы их работы:

Образование вихря: Поток жидкости, газа или пара, проходя через препятствие (обычно это вихревой дефлектор или преграда), создает вихрь за этим препятствием. Этот вихрь образуется в соответствии с принципами обтекания препятствий в потоке.

1. Опция «объем»; 2. «Объем, высокая температура»
1. Опция «объем»; 2. «Объем, высокая температура»

Частота вихрей: Частота образования вихрей пропорциональна скорости потока. Большая скорость потока приводит к более частому образованию вихрей.

Измерение частоты: Вихревой расходомер обычно содержит датчик (например, пьезоэлектрический), который реагирует на колебания, вызванные образованием вихрей. Эти колебания затем преобразуются в электрический сигнал.

Калибровка: Для преобразования частоты вихрей в единицы расхода (например, литры в секунду или кубические футы в час), расходомер калибруется с использованием известных параметров потока.

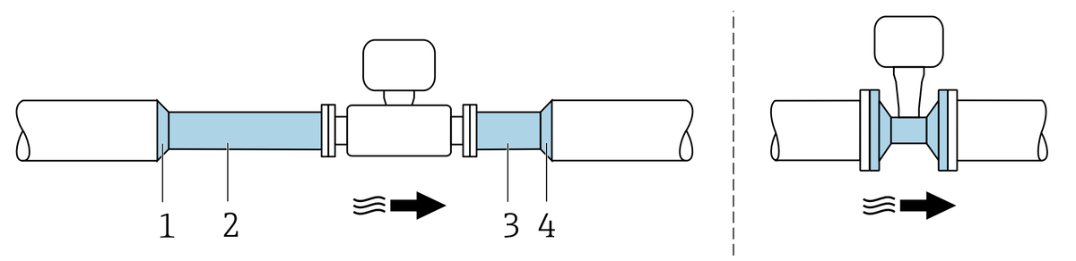
1. Редукторный элемент; 2. Прямой сегмент трубы в качестве входного участка (мин. 15 × DN) перед вихревым расходомером; 3. Прямой сегмент трубы в качестве выпускного участка (мин. 5 × DN) после вихревого расходомера; 4. Расширительный элемент
1. Редукторный элемент; 2. Прямой сегмент трубы в качестве входного участка (мин. 15 × DN) перед вихревым расходомером; 3. Прямой сегмент трубы в качестве выпускного участка (мин. 5 × DN) после вихревого расходомера; 4. Расширительный элемент

Вывод данных: Преобразованный сигнал передается системе управления или отображается на панели для отслеживания и управления процессом.

Преимущества вихревых расходомеров включают их относительную простоту, стабильность и устойчивость к изменениям условий окружающей среды. Они могут использоваться для измерения расхода в различных отраслях, таких как энергетика, химическая промышленность, водоснабжение и другие.