Добавить в корзинуПозвонить
Найти в Дзене
ЭнергоТранс ЖБИ

Стойки железобетонные центрифугированные конические и цилиндрические типа СК, СКЦ, СЦ и СЦП

Центрифугированные стойки для опоры представляют цилиндрические или конические конструкции кольцевого диаметра. Изготавливают стоки кольцевого сечения в соответствии с ГОСТ и технической документацией. Стойки эксплуатируют при температуре до -55 градусов, сейсмичности до 9 баллов и при давлении ветра в 1-4 районах. Центрифугированные стойки имеют обозначение СК, которое предназначено для строительства высоковольтных линий электропередач с номинальным напряжением от 35 до 750 кВ. СЦ 22.1-1.1 Стойки СЦ 22,1-1,1 – железобетонные элементы в плане цилиндрического сечения. Имеют подпятники и две опорные диафрагмы. Стержень обладает высокой жесткостью, прочностью и трещиностойкостью, поэтому допускается эксплуатировать в условиях значительных разрушающих нагрузок, в том числе вырывающих и сдавливающих усилиях, а также изгибающих моментах. Для крепления металлических конструкций опор стойки имеют закладные детали. 🔥 Подписывайтесь на канал – это лучший способ поддержать! 👍 Поддержите статью

Центрифугированные стойки для опоры представляют цилиндрические или конические конструкции кольцевого диаметра. Изготавливают стоки кольцевого сечения в соответствии с ГОСТ и технической документацией. Стойки эксплуатируют при температуре до -55 градусов, сейсмичности до 9 баллов и при давлении ветра в 1-4 районах. Центрифугированные стойки имеют обозначение СК, которое предназначено для строительства высоковольтных линий электропередач с номинальным напряжением от 35 до 750 кВ.

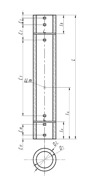
СЦ 22.1-1.1

Техническая документация	ГОСТ 22687.2-85
Диаметр, мм	450, 560
Марка бетона	В40
Длина, мм	22200
Объем изделия, м3	2,1
Масса, ед. т.	6,1
Тип подвижного состава	Сцеп из 2-х платформ (четное количество изделий)
Изгибающий момент, тс2 м	48,2
Морозостойкость	F150-200
Водонепроницаемость	W6-8
Техническая документация ГОСТ 22687.2-85 Диаметр, мм 450, 560 Марка бетона В40 Длина, мм 22200 Объем изделия, м3 2,1 Масса, ед. т. 6,1 Тип подвижного состава Сцеп из 2-х платформ (четное количество изделий) Изгибающий момент, тс2 м 48,2 Морозостойкость F150-200 Водонепроницаемость W6-8

Стойки СЦ 22,1-1,1 – железобетонные элементы в плане цилиндрического сечения. Имеют подпятники и две опорные диафрагмы. Стержень обладает высокой жесткостью, прочностью и трещиностойкостью, поэтому допускается эксплуатировать в условиях значительных разрушающих нагрузок, в том числе вырывающих и сдавливающих усилиях, а также изгибающих моментах. Для крепления металлических конструкций опор стойки имеют закладные детали.

-2
-3

🔥 Подписывайтесь на канал – это лучший способ поддержать!

👍 Поддержите статью лайком, если было интересно.

💬 Не забывайте делиться своим мнением в комментариях!