Добавить в корзинуПозвонить
Найти в Дзене

Конструкция разъединителей РЛР

Линейные разъединители РЛР Тесла на 10 кВ рубящего типа для наружной установки. Современный улучшенный аналог разъединителей РЛК и РЛНД, разрешенный к применению ПАО "МОЭСК" и ПАО "Россети" Поставляется в комплекте с приводом и металлоконструкциями (кронштейны, хомуты и соединительная тяга) для крепления на опору. Расшифровка обозначения разъединителя РЛР Р - разъединитель
Л - линейный
Р - рубящего типа
1 - количество заземлителей
10 - номинальное напряжение сети, кВ
400 - номинальный рабочий ток, А
УХЛ1 - климатическое исполнение и категория размещения по ГОСТ 15150.69 Преимущества разъединителя РЛР Тесла перед разъединителями устаревших конструкций Технические характеристики разъединителя РЛР Тесла 10 кВ Номинальное напряжение - 10 кВ
Наибольшее рабочее напряжение - 12 кВ
Номинальный ток - 400а, 630а
Ток термической стойкости - 10 кА
Ток электродинамической стойкости - 25 кА
Время протекания тока термической стойкости - 5 с
Индуктивный ток отключения (соs ~0,15) - 1 А
Емкостный ток о
Оглавление

Линейные разъединители РЛР Тесла на 10 кВ рубящего типа для наружной установки.

Современный улучшенный аналог разъединителей РЛК и РЛНД, разрешенный к применению ПАО "МОЭСК" и ПАО "Россети"

Поставляется в комплекте с приводом и металлоконструкциями (кронштейны, хомуты и соединительная тяга) для крепления на опору.

Расшифровка обозначения разъединителя РЛР

Р - разъединитель
Л - линейный
Р - рубящего типа
1 - количество заземлителей
10 - номинальное напряжение сети, кВ
400 - номинальный рабочий ток, А
УХЛ1 - климатическое исполнение и категория размещения по ГОСТ 15150.69

Преимущества разъединителя РЛР Тесла перед разъединителями устаревших конструкций

  1. Все металлические элементы разъединителя защищены покрытием из горячего цинка.
  2. Группа силовых ножей выполнена из меди толщиной 3 мм и покрыта гальваническим оловом.
  3. Рама выполнена на П-образных хомутах, без использования сварки.
  4. Используются оцинкованные метизы, а в точках высокой нагрузки применены метизы из нержавеющей стали.
  5. Механическая блокировка главных ножей при включении ножей заземления расположена непосредственно на раме разъединителя.
  6. Главные и заземляющие ножи разъединителя РЛР Тесла управляется одним валом.

Технические характеристики разъединителя РЛР Тесла 10 кВ

Номинальное напряжение - 10 кВ
Наибольшее рабочее напряжение - 12 кВ
Номинальный ток - 400а, 630а
Ток термической стойкости - 10 кА
Ток электродинамической стойкости - 25 кА
Время протекания тока термической стойкости - 5 с
Индуктивный ток отключения (соs ~0,15) - 1 А
Емкостный ток отключения (соs ~0,15) - 1 А
Сопротивление постоянному току главного токоведущего контура - не более 95х10-6 Ом
Допустимая механическая нагрузка на выводы от присоединяемых проводов с учетом влияния ветровых нагрузок (скорость ветра до 15 м/с) и образования льда (толщина корки льда до 20 мм) - не более 200 Н
Толщина корки льда при оперировании разъединителем - не более 20 мм
Наибольшее усилие, прикладываемое к рукоятке привода - не более 215 Н
Габаритные размеры (длина, ширина, высота, мм) - 800х900х800
Масса - не более 45 кг

Схема монтажа разъединителя РЛР Тесла на опоре

1. Разъединитель
2. Монтажная рама
3. Тяга 2600 мм
4. Тяга 2800 мм
5. Промежуточный элемент
6. Привод
7. Опора
8. Хомуты
9. П-образные хомуты крепления
10. Рычаг

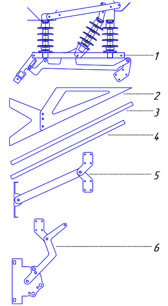
Комплект поставки разъединителя РЛР Тесла

1. Разъединитель
2. Монтажная рама
3. Тяга (2.600 мм)
4. Тяга (2.800 мм)
5. Промежуточный элемент
6. Привод
7. Хомуты с ответными пластинами (на схеме не отражены)
1. Разъединитель 2. Монтажная рама 3. Тяга (2.600 мм) 4. Тяга (2.800 мм) 5. Промежуточный элемент 6. Привод 7. Хомуты с ответными пластинами (на схеме не отражены)
-3

Источник здесь: https://proenergotorg.ru/razediniteli_rlr_tesla/