Добавить в корзинуПозвонить
Найти в Дзене

Российская технология помощи водителю. Ездить станет безопаснее?

Что значит автомобиль для современного человека? Да практически все: это и свобода передвижения, и возможность сделать больше дел в один день, возможность быстро перемещать грузы, путешествовать… Этот список можно продолжать до бесконечности. Без автомобилей уже сложно представить нашу повседневную жизнь. Без них ― время как будто остановится. Но, с ростом машин, увы, и растет количество ДТП. Ученые всех стран с помощью современных технологий стараются если не исключить, то хотя бы снизить их к минимуму. Для этого создают различных помощников для водителей. Об одной такой отечественной разработке мы и расскажем в этой статье. Какая она, технология будущего? Наши с вами соотечественники, Лапшев Олег Борисович и Луцковский Макс Юрьевич, разработали технологию распознавания дорожных знаков. Она предназначена для систем помощи при вождении автомобиля и призвана снизить количество аварийных ситуаций на дорогах. Суть новой технологии заключается в следующем: на дорожный знак устанавливают

Что значит автомобиль для современного человека?

Да практически все: это и свобода передвижения, и возможность сделать больше дел в один день, возможность быстро перемещать грузы, путешествовать… Этот список можно продолжать до бесконечности.

Без автомобилей уже сложно представить нашу повседневную жизнь. Без них ― время как будто остановится. Но, с ростом машин, увы, и растет количество ДТП. Ученые всех стран с помощью современных технологий стараются если не исключить, то хотя бы снизить их к минимуму. Для этого создают различных помощников для водителей. Об одной такой отечественной разработке мы и расскажем в этой статье.

Какая она, технология будущего?

Наши с вами соотечественники, Лапшев Олег Борисович и Луцковский Макс Юрьевич, разработали технологию распознавания дорожных знаков. Она предназначена для систем помощи при вождении автомобиля и призвана снизить количество аварийных ситуаций на дорогах.

Суть новой технологии заключается в следующем:

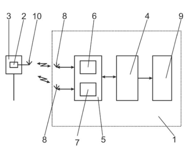
на дорожный знак устанавливают радиометку, на которую записывают информацию о типе дорожного знака. После этого,в регистраторе модулируют радиочастотный сигнал и непрерывно отправляют его в попутном и перпендикулярном направлении от автомобиля.

Как только на пути появится дорожный знак с радиометкой, произойдет распознавание и демодулирование его радиочастотного сигнала, интерпретация в блоке управления типа установленного дорожного знака и преобразованная информация отправится прямиком в пользовательский интерфейс.

Патент ИЗ №2760038 Способ распознавания дорожных знаков.
Патент ИЗ №2760038 Способ распознавания дорожных знаков.

Стоит отметить, что изобретатели предусмотрели два варианта конструкции радиометок:

в первом случае, радиометка имеет возможность записывать и сохранять информацию, а также модулировать и демодулировать сигнал, считывание которого происходит с помощью специальной антенны.

во втором варианте, радиометка может быть выполнена в виде активного излучателя, который подключен к источнику электроэнергии (например, солнечной батарее).

Внедрение данной технологии позволит повысить надежность распознавания дорожных знаков в системах помощи при вождении автомобилей и снизит вероятность возникновения ДТП.

Кстати, об этом патенте мы узнали из первых уст.

Одним из авторов технологии является генеральный директор нашей компании «Институт Инноваций и Права» Макс Юрьевич Луцковский. Он - практикующий новатор, а не просто теоретик. Благодаря этому ему удалось собрать команду сильных специалистов, которые берут в работу проекты на разных стадиях готовности, дорабатывают их и доводят до результата ― получения заветного патента.

Патент ИЗ №2760038 Способ распознавания дорожных знаков.
Патент ИЗ №2760038 Способ распознавания дорожных знаков.

Есть разработка, на которую давно мечтаете получить патент?
Сейчас самое подходящее время для этого!
Ждем вас на бесплатной консультации с нашим экспертом:
https://lp.inilaw.ru/patents?utm_source=zen&utm_medium=content&utm_campaign=patent&utm_content=first&roistat=zenO