Найти в Дзене

Вязкость дизельного топлива

Вязкость - это свойство внутреннего межмолекулярного трения или сопротивления перемещению жидкости, которое характеризуется: Кинематическая вязкость дизельного топлива Кинематическая вязкость дизельного топлива является величиной стандартизованной ГОСТами, так как совместно с топливной функцией, параллельно выполняет функцию уплотнения и смазки форсунок и насосов. Для быстроходных дизельных агрегатов значение вязкости топлив нормируется значением не более 8 сСт (мм2/с). В стационарных дизельных установках, где можно организовать подогрев дизельного топлива образующимися продуктами сгорания, возможно значение кинематической вязкости не более 150 сСт (мм2/с). Для дизельных топлив разных марок эффективное значение кинематической вязкости находится в диапазоне 1,5-6,0 сСт (мм2/с). Повышенный или пониженный показатель кинематической вязкости дизельного топлива становится причиной нарушения функционирования топливоподающей аппаратуры, а также не оптимального протекания процессов образования
Оглавление

Вязкость - это свойство внутреннего межмолекулярного трения или сопротивления перемещению жидкости, которое характеризуется:

  • кинематической вязкостью, определяющей текучесть дизельного топлива при нормальных или повышенных температурах.
  • динамической вязкостью, определяющей текучесть смазочных материалов при низких температурах.

Кинематическая вязкость дизельного топлива

Кинематическая вязкость дизельного топлива является величиной стандартизованной ГОСТами, так как совместно с топливной функцией, параллельно выполняет функцию уплотнения и смазки форсунок и насосов.

Для быстроходных дизельных агрегатов значение вязкости топлив нормируется значением не более 8 сСт (мм2/с).

В стационарных дизельных установках, где можно организовать подогрев дизельного топлива образующимися продуктами сгорания, возможно значение кинематической вязкости не более 150 сСт (мм2/с).

Для дизельных топлив разных марок эффективное значение кинематической вязкости находится в диапазоне 1,5-6,0 сСт (мм2/с).

Повышенный или пониженный показатель кинематической вязкости дизельного топлива становится причиной нарушения функционирования топливоподающей аппаратуры, а также не оптимального протекания процессов образования топливной смеси и её сгорания.

Низкая вязкость дизельного топлива

Пониженная вязкость дизельного топлива приводит к следующим последствиям:

1. Топливо просачивается через зазоры в плунжерных парах топливного насоса высокого давления, в результате:

  • изменяется его потребление;
  • снижается цикловая подача;
  • понижается давление впрыска;
  • увеличивается образование нагара.

2. Ухудшаются его смазывающие свойства, из-за чего увеличивается интенсивность изнашивания плунжерных пар топливного насоса высокого давления, имеющих прецизионную обработку поверхностей, потому что износ зависит от физического состояния топлива.

Высокая вязкость дизельного топлива

Повышенная вязкость дизельного топлива является причиной:

1. Ухудшения качества образующейся топливной смеси.

2. Образования при распылении больших капель и длинной струи с малым углом, при этом происходит:

  • увеличение продолжительности процесса испарения;
  • не полное сгорание топлива;
  • увеличение потребления топлива;
  • повышение нагарообразования;
  • дымление (цвет продуктов сгорания становится тёмным).

Вязкость дизельного топлива от температуры

Вязкость дизельного топлива от температуры зависит уже на этапе производства, в рамках нормирования ГОСТами:

При изменении температуры вязкость меняется соответственно:

  • при повышении температуры топлива вязкость топлива снижается (становится жиже);
  • при понижении температуры топлива вязкость топлива повышается (становится гуще).

Определение кинематической вязкости дизельного топлива

ГОСТ 33-2016 регламентирует методику определения кинематической вязкости нефтепродуктов с использованием капиллярных стеклянных вискозиметров.

Сущность лабораторного определения кинематической вязкости состоит в определении времени истечения заданного объёма жидкости через капиллярное отверстие вискозиметра под действием собственного веса и силы тяжести.

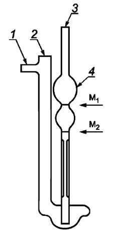
Вискозиметр типа Пинкевича ВПЖ-2, ВПЖТ-2: 1 - трубка вискозиметра, на которую надевается резиновая трубка; 2 - зажимаемое колено; 3 - колено, погружаемое в анализируемый нефтепродукт; 4 - расширение, которое должно быть ниже уровня жидкости термостате.
Вискозиметр типа Пинкевича ВПЖ-2, ВПЖТ-2: 1 - трубка вискозиметра, на которую надевается резиновая трубка; 2 - зажимаемое колено; 3 - колено, погружаемое в анализируемый нефтепродукт; 4 - расширение, которое должно быть ниже уровня жидкости термостате.

Для определения кинематической вязкости при положительных и отрицательных температурах используются вискозиметры ВПЖ-2 и Пинкевича, представляющие собой стеклянную U-образной формы трубку, в одно колено которой впаян капилляр, переходящий в 2 последовательных расширения. Между расширениями присутствует метка М1, а ниже первого снизу расширения - метка М2. Верх второго колена имеет небольшой отвод, на который одевается резиновая трубка при наполнении вискозиметра анализируемой жидкостью. В нижней части оба колена соединяются посредством расширения, являющегося резервуаром для слива анализируемой жидкости. Вискозиметры могут иметь капилляры разных диаметров. Комплект вискозиметров Пинкевича включает в себя приборы с диаметром капилляров от 0,4 до 4 мм.

Если статья была вам интересной и полезной, ставьте лайк, а если хотите ежедневно получать новые статьи и узнавать больше о нефтепереработке, то подписывайтесь на канал.