Добавить в корзинуПозвонить
Найти в Дзене

Параллельный стабилизатор на TL431

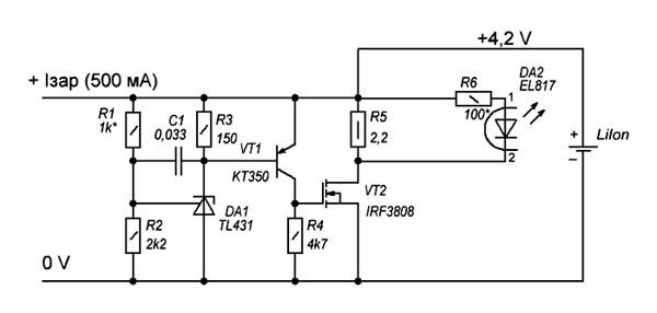
Параллельные стабилизаторы на большие токи не пользуются особой популярностью (за исключением, конечно, маломощных источников опорного напряжения) из-за их низкого КПД — потребляемый ток будет всегда равен максимальному выходному току (плюс еще собственное потребление стабилизатора), даже при отсутствии нагрузки. Однако есть случаи, когда нагрузка большую часть времени потребляет максимальный ток, например, при заряде аккумулятора. В этом случае параллельный стабилизатор всего лишь защищает аккумулятор от перезаряда. На рис. 1 приведена схема простого параллельного стабилизатора, предназначенного для заряда литиевых аккумуляторов. Принцип его работы следующий. Пока выходное напряжение меньше установленного делителем R1R2, ток через стабилизатор DA1 не протекает, следовательно транзисторы VT1 и VT2 закрыты и выходное напряжение определяется только уровнем заряда аккумулятора. Соответственно весь зарядный ток протекает через аккумулятор. По мере того, как напряжение на аккумуляторе прибл

Параллельные стабилизаторы на большие токи не пользуются особой популярностью (за исключением, конечно, маломощных источников опорного напряжения) из-за их низкого КПД — потребляемый ток будет всегда равен максимальному выходному току (плюс еще собственное потребление стабилизатора), даже при отсутствии нагрузки.

Однако есть случаи, когда нагрузка большую часть времени потребляет максимальный ток, например, при заряде аккумулятора. В этом случае параллельный стабилизатор всего лишь защищает аккумулятор от перезаряда.

Рис. 1.
Рис. 1.

На рис. 1 приведена схема простого параллельного стабилизатора, предназначенного для заряда литиевых аккумуляторов.

Принцип его работы следующий. Пока выходное напряжение меньше установленного делителем R1R2, ток через стабилизатор DA1 не протекает, следовательно транзисторы VT1 и VT2 закрыты и выходное напряжение определяется только уровнем заряда аккумулятора. Соответственно весь зарядный ток протекает через аккумулятор.

По мере того, как напряжение на аккумуляторе приближается к напряжению стабилизации, DA1 начинает открываться, через резистор R3 начинает протекать ток, который приводит к постепенному открыванию транзистора VT1 и, следовательно VT2. Соответственно часть входного тока начинает проходить уже не через аккумулятор, а через транзистор VT2.

Чем ближе напряжение аккумулятора к напряжению стабилизации, тем большая часть входного тока уходит через транзистор VT2, пока, наконец, ток через аккумулятор не прекратится.

Резистор R5 выполняет двойную задачу: 1) он защищает аккумулятор в случае пробоя транзистора VT2, и 2) служит для определения окончания заряда.

Дело в том, что определить окончание заряда, измеряя выходное напряжение нельзя — уловить сотые и тысячные доли вольта крайне трудно. А вот падение напряжения на резисторе R5 точно покажет момент, когда бо́льшая часть входного тока будет протекать через транзистор VT2, тем самым показывая момент окончания заряда. Для контроля можно использовать, например, оптрон DA2, как указано на схеме.

Настройка стабилизатора крайне проста: при отключенной нагрузке установить требуемое выходное напряжение резистором R1.

Конденсатор С1 служит для устранения возможного самовозбуждения микросхемы TL431.

Данная схема не годится для "быстрого" заряда аккумуляторов, т. к. ток заряда начинает ограничиваться только по достижения напряжения на аккумуляторе 4,2 В, поэтому заряжать аккумулятор большим током нельзя. Однако, ее можно усложнить, обеспечив частичное открывание транзистора VT2 по достижении напряжения аккумулятора 3,9...4,0 В.