Найти в Дзене
КАЛИБР

UD M42 -пистолет-пулемет Свебилиуса

Довольно часто на протяжении всей истории огнестрельного оружия оружейники предпринимали попытки создать «двухмагазинные» ружья и некоторые из них смогли добиться определенного успеха на этом поприще. Но даже так необходимо понимать, что пистолеты-пулеметы первой половины двадцатого века были очень простым в плане конструкции и относительно недорогими, в связи с чем появление второго магазина буквально перекрывало кислород ещё в самом начале, так как конструкция на выходе получалась не только сложной и недешевой, но и очень капризной. Однако попытки создать нечто уникальное и по-настоящему качественное не прекратились. И тут на арену вышел Карл Густав Свебилиус. Этот мастер является обладателем сразу нескольких десятков оружейных патентов. В далеком 1932 году он стал возглавлять компанию «High Standard». В процессе Карл решил выделить самому себе бюджет, чтобы заняться отработкой собственной конструкции. В соответствии с планом, Свебилиус хотел таким образом заинтересовать армию. Поэт

Довольно часто на протяжении всей истории огнестрельного оружия оружейники предпринимали попытки создать «двухмагазинные» ружья и некоторые из них смогли добиться определенного успеха на этом поприще. Но даже так необходимо понимать, что пистолеты-пулеметы первой половины двадцатого века были очень простым в плане конструкции и относительно недорогими, в связи с чем появление второго магазина буквально перекрывало кислород ещё в самом начале, так как конструкция на выходе получалась не только сложной и недешевой, но и очень капризной.

Однако попытки создать нечто уникальное и по-настоящему качественное не прекратились. И тут на арену вышел Карл Густав Свебилиус. Этот мастер является обладателем сразу нескольких десятков оружейных патентов. В далеком 1932 году он стал возглавлять компанию «High Standard».

В процессе Карл решил выделить самому себе бюджет, чтобы заняться отработкой собственной конструкции. В соответствии с планом, Свебилиус хотел таким образом заинтересовать армию. Поэтому в начале он пошел более легким путем и сделал чертеж обычного пистолета-пулемета, для которого его коллега Джон Оусли создал особый магазин, который отличался спаркой «валетом».

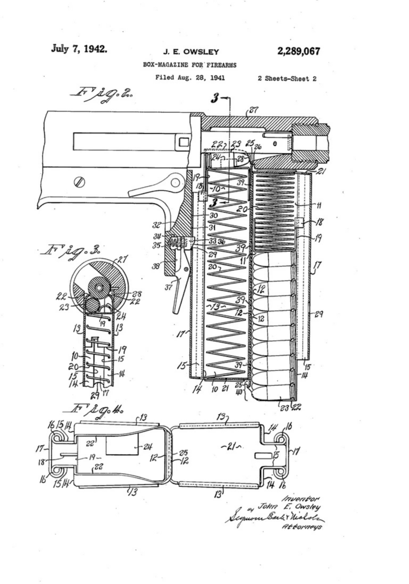
Отметим, что конструкция магазина выделялась на фоне конкурентов, даже если не обращать внимание на спарку. Этот элемент крепился к пистолету-пулемету в специальной направляющей за счет штампованной «рельсы». При этом спереди магазин оставался полностью открытым.

-2

Интересный факт: осенью 1940 года Свебилиус подал патентную заявку где магазин был одиночным. Зато весной 1941 года он подал вторую заявку, в этот раз на спарку Оусли. Первый прототип пистолета испытывали на Абердинском полигоне также в 40-м году.

Каждый из двух магазинов мог вместить в себя до двадцати пяти патронов в калибре 9 миллиметров или двадцать патронов в калибре.45 ACP. Однако после всех испытаний версия, рассчитанная под .45 ACP, в итоге так и осталась прототипом. До наших дней дошли лишь несколько штучных образцов.

Очевидно, что Оусли показал стандартный подход «кабинетного» оружейного мастера при создании оружия. Любой человек, которому хотя бы раз приходилось падать с пистолетом или ружьем в грязь или песок с ходу бы понял, что «нерабочая» половина магазина в сложившейся ситуации превращается в самую нижнюю точку оружия, в связи с чем грязь начинает попадать прямиком в патроны.

-3

Поэтому нет ничего удивительного в том, что представители американской армии не заинтересовалась пистолетом-пулеметом. Однако эксперты всё равно обратили внимание на великолепную кучность стрельбы, особенно если сравнивать предложенную модель с «Томпсоном» или STEN от британского производителя. Особое внимание также было уделено простоте разборки оружия.

Очень сильно представителей армии волновал вопрос стоимости. Очевидно, что генералы желали получить в своё распоряжение более дешевый аналог «Томпсона». Однако новинка Свебилиуса так или иначе требовала значительный объем обработки металла. В пистолете штампованными оказались лишь магазины. Кроме того, в соответствии с контрактом по семь с половиной долларов из стоимости каждого пистолета должны были выплачивать компании High Standard. Однако в UD сложно было отыскать филантропов, поэтому сумму роялти в итоге приплюсовали к итоговой стоимости.

Представленный пистолет-пулемет отличался рукоятью затвора, которая оставалась неподвижной в ходе стрельбы. Таким образом удалось избежать добавления постоянно открытой прорези под этот элемент. Сама стрельба осуществлялась с открытого затвора. В процессе тщательно подпружиненный ударник выталкивался поверх зеркала лишь в конце наката, в то время как особый рычаг начинал упираться в ствольную коробку. Дополнительно чтобы ускорить смену магазинов, производитель решил добавить в конструкцию автоматическую затворную задержку.

-4

Покупателя на пистолеты-пулеметы в итоге удалось найти в Голландии. Правительство этой страны решило заказать сразу пятнадцать тысяч единиц для своих колоний. Есть еще версия, по которой похожий заказ оформила Дания, но достоверных сведений по этому поводу нет.

Больше интересных статей и новостей в приложении Оружейник онлайн, присоединяйтесь к приложению https://orujeinik.ru/, впереди много интересного.
Хобби
3,2 млн интересуются