Найти в Дзене
Меандр Радиолюбитель

Простой УНЧ на транзисторах Начинающим, выпуск №2.0 (часть первая)

Здравствуй друг, сегодня мы вместе приступим к сборке простого усилителя на транзисторах. В дальнейшем этот усилитель будет работать в составе радиоприёмников, а так же в других самодельных конструкциях.
Схема взята из книги
Мосягина В.В. "Юному радиолюбителю для прочтения с паяльником". (рисунок 1)

Рис. 1.
Рис. 1.

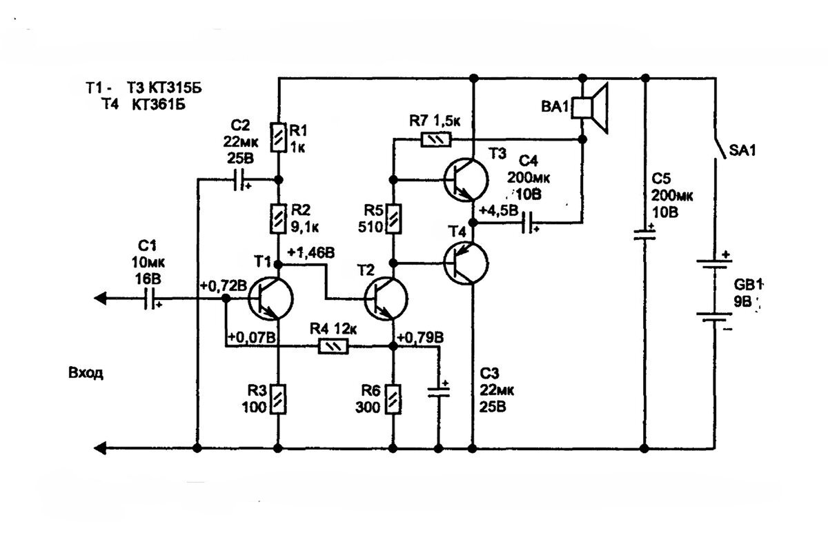
На рисунке 2 представлена принципиальная схема, при первом взгляде кажется, что она очень сложная, однако это впечатление весьма обманчиво!

Рис.2. Принципиальная схема.
Рис.2. Принципиальная схема.

Достаточно взглянуть на печатную плату усилителя и сразу же становится понятно, что при наличии печатной платы, схема вовсе не сложная и собирается буквально за пару часов!

Рис. 3. Эскиз печатной платы.
Рис. 3. Эскиз печатной платы.

Размер платы 47Х32мм, ниже приведен чертеж платы для современных резисторов с расстоянием между ножками 7,5мм, а так же для конденсаторов наиболее доступных в старой импортной аппаратуре.

Рис. 4. Чертёж печатной платы под современные резисторы и конденсаторы.
Рис. 4. Чертёж печатной платы под современные резисторы и конденсаторы.

Файл печатной платы можно скачать по этой ссылке.

Далее приведу описание из оригинальной книги.

-5

А теперь ступай подбирать нужные детали и изготавливать плату, как её изготавливать, подробно показано в приведённом ниже видео-ролике.

Я тоже иду паять. Завтра-послезавтра встретимся на том же месте и будем включать, проверять и настраивать! Удачи и до скорого!