Добавить в корзинуПозвонить
Найти в Дзене
Naked Science

Теперь точно не потеряешь: Apple запатентовала зарядку для AirPods, которую можно носить на теле

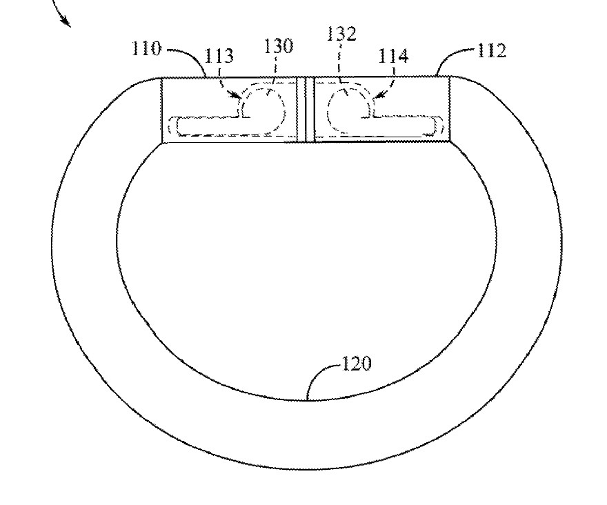
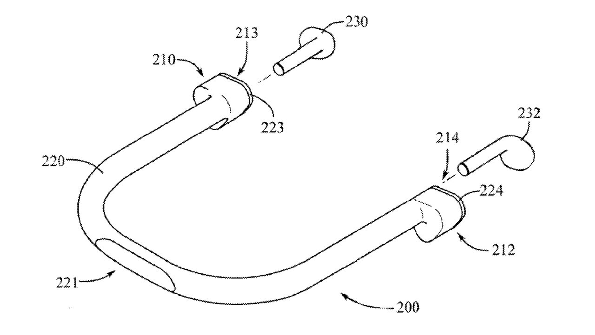
Технологический гигант Apple получил новый патент, описывающий блок питания для беспроводных наушников AirPods в виде ожерелья, браслета или ключницы. Новый патент содержит несколько различных вариантов мобильного и способного к деформации кейса для беспроводных наушников. Он представлен в виде U-образного чехла: пользователь помещает туда AirPods и застегивает устройство в кольцо.

Технологический гигант Apple получил новый патент, описывающий блок питания для беспроводных наушников AirPods в виде ожерелья, браслета или ключницы.

   Новый кейс для беспроводных наушников AirPods / ©dailymail
Новый кейс для беспроводных наушников AirPods / ©dailymail

Новый патент содержит несколько различных вариантов мобильного и способного к деформации кейса для беспроводных наушников. Он представлен в виде U-образного чехла: пользователь помещает туда AirPods и застегивает устройство в кольцо.