Найти в Дзене

Жидкофазный крекинг Бартона

Следующим на временной шкале крекинг-процессом после парофазного крекинга Гринстрита, стал жидкофазный процесс предложенный американским изобретателем Вильямом М. Бартоном 3 июля 1912 года. Патент 1049667 "Manufacture of gasolene" ("Производство бензина") был выдан 07.01.1913 г. В качестве задачи для своего изобретения Бартон ставил обеспечение способа обработки высокотемпературного остатка переработки нефтей парафиновой группы путем перегонки и конденсации его паров, в результате чего полученный продукт с низкими температурами кипения должен был принадлежать к парафиновому ряду, избегая превращения в продукты, относящиеся к этиленовому ряду. Цель достигалась путем повышения температуры кипения жидкого остатка и усиления теплового воздействия на него во время перегонки путем поддержания обратного давления на указанную жидкость паров, образующихся из нее при перегонке, а также поддержания самих паров под давлением на протяжении всего их выхода из перегонного куба через конденсатор и во

Следующим на временной шкале крекинг-процессом после парофазного крекинга Гринстрита, стал жидкофазный процесс предложенный американским изобретателем Вильямом М. Бартоном 3 июля 1912 года.

Патент 1049667 "Manufacture of gasolene" ("Производство бензина") был выдан 07.01.1913 г.

В качестве задачи для своего изобретения Бартон ставил обеспечение способа обработки высокотемпературного остатка переработки нефтей парафиновой группы путем перегонки и конденсации его паров, в результате чего полученный продукт с низкими температурами кипения должен был принадлежать к парафиновому ряду, избегая превращения в продукты, относящиеся к этиленовому ряду.

Цель достигалась путем повышения температуры кипения жидкого остатка и усиления теплового воздействия на него во время перегонки путем поддержания обратного давления на указанную жидкость паров, образующихся из нее при перегонке, а также поддержания самих паров под давлением на протяжении всего их выхода из перегонного куба через конденсатор и во время конденсации.

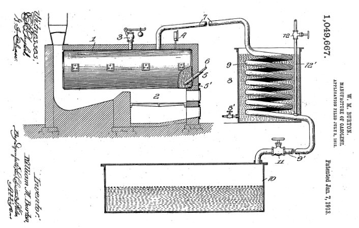
Схема процесса Бартона из патента 1049667 от 07.01.1913 г.
Схема процесса Бартона из патента 1049667 от 07.01.1913 г.

Сущность процесса заключалась в следующем:

1. Похожий на котел резервуар 1 для жидкого остатка, подлежащего обработке, располагается над топочной камерой 2 и снабжен:

  • предохранительным клапаном 3 для сброса избыточного давления в резервуаре;
  • манометром 4;
  • датчиком температуры 5.

2. Предпочтительной конструкцией датчика температуры является показанная трубка 5', проходящая вертикально в резервуар через его боковое днище, герметичная на внутреннем конце и предусматривающая:

  • возможность извлечения термометра 6 через его наружный открытый конец;
  • погружение термометра 6 в содержимое трубки под воздействием тепла в резервуаре.

3. Датчик температуры 6 может быть ртутным или, предпочтительно, масляным.

4. Трубопровод 7 проходит от верхней части резервуара и отклоняется от него вверх, чтобы вызвать обратный приток в него неиспарившихся порций жидкости к конденсатору 8, корпус которого, как показано, снабжен нижним отводным краном 8'.

5. Змеевик-конденсатор 9 разряжается на своем нижнем конце через удлинитель любой требуемой длины в приемник 10 для продуктов конденсации.

6. В этой трубе и, таким образом, за выпускным концом змеевика находится запорный клапан 11.

7. Желательным является оборудование змеевика предохранительным клапаном 12, показанным на верхнем конце трубы 12', поднимающейся от нижнего конца змеевика через верх из резервуара-конденсатора для сброса давления газа, которое может накапливаться в змеевике и препятствовать работе устройства.

8. Клапан 11 обычно закрыт.

9. При подаче нефтяного остатка, содержащегося в резервуаре 1, тепло из топочной камеры перегоняет летучие компоненты, и образующиеся пары проходят через трубопровод 7 и змеевик 9, где они конденсируются.

10. При плотно закрытом клапане 11, предотвращающем выход продуктов конденсации, пары дистилляции накапливаются и затем создают высокое давление, составляющее примерно от 4 до 5 атмосфер, на жидкость в резервуаре и повышающее температуру кипения с 500 - 600°F (260 - 315,56°С) до 750-800°F (398,89 - 426,67°С).

11. Повышенное давление паров в сочетании с выделяемым ими теплом значительно повышает конверсию высококипящих компонентов парафинового ряда в низкокипящие компоненты того же строения.

12. Клапан 11 время от времени открывается для отвода продуктов конденсации в приемник 10. Интервалы откачки должны быть достаточно частыми, чтобы избежать заполнения змеевика жидкостью для наиболее удовлетворительной работы устройства.

13. Полученный в результате бензин является продуктом, относящимся к парафиновому ряду, аналогично нефтяному остатку, из которого он был дистиллирован.

Годом позже Бартон дополнил своё изобретение патентом 1105961 полученным 04.08.1914 г., на основании заявки от 25.08.1913 г.

Новый патент включал в себя две принципиальные схемы:

1. На первой схеме был представлен блок перегонки нефтяных остатков под давлением, который дублировал патент 1049667 за исключением нумерации элементов:

Схема №1 процесса Бартона из патента 1105961 от 04.08.1914 г.
Схема №1 процесса Бартона из патента 1105961 от 04.08.1914 г.

2. На второй схеме был представлен блок атмосферной перегонки остатка термического крекинга под давлением:

Схема №2 процесса Бартона из патента 1105961 от 04.08.1914 г.
Схема №2 процесса Бартона из патента 1105961 от 04.08.1914 г.

Сущность усовершенствования заключалась в следующем:

1. Остаток извлекается из перегонного куба 3 и подается во второй перегонный куб 12, нагревается в печи 13 и снабжается паровым куполом 14, оснащенным предохранительным клапаном 15 давления и вакуумным предохранительным клапаном 16.

2. Труба 17 соединяет паровой купол со змеевиком-конденсатором 18, выходящим из его нижнего конца через удлинитель 19 в приемник 20.

3. Содержимое перегонного куба выдерживают при атмосферном или приблизительно атмосферном давлении в нем, подвергая воздействию тепла из печи 13.

4. Для дистилляции летучих компонентов указанного содержимого, которые отводятся по трубе 17 и конденсируются в конденсаторе, а продукты конденсации накапливаются в виде желтоватой жидкости в приемнике 20.

5. Эта процедура продолжается до тех пор, пока первоначальное содержимое перегонного куба 12 не будет доведено до состояния сухости, при этом дистиллят, накопленный в приемнике 20, составляет около 95% от загрузки перегонного куба 12.

6. Жидкость, образующуюся при конденсации в приемнике 20, извлекают оттуда и вводят в перегонный куб 3 или в другой подобный ему для раздельной обработки, и там подвергают термическому крекингу под давлением.

7. Полученный дистиллят представляет собой продукт с низкой температурой кипения, относящийся к парафиновому ряду, аналогично нефтяному остатку, из которого он был получен.

Процесс жидкофазного крекинга Бартона занимал третье место в США по популярности, а количество действующих установок в начале 30-х годов двадцатого века составляло 17 единиц.

Если статья была вам интересной и полезной, ставьте лайк, а если хотите ежедневно получать новые статьи и узнавать больше о нефтепереработке, то подписывайтесь на канал.