Добавить в корзинуПозвонить
Найти в Дзене
4pda.to

Apple Watch с гибким дисплеем показали на патентном эскизе

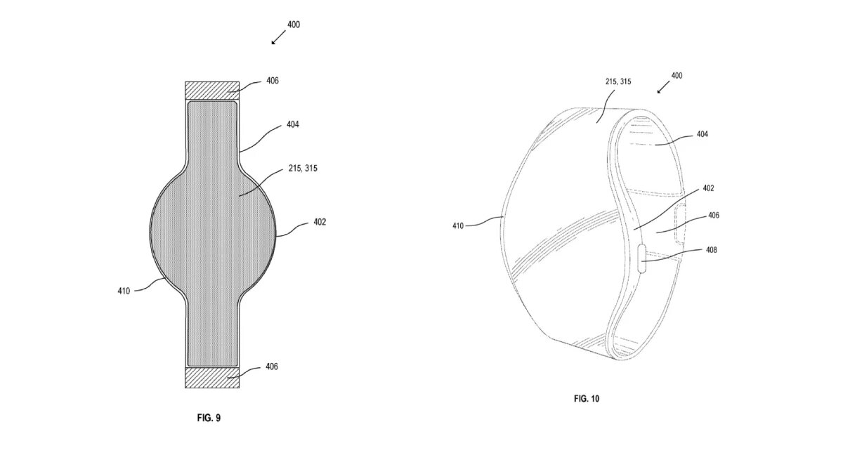
В сети засветился патент Apple, описывающий новую модель умных часов с оригинальной конструкцией. Они оснащены гибким экраном, который занимает не только практически всю фронтальную поверхность гаджета, но и частично «заползает» на его браслет. Согласно опубликованной документации, фрагменты ремешка часов сверху и снизу прикрыты гибкой матрицей и представляют собой часть дисплея, который в итоге оборачивается вокруг запястья пользователя. Каких-либо подробностей о функциональности такого решения патент не раскрывает — он посвящён только конструкции аксессуара. Пока неясно, планирует ли Apple выпустить подобные часы, или просто защищает свою интеллектуальную собственность. Ранее отраслевые инсайдеры сообщали, что компания также намерена выпустить MacBook с гибким экраном.
   Apple Watch с гибким дисплеем показали на патентном эскизе
Apple Watch с гибким дисплеем показали на патентном эскизе

В сети засветился патент Apple, описывающий новую модель умных часов с оригинальной конструкцией. Они оснащены гибким экраном, который занимает не только практически всю фронтальную поверхность гаджета, но и частично «заползает» на его браслет.

-2

Согласно опубликованной документации, фрагменты ремешка часов сверху и снизу прикрыты гибкой матрицей и представляют собой часть дисплея, который в итоге оборачивается вокруг запястья пользователя. Каких-либо подробностей о функциональности такого решения патент не раскрывает — он посвящён только конструкции аксессуара.

Пока неясно, планирует ли Apple выпустить подобные часы, или просто защищает свою интеллектуальную собственность. Ранее отраслевые инсайдеры сообщали, что компания также намерена выпустить MacBook с гибким экраном.

Apple
384,5 тыс интересуются