Добавить в корзинуПозвонить
Найти в Дзене
TehnoPanda

Счетчики холодной воды комбинированные КВМ

Счетчики холодной воды комбинированные КВМ с диаметрами условного прохода 50,80 мм, изготовленные по ТУ4213-016-03219029-2004, предназначены для измерения объемов питьевой воды по СанПиН 2.1.4.1074, протекающей в трубопроводах систем холодного водоснабжения при температуре от 5 до 50°С и давлении до 1,6 МПа (16 бар). Материал технического паспорта взят из Базы данных промышленного оборудования "АИСТ" . В базе данных АИСТ содержится свыше 85 тысяч технических паспортов. При нынешнем темпе размещения в Яндекс.Дзен этого хватит на 170 лет.. ТУ4213-016-3219029-2004 Назначение Счетчики холодной воды комбинированные предназначены для измерения объемов питьевой воды, протекающей в трубопроводах систем холодного водоснабжения с расширенным диапазоном измерения расходов при температуре от 5 до 50°С и давлении до 1,6 МПа (16 кгс/см²). Основные сведения об изделии изготовлены по ТУ4213-016-3219029-2004 Счетчики соответствуют требованиям ГОСТ Р 50601, ГОСТ Р 50193.1.2.3. и международным стандартам

Счетчики холодной воды комбинированные КВМ с диаметрами условного прохода 50,80 мм, изготовленные по ТУ4213-016-03219029-2004, предназначены для измерения объемов питьевой воды по СанПиН 2.1.4.1074, протекающей в трубопроводах систем холодного водоснабжения при температуре от 5 до 50°С и давлении до 1,6 МПа (16 бар).

Материал технического паспорта взят из Базы данных промышленного оборудования "АИСТ" .

В базе данных АИСТ содержится свыше 85 тысяч технических паспортов. При нынешнем темпе размещения в Яндекс.Дзен этого хватит на 170 лет..

ТУ4213-016-3219029-2004

Назначение

Счетчики холодной воды комбинированные предназначены для измерения объемов питьевой воды, протекающей в трубопроводах систем холодного водоснабжения с расширенным диапазоном измерения расходов при температуре от 5 до 50°С и давлении до 1,6 МПа (16 кгс/см²).

Основные сведения об изделии

изготовлены по ТУ4213-016-3219029-2004

Счетчики соответствуют требованиям ГОСТ Р 50601, ГОСТ Р 50193.1.2.3. и международным стандартам ISO 4064,ISO 7858.1.2.3.

Основные преимущества

· Малые значения расходов Qmin, Qt и порога чувствительности

· Возможность дополнительной комплектации датчиками для дистанционной передачи импульсов.

· Полный срок службы не менее 12 лет.

-2

СЧЕТЧИКИ ХОЛОДНОЙ ВОДЫ КОМБИНИРОВАННЫЕ КВМ

ПАСПОРТ

8454.00.00.00 ПС

1 ОБЩИЕ УКАЗАНИЯ

Для правильного заполнения и ведения паспорта при эксплуатации и ремонте счетчиков, обслуживающий персонал должен выполнять следующие требования:

  • ознакомиться внимательно с данным паспортом;
  • паспорт должен находиться со счетчиком или у ответственного лица;
  • не допускаются записи карандашом, смывающимися чернилами и подчистки;
  • неправильная запись должна быть аккуратно зачеркнута и рядом записана новая, которую заверяет ответственное лицо;
  • после подписи проставлять фамилию и инициалы ответственного лица (вместо подписи допускается проставлять личный штамп исполнителя).

2 ОСНОВНЫЕ СВЕДЕНИЯ ОБ ИЗДЕЛИИ

Счетчики холодной воды комбинированные КВМ с диаметрами условного прохода 50,80 мм (в дальнейшем счетчики), изготовленные по ТУ4213-016-03219029-2004, предназначены для измерения объемов питьевой воды по СанПиН 2.1.4.1074, протекающей в трубопроводах систем холодного водоснабжения при температуре от 5 до 50°С и давлении до 1,6 МПа (16 бар).

Счетчики соответствуют требованиям ГОСТ Р 50601, ГОСТ Р 50193.1.2.3. и международным стандартам ISO 4064,ISO 7858.1.2.3.

Индикаторные устройства основного и байпасного счетчиков могут дополнительно комплектоваться датчиком (магнитоуправляемый герметизированный контакт, далее - "геркон") для дистанционной (телемеханической) передачи низкочастотных импульсов с передаточным коэффициентом (ценой импульса) 1,10,100 и 1000 литров, который указывается в разделе 14 паспорта.

Индикаторные устройства основного и байпасного счетчиков показывают только часть общего измеренного объема. Для определения общего объема, показания обоих индикаторных устройств необходимо суммировать.

Счетчики могут комплектоваться различными типами индикаторных устройств в зависимости от требований потребителя:

  • стандартным, представляющим собой механический редуктор с роликовыми и стрелочными индикаторами;
  • типа Encoder для дистанционного снятия показаний с помощью устройства Touch Reader в случае установки счетчика в труднодоступных помещениях;
  • типа «гибрид», когда в стандартное индикаторное устройство добавлена электронная плата для дистанционной передачи информации по интерфейсу M-Bus;
  • электронным, представляющим собой полностью электронное индикаторное устройство для дистанционной передачи информации по интерфейсу M-Bus, с жидкокристаллическим дисплеем, на который можно вывести различную информацию (расход, направление потока, номер счетчика, текущую дату, время и т.д.)

Счетчики по устойчивости к воздействию температуры и влажности окружающего воздуха соответствуют климатическому исполнению УХЛ категории размещения 4.2 по ГОСТ 15150, а поставляемые на экспорт, соответствуют климатическому исполнению ТВ категории размещения 3 по ГОСТ 15150.

3 ОСНОВНЫЕ ТЕХНИЧЕСКИЕ ДАННЫЕ

3.1 Основные параметры счетчиков соответствуют указанным в таблице 1.

Таблица 1

-3

Примечания:

1. При закрытии переключающего устройства:

  • прекращается вращение стрелочных указателей индикаторного устройства основного (турбинного счётчика);
  • резко увеличивается частота вращения сигнальной звёздочки байпасного (крыльчатого) счётчика.

При открытии переключающего устройства:

  • включается в работу основной (турбинный) счётчик и начинается вращение стрелочных указателей его индикаторного устройства;
  • резко уменьшается частота вращения сигнальной звёздочки байпасного (крыльчатого) счётчика

2. Под наибольшим расходом Q max понимается расход, при котором потеря давления на счётчике не превышает 0,1 МПа (1 бар), а длительность работы не более одного часа в сутки.

3. Под номинальным (эксплуатационным) расходом Qn понимается расход, при котором счетчик может работать непрерывно (круглосуточно).

4. Под переходным расходом Qt понимается расход, при котором счетчик имеет погрешность 2%, а ниже которого 5%.

5. Под наименьшим Qmin расходом понимается расход, при котором счетчик имеет погрешность 5% и ниже которого погрешность не нормируется.

6. Под порогом чувствительности понимается расход, при котором звездочка (обтюратор) байпасного счётчика приходит в непрерывное вращение.

3.2 Параметры дистанционной передачи низкочастотных импульсов:

  • амплитуда напряжения импульсов 3...3,68 В;
  • полярность - положительная.

Указанные параметры обеспечиваются при наличии в цепи “геркона” внешнего источника питания постоянного тока напряжением 3,65 В.

3.3 Предел относительной погрешности счетчика при выпуске из производства, ремонта и после хранения:

  • 5% в диапазоне от Qmin до Qt
  • 2% в диапазоне от Qt до Qmax вкл.

4 КОМПЛЕКТНОСТЬ

4.1 Комплект поставки счетчика:

  • счетчик 1шт.
  • паспорт 1шт.
  • прокладка 2шт.
  • датчик импульсов по требованию заказчика
  • методика поверки по требованию заказчика
  • водомерный узел (приложение В) по требованию заказчика

5 РЕСУРС, СРОК СЛУЖБЫ

5.1 Средняя наработка на отказ, не менее, ч - 100000

5.2. Полный срок службы, не менее, лет- 12.

5.3. Указанные параметры действительны при соблюдении требований паспорта.

6 ОПИСАНИЕ И ПРИНЦИП РАБОТЫ

6.1 Счётчик состоит из корпуса и комбинированного измерительного преобразователя КИП. (Приложение А)

6.2 Корпус (2) счетчика представляет собой удлиненный цилиндр с фланцами по ГОСТ 12815 для присоединения к трубопроводу и горловиной для размещения в его внутренней полости комбинированного измерительного преобразователя КИП.

6.3 Комбинированный измерительный преобразователь КИП (1) состоит из: основного (турбинного) счетчика; байпасного (крыльчатого) счетчика; переключающего устройства. Все указанные устройства монтируются на общем фланце, который болтами (3) крепится к корпусу.

6.4 На измерительный преобразователь и индикаторные устройства навешиваются пломбы (4).

6.5 Переключающее устройство представляет собой подпружиненный клапан и в зависимости от величины расхода направляет поток через байпасный счетчик (при малых расходах) или через основной счетчик и байпасный счётчик (при больших расходах). Переключающее устройство работает автоматически без применения какого- либо источника энергии, кроме энергии измеряемой среды

6.6 Принцип действия комбинированного счетчика основан на измерении числа оборотов турбинки основного счетчика и крыльчатки байпасного счетчика, вращающихся пропорционально скорости потока. Масштабирующие редуктора индикаторных устройств обоих счетчиков приводят числа оборотов турбинки и крыльчатки к значению объема протекшей воды в м³.

7 РАЗМЕЩЕНИЕ, МОНТАЖ И ПОДГОТОВКА К ИСПОЛЬЗОВАНИЮ

7.1 Счетчики должны быть установлены в удобном для снятия показаний и обслуживания эксплуатационным персоналом месте, в помещении с искусственным или естественным освещением и температурой воздуха не ниже 5 С. Место установки счетчика должно гарантировать его эксплуатацию без возможных механических повреждений.

Внимание! Установка и эксплуатация счетчиков в затапливаемых помещениях не допускается.

7.2 Перед монтажом счетчика необходимо выполнить следующие требования:

  • счетчик извлечь из упаковочного ящика непосредственно перед его монтажом и проверить комплектность по настоящему паспорту;
  • произвести внешний осмотр и убедиться в целостности корпуса и индикаторных устройств;
  • проверить целостность пломб и наличие клейм на пломбах и в паспорте;

Внимание! Счетчик с пломбой без клейма, а также с просроченным клеймом к применению не допускается.

  • перед установкой счетчика трубопровод тщательно промыть, чтобы удалить из него окалину, песок и другие твердые частицы.

7.3 При монтаже счетчика необходимо соблюдать следующие требования:

  • установить счетчик в трубопровод без натягов, сжатий и перекосов так, чтобы стрелка на корпусе соответствовала направлению потока воды;
  • установить счетчик так, чтобы он всегда был заполнен водой;
  • счетчик может устанавливаться на горизонтальном, вертикальном или наклонном трубопроводе.

Внимание! Устанавливать счетчик на горизонтальном и наклонном трубопроводе шкалой вниз не допускается.

  • прямые участки до и после счетчика должны быть не менее 3 DN.

ВНИМАНИЕ! ПОСЛЕ УСТАНОВКИ СЧЕТЧИКА ПРОВЕДЕНИЕ СВАРОЧНЫХ РАБОТ НА ТРУБОПРОВОДЕ НЕ ДОПУСКАЕТСЯ.

7.4 Перед вводом счетчика в эксплуатацию проводят следующие мероприятия:

  • перед началом работы необходимо провести кратковременный пропуск воды через счетчик для удаления воздуха из системы;
  • проверить герметичность соединений при давлении 1,6 МПа (16 бар)

7.5 Для замены счетчика перед прямым участком трубы до счетчика и после прямого участка за ним ставятся вентили или шаровые краны. Вентиль, установленный после счетчика (по направлению потока), рекомендуется использовать для регулировки расхода воды.

7.6 Для обеспечения всех требований, предъявляемых к монтажу и правильной эксплуатации счетчика в соответствии с нормами, установленными СНиП 2.04.01, разработана водомерная вставка (приложение В).

7.7 В случае возможного появления в воде твердых частиц или окалины до счетчика необходимо устанавливать магнитный фильтр.

7.8 При установке (снятии) счетчика на трубопровод в настоящем паспорте должна быть сделана соответствующая запись в таблице 5 раздела 20.

7.9 При установке счётчика в трубопровод необходимо обратить особое внимание на правильность установки межфланцевых прокладок, отверстия которых должны совпадать с входными и выходными отверстиями счетчика.

Внимание! На каждом присоединительном фланце счётчика два отверстия резьбовые М16 (Рекомендуемые болты М16х60)

7.11 Монтаж и демонтаж счетчика производить с применением стропов, располагая их у переднего и заднего фланцев корпуса так, чтобы при натяжении стропы не касались индикаторных устройств счетчика.

8 ИСПОЛЬЗОВАНИЕ ПО НАЗНАЧЕНИЮ

8.1 При эксплуатации необходимо соблюдать следующие основные условия, обеспечивающие нормальную работу счетчика:

  • монтаж счетчика выполнить в соответствии с разделом 7 паспорта;
  • счетчик использовать для измерения объема воды на расходах, не превышающих номинального (эксплуатационного) Qn и не менее наименьшего Qmin в соответствии с требованиями СНиП 2.04.01;
  • во избежание повышенной вибрации и гидравлических ударов, заполнение счетчика водой следует проводить плавно;
  • не допускается превышения максимальной температуры воды 50°С;

Внимание! Не допускается эксплуатация счетчиков с просроченным сроком периодичности поверки.

9 ТЕХНИЧЕСКОЕ ОБСЛУЖИВАНИЕ

9.1 Наружные поверхности счетчика необходимо содержать в чистоте.

Внимание! Счетчик рекомендуется защищать от загрязнения полиэтиленовым пакетом и (или) упаковочным ящиком.

9.2 Периодически проводить внешний осмотр счетчика, проверяя при этом наличие утечек воды (появление капель) в местах соединения корпуса счетчика с трубопроводом. При появлении течи необходимо вызвать представителя организации, с которой заключен договор на обслуживание счетчика.

9.3 При заметном снижении расхода воды при постоянном напоре в трубопроводе необходимо промыть фильтр, установленный до счетчика (по ходу потока).

10 ТЕКУЩИЙ РЕМОНТ

10.1 Ремонт осуществляет изготовитель счетчиков или организация, имеющая договор с изготовителем и соответствующую лицензию Госстандарта России.

10.2 О всех ремонтах должна быть сделана запись в таблице 2 паспорта.

10.3 Возможные неисправности и методы их устранения приведены в таблице 2.

Таблица 2

-4

11 МЕРЫ БЕЗОПАСНОСТИ

11.1 Безопасность эксплуатации счетчика обеспечивается выполнением требований разделов7,8,9 настоящего паспорта.

11.2 Безопасность конструкции счетчика по ГОСТ 12.2.003.

11.3 При монтаже, эксплуатации и демонтаже необходимо соблюдать правила техники безопасности, установленные на объекте.

12 МЕТОДЫ И СРЕДСТВА ПОВЕРКИ

12.1 Поверка счетчика производится в соответствии с методикой поверки 8454.00.00 МП «Счетчики холодной воды комбинированные КВМ», разработанной и утвержденной ФГУП | ВНИИМС”.

12.2 При отсутствии значения коэффициента преобразования на шкале индикаторного устройства байпасного счетчика, для снятия показаний со счётчика с помощью оптоэлектронного узла съёма сигнала, его значение К=...........м³/имп

12.3. Периодичность поверки (межповерочный интервал)- 6 лет

12.4 При проведении периодической поверки и поверки после ремонта счетчика должна быть сделана соответствующая запись в таблице 3 раздела 18 паспорта.

13 ХРАНЕНИЕ И ТРАНСПОРТИРОВАНИЕ

13.1 Счетчик должен храниться в упаковке предприятия-изготовителя согласно условиям хранения 3 по ГОСТ 15150. Воздух в помещении, в котором хранится счетчик, не должен содержать корозионно-активных веществ.

13.2 Транспортирование счетчика должно соответствовать условиям 5 по ГОСТ 15150.

14 СВИДЕТЕЛЬСТВО О ПРИЕМКЕ

Счетчик холодной воды комбинированный КВМ-.....№ ........ с ценой импульсов основного ..... и байпасного..... индикаторных устройств соответствует ТУ 4213-016-03219029-2004 и признан годным к эксплуатации.

Штамп ОТК ______________ _______________

(Подпись/ Дата)

15 СВИДЕТЕЛЬСТВО О ПОВЕРКЕ

Счетчик холодной воды комбинированный КВМ-........ № ..... на основании результатов первичной государственной поверки, проведенной органами Госстандарта, признан годным и допущен к эксплуатации

Место оттиска ______________ __________

(клейма госповерителя) (Подпись/ Дата)

16 СВИДЕТЕЛЬСТВО ОБ УПАКОВЫВАНИИ

Счетчик холодной воды комбинированный КВМ-..... №...... упакован согласно требованиям, предусмотренным ТУ4213-016-03219029-2004.

Упаковку произвел ______________ __________

(Подпись Дата)

17 ГАРАНТИЙНЫЕ ОБЯЗАТЕЛЬСТВА

17.1 Изготовитель гарантирует соответствие счетчика требованиям ТУ 4213-016-03219029-2004 при соблюдении потребителем условий транспортирования, хранения, монтажа и эксплуатации.

17.2 Гарантийный срок эксплуатации счетчика 18 месяцев со дня ввода счетчика в эксплуатацию ,но не более 24 месяцев со дня изготовления.

Внимание! При отсутствии записи в таблице 5 раздела 20 паспорта о дате ввода в эксплуатацию счетчика, время эксплуатации исчисляется со дня приемки.

18 СВЕДЕНИЯ О ПЕРИОДИЧЕСКОЙ ПОВЕРКЕ И ПОВЕРКЕ ПОСЛЕ РЕМОНТА

Таблица 3

-5

19 СВЕДЕНИЯ О РЕКЛАМАЦИЯХ

19.1 Изготовитель не принимает рекламации, если счетчик вышел из строя по вине потребителя и несоблюдения условий, приведенных в разделах 7,8,9 настоящего паспорта, а также нарушении условий транспортирования и хранения.

19.2 Рекламации не принимаются без отметки в таблице 5 раздела 20 об установке и акта с указанием причины, по которой счетчик не допускается к дальнейшей эксплуатации.

19.3 Учет приведенных рекламаций в соответствии с таблицей 4

Таблица 4

-6

20. СВЕДЕНИЯ ОБ УСТАНОВКЕ (СНЯТИИ) СЧЁТЧИКА В ЭКСПЛУАТАЦИИ

Таблица 5

-7

Примечание- Запись показаний комбинированного счётчика см. раздел 2

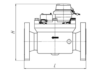
Приложение А

(обязательное)

ГАБАРИТНЫЕ, ПРИСОЕДИНИТЕЛЬНЫЕ РАЗМЕРЫ, КОНСТРУКЦИЯ СЧЕТЧИКА И МЕСТА ПЛОМБИРОВКИ

-8
-9

Приложение Б.

(обязательное)

ГРАФИК ПОТЕРИ ДАВЛЕНИЯ

-10

Приложение В.

(рекомендуемое)

СХЕМА ВОДОМЕРНОЙ ВСТАВКИ

-11
-12

1. Счетчик воды - 1шт.

2. Задвижка - 2шт.

3. Фильтр - 1шт.

4. Патрубок - 2шт.

5. Прокладка - 7шт.

_______________________________________________________________

Изготовитель: Завод Водоприбор, ООО

_______________________________________________________________

Материал технического паспорта взят из Базы данных промышленного оборудования "АИСТ".

В базе данных АИСТ содержится свыше 85 тысяч технических паспортов. При нынешнем темпе размещения в Яндекс.Дзен этого хватит на 170 лет..