Добавить в корзинуПозвонить
Найти в Дзене

Поломоечные машины: от первых образцов и до наших дней (часть 3)

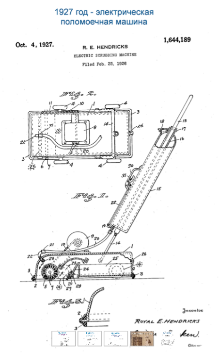
Следующий значимый прорыв произошел в 1926 г., когда американец Роял Хендрикс придумал электрическую поломоечную машину. В конструкции своей поломоечной машины Хендрикс применил 2 идеи, которые до сих пор используются в поломоечной технике: В следующие 20 лет, вплоть до окончания Второй мировой войны, поломоечная техника совсем не развивалась. Причина была простой: в военное время основное внимание было уделено армии и ее нуждам, поэтому клининг и оборудование для него отошли на второй план. Новые прорывы в 50-60-х годах К концу 40-х гг. война стала понемногу забываться, и люди вспомнили, что в их жизни есть место чистоте. И тут возникла новая проблема. Во время войны химики разработали много различных веществ для военных нужд, которые, в том числе, было возможно использовать и в мирное время. В частности, производителями профессиональных моющих средств на конвейер были поставлены новые разработки с улучшенными характеристиками, но в полной мере достижениями химии нельзя было восполь

Следующий значимый прорыв произошел в 1926 г., когда американец Роял Хендрикс придумал электрическую поломоечную машину. В конструкции своей поломоечной машины Хендрикс применил 2 идеи, которые до сих пор используются в поломоечной технике:

  1. Его агрегат был способен собирать грязную воду с помощью специального насоса. По сути, Хендрикс изобрел прообраз современной всасывающей балки. До создания его машины грязная вода либо сушилась специальными щетками на «поломойках», либо убиралась вручную. Применение всасывающей балки значительно ускорило уборку помещений и улучшило ее качество. Всасывающая балка - весьма капризный узел поломоечной машины, поэтому если она сломается, то вам может потребоваться ремонт поломоечной машины в Москве или Санкт-Петербурге.
  2. В машине Хендрикса впервые были использованы цилиндрические щетки, по-другому их называют валики или ролики. В отличие от дисковых, вращающихся перпендикулярно полу, цилиндрические щетки двигаются в плоскости, параллельной полу. Вследствие этого у таких щеток есть два сильных преимущества перед традиционными дисковыми: ролики лучше убирают рифленые и неровные поверхности, а также не разбрызгивают в стороны грязную воду на высоких оборотах вращения.

В следующие 20 лет, вплоть до окончания Второй мировой войны, поломоечная техника совсем не развивалась. Причина была простой: в военное время основное внимание было уделено армии и ее нуждам, поэтому клининг и оборудование для него отошли на второй план.

Новые прорывы в 50-60-х годах

К концу 40-х гг. война стала понемногу забываться, и люди вспомнили, что в их жизни есть место чистоте.

И тут возникла новая проблема. Во время войны химики разработали много различных веществ для военных нужд, которые, в том числе, было возможно использовать и в мирное время. В частности, производителями профессиональных моющих средств на конвейер были поставлены новые разработки с улучшенными характеристиками, но в полной мере достижениями химии нельзя было воспользоваться, потому что поломоечная техника застряла на идеях 20-х гг. и не соответствовала времени. А раз купить поломоечную технику, адекватную уровню моющих средств начала 50-х гг. было невозможно, перед производителями клинингового оборудования встала задача сделать ее. И они с этим справились.

В поломоечные машины были внедрены 3 ключевые инновации:

  1. В 1969 г. выпущена поломоечная техника, оснащенная 2 резервуарами: для чистой и для грязной воды.
  2. Производители отказались от натуральной щетины в щетках и падах и наладили продажу щеток и падов из полимерных материалов, что сыграло положительную роль для клинингового бизнеса тех лет. Во-первых, улучшилось качество уборки, во-вторых, увеличился срок службы щеток и падов для поломоечных машин, которые стали более устойчивыми к новым моющим средствам. В Азбуке уборки в продаже есть дисковые щетки и пады для поломоечных машин.
  3. Была увеличена скорость вращения щеток - до 375 оборотов в минуту. Максимумом до этого была скорость 175 оборотов в минуту. Причем оператор машины теперь мог самостоятельно настраивать скорость вращения в зависимости от текущей задачи по уборке.