Добавить в корзинуПозвонить
Найти в Дзене
TehnoPanda

Вантуз ВМТ

Вантуз ВМТ-100, изготовленный по ТУ 400-9-07-75, предназначен для автоматического удаления воздуха при его накоплении, а также для его автоматического впуска при образовании вакуума в системах холодного водоснабжения. Материал технического паспорта взят из Базы данных промышленного оборудования "АИСТ" . В базе данных АИСТ содержится свыше 85 тысяч технических паспортов. При нынешнем темпе размещения в Яндекс.Дзен этого хватит на 170 лет.. Применение Вантуз с диаметром условного прохода 100 мм. Предназначен для автоматического удаления воздуха из наивысших точек работающего трубопровода, а также для автоматического впуска воздуха в водопроводную сеть при образовании в ней вакуума, в системах холодного водоснабжения при давлении до 1,0 МПа (10 кгс/см²) и при температуре от 5 до 50°С. Основные сведения об изделии По устойчивости к воздействию температуры и влажности окружающего воздуха вантуз соответствует климатическому исполнению УХЛ категории размещения 3 ГОСТ 15150. Материалы Корпус:

Вантуз ВМТ-100, изготовленный по ТУ 400-9-07-75, предназначен для автоматического удаления воздуха при его накоплении, а также для его автоматического впуска при образовании вакуума в системах холодного водоснабжения.

Материал технического паспорта взят из Базы данных промышленного оборудования "АИСТ" .

В базе данных АИСТ содержится свыше 85 тысяч технических паспортов. При нынешнем темпе размещения в Яндекс.Дзен этого хватит на 170 лет..

Применение

Вантуз с диаметром условного прохода 100 мм. Предназначен для автоматического удаления воздуха из наивысших точек работающего трубопровода, а также для автоматического впуска воздуха в водопроводную сеть при образовании в ней вакуума, в системах холодного водоснабжения при давлении до 1,0 МПа (10 кгс/см²) и при температуре от 5 до 50°С.

Основные сведения об изделии

По устойчивости к воздействию температуры и влажности окружающего воздуха вантуз соответствует климатическому исполнению УХЛ категории размещения 3 ГОСТ 15150.

Материалы

Корпус: чугун марки СЧ18

-2
-3

ВАНТУЗ ВМТ-100

ПАСПОРТ 2748.00.00 ПС

1 ОБЩИЕ УКАЗАНИЯ

Для правильного заполнения и ведения паспорта при эксплуатации и ремонте вантузов обслуживающий персонал должен выполнять следующие требования:

  • ознакомиться внимательно с данным паспортом;
  • паспорт должен находиться у ответственного лица;
  • в паспорте не допускаются записи карандашом, смывающимися чернилами и подчистки;
  • неправильная запись должны быть аккуратно зачеркнута и рядом записана новая, которую заверяет ответственное лицо;
  • после подписи проставлять фамилию и инициалы ответственного лица (вместо подписи допускается проставлять личный штамп исполнителя).

2 ОСНОВНЫЕ СВЕДЕНИЯ ОБ ИЗДЕЛИИ

Вантуз ВМТ-100 (в дальнейшем - вантуз), изготовленный по ТУ 400-9-07-75, предназначен для автоматического удаления воздуха при его накоплении, а также для его автоматического впуска при образовании вакуума в системах холодного водоснабжения.

По устойчивости к воздействию температуры и влажности окружающего воздуха вантуз соответствует климатическому исполнению УХЛ категории размещения 3 ГОСТ 15150.

При заказе вантуза и в другой продукции, в которой он может быть применен, должно быть указано: Вантуз ВМТ-100 ТУ 400-9-07-75.

3 ОСНОВНЫЕ ТЕХНИЧЕСКИЕ ДАННЫЕ

-4

4 КОМПЛЕКТНОСТЬ

-5

5 ОПИСАНИЕ И ПРИНЦИП РАБОТЫ

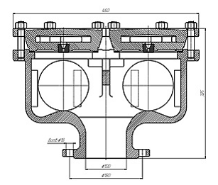
5.1 Вантуз состоит из чугунного корпуса (1), соединенного с чугунными крышками (2), в которые вставлены резиновые втулки (3), внутренний диаметр которых служит для выпуска воздуха. Внутри корпуса находятся полиэтиленовые шары (4).

5.2 При отсутствии воздуха в трубопроводе вода, находящаяся в корпусе вантуза под напором, поднимает шар и плотно прижимает его к отверстию втулки.

5.3 При скоплении воздуха в верхней части корпуса уровень воды понижается и вместе с водой опускается плавающий шар. Отверстие втулки открывается и воздух выходит наружу. По мере выхода скопившегося воздуха уровень воды вместе с шаром поднимается и отверстие втулки закрывается.

6 РАЗМЕЩЕНИЕ, МОНТАЖ И ПОДГОТОВКА К ИСПОЛЬЗОВАНИЮ

6.1 Вантузы должны быть установлены в удобном для обслуживания месте.

6.2 Перед монтажом вантуза необходимо выполнить следующие требования:

  • проверить комплектность поставки;
  • применять вантуз при отсутствии эксплуатационной документации не допускается;
  • произвести внешний осмотр, убедиться в целостности корпусных деталей;
  • проверить внутренние полости на предмет попадания посторонних предметов;

6.3 Вантуз на трубопроводе устанавливают вертикально в наивысших точках (перелома профиля) водопроводной сети на приварных патрубках.

6.4 Для обеспечения наиболее полного удаления воздуха из прямолинейных участков горизонтального водопровода вантуз необходимо устанавливать на патрубках-воздухосборниках.

6.5 При монтаже необходимо соблюдать следующие условия:

  • перед установкой трубопровод тщательно промыть, чтобы удалить из него загрязнения и посторонние тела;
  • закрепить надежно вантуз за корпус стропальными приспособлениями, исключающими срыв или кантование при подъеме или опускании;
  • стропальные приспособления не снимать и не ослаблять до закрепления вантуза в трубопроводе;
  • обратить внимание на правильную установку межфланцевой прокладки;
  • установить вантуз без натягов и перекосов, болтовые отверстия должны точно совпадать с отверстиями на фланце вантуза;

6.6 Присоединение вантуза к трубопроводу должно быть герметичным и выдерживать давление 1,0 МПа (10 кгс/см²).

6.7 При установке (снятии) вантуза на трубопровод в настоящем паспорте должна быть сделана соответствующая запись в таблице 4 раздела 16.

7 ИСПОЛЬЗОВАНИЕ ПО НАЗНАЧЕНИЮ

7.1 При эксплуатации необходимо соблюдать следующие основные условия, обеспечивающие нормальную работу:

  • монтаж вантуза выполнить в соответствии с разделом 6 паспорта;
  • использовать вантуз на рабочие параметры, превышающие указанные в разделе 3, не допускается;
  • пробное давление Рпр при опрессовке трубопровода не должно превышать 1,5 МПа (15 кгс/см²).

8 ТЕХНИЧЕСКОЕ ОБСЛУЖИВАНИЕ

8.1 При обслуживании вантузов во время эксплуатации необходимо соблюдать следующие условия:

  • производить техническое обслуживание при наличии давления среды в трубопроводе не допускается;
  • производить периодические осмотры и техническое освидетельствование в сроки, установленные правилами и нормами организации, эксплуатирующей трубопровод;
  • при осмотре проверить общее состояние вантуза, состояние крепежных соединений, герметичность уплотнения и прокладок фланцевых соединений;
  • производить обслуживание вантузов, установленных в подземных сооружениях, в которых возможно скопление вредных для дыхания или взрывоопасных газов, согласно правилам технической эксплуатации и техники безопасности организации, эксплуатирующей магистраль;
  • при появлении течи подтянуть соединения, если течь не прекращается заменить прокладки.

9 ТЕКУЩИЙ РЕМОНТ

9.1 О всех ремонтах должна быть сделана отметка в таблице 2 раздела 14 паспорта с указанием даты, причины выхода из строя и характера произведенного ремонта.

9.2 После ремонта вантузы подвергаются гидравлическим испытаниям в соответствии с техническими условиями.

9.3 Возможные неисправности и методы их устранения приведены в таблице 1.

Таблица 1

-6

10 МЕРЫ БЕЗОПАСНОСТИ

10.1 Безопасность эксплуатации вантузов обеспечивается выполнением требований разделов 6,7,8 настоящего паспорта.

10.2 Безопасность конструкции вантузов по ГОСТ 12.2.063.

10.3 Персонал, обслуживающий вантузы, должен пройти инструктаж по технике безопасности, быть ознакомлен с руководством по эксплуатации и обслуживанию на объекте, иметь индивидуальные средства защиты.

10.4 При монтаже, эксплуатации и демонтаже необходимо соблюдать правила техники безопасности, установленные на объекте.

11 ХРАНЕНИЕ И ТРАНСПОРТИРОВАНИЕ

11.1 Условия транспортирования и хранения вантузов 5 (ОЖЧ) по ГОСТ 15150.

11.2 Вантузы транспортируются всеми видами транспорта в соответствии с правилами перевозки грузов, действующих на данном виде транспорта.

11.3 При транспортировании вантузы должны находиться в вертикальном положении, присоединительным фланцем вниз, при этом установка на транспортные средства должна исключать возможность перемещения и падения.

Бросать вантузы не допускается.

11.4 При транспортировании к месту монтажа должна исключаться возможность загрязнения и попадания посторонних предметов во внутреннюю полость.

12 СВИДЕТЕЛЬСТВО О ПРИЕМКЕ

12.1 Вантуз ВМТ-100 соответствует ТУ 400-9-07-75 и признан годным для эксплуатации.

Штамп ОТК ____________ _______________

подпись дата

13 ГАРАНТИЙНЫЕ ОБЯЗАТЕЛЬСТВА

13.1 Изготовитель гарантирует соответствие вантуза требованиям технических условий при соблюдении условий транспортирования, хранения, монтажа и эксплуатации.

13.2 Гарантийный срок эксплуатации вантуза 12 месяцев со дня ввода в эксплуатацию, но не более 18 месяцев со дня изготовления.

14 СВЕДЕНИЯ О РЕМОНТАХ

Таблица 2

-7

15 СВЕДЕНИЯ О РЕКЛАМАЦИЯХ

15.1 Изготовитель не принимает рекламации, если вантуз вышел из строя по вине потребителя и несоблюдения указаний, приведенных в разделах 6,7,8 настоящего паспорта, а также нарушений условий транспортирования и хранения.

15.2 Рекламации не принимаются без отметки в таблице 4 раздела 16 об установке и акта с указанием причины, по которой вантуз не пригоден к дальнейшей эксплуатации.

15.3 Учет предъявленных рекламаций в соответствии с таблицей 3.

Таблица 3

-8

16 СВЕДЕНИЯ ОБ УСТАНОВКЕ (СНЯТИИ) ВАНТУЗА В ЭКСПЛУАТАЦИИ

Таблица 4

-9

Внимание! При отсутствии записи в таблице 4 раздела 16 паспорта время эксплуатации вантуза исчисляется со дня приемки.

ПРИЛОЖЕНИЕ А

(обязательное)

ГАБАРИТНЫЕ И ПРИСОЕДИНИТЕЛЬНЫЕ РАЗМЕРЫ.

КОНСТРУКЦИЯ ВАНТУЗА

-10

_______________________________________________________________

Изготовитель: Завод Водоприбор, ООО

_______________________________________________________________

Материал технического паспорта взят из Базы данных промышленного оборудования "АИСТ".

В базе данных АИСТ содержится свыше 85 тысяч технических паспортов. При нынешнем темпе размещения в Яндекс.Дзен этого хватит на 170 лет..