Добавить в корзинуПозвонить
Найти в Дзене
Старый радио любитель

90 лет тому ... Вещательный приемник "ЭКЛ-4", 1933 г.

Сто лет тому назад начался выпуск радиовещательного приемника "ЭКЛ-4", а в 1934 году - его вариант "ЭКЛ-34". Выпускал этот приемник Ленинградский радиозавод им. Казицкого. Схемы этих приемников почти идентичны. Это регенеративные приемники прямого усиления по схеме 1-V-2 (один каскад усиления высокой частоты, каскад регенеративного детектора и два каскада усиления низкой частоты). Отличие схемы ЭКЛ-34 заключается в возможности подключения КВ-конвертора. Приемники работали в диапазоне средних и длинных волн (250 - 750 м и 750 - 1900 м). При этом они обладали хорошей избирательностью благодаря наличию на входе приемника двухконтурного перестраиваемого полосового фильтра, а также резонансного УВЧ, перестраиваемого одной ручкой вместе с входным фильтром. Для перестройки используется трехсекционный конденсатор переменной емкости. Две левые секции, перестраивающие входной фильтр, имеют возможность независимой подстройки отдельными для каждой секции рычажками, выведенных на лицевую панель при

Сто лет тому назад начался выпуск радиовещательного приемника "ЭКЛ-4", а в 1934 году - его вариант "ЭКЛ-34". Выпускал этот приемник Ленинградский радиозавод им. Казицкого.

Рис. 1.
Рис. 1.

Схемы этих приемников почти идентичны.

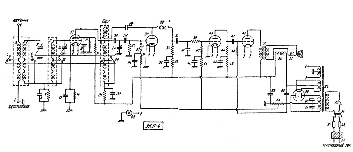
Рис. 2. Схема приемника ЭКЛ-4.
Рис. 2. Схема приемника ЭКЛ-4.
Рис. 3. Схема приемника ЭКЛ-34.
Рис. 3. Схема приемника ЭКЛ-34.

Это регенеративные приемники прямого усиления по схеме 1-V-2 (один каскад усиления высокой частоты, каскад регенеративного детектора и два каскада усиления низкой частоты). Отличие схемы ЭКЛ-34 заключается в возможности подключения КВ-конвертора.

Приемники работали в диапазоне средних и длинных волн (250 - 750 м и 750 - 1900 м). При этом они обладали хорошей избирательностью благодаря наличию на входе приемника двухконтурного перестраиваемого полосового фильтра, а также резонансного УВЧ, перестраиваемого одной ручкой вместе с входным фильтром. Для перестройки используется трехсекционный конденсатор переменной емкости.

Рис. 4. Конструкция трехсекционного КПЕ.
Рис. 4. Конструкция трехсекционного КПЕ.

Две левые секции, перестраивающие входной фильтр, имеют возможность независимой подстройки отдельными для каждой секции рычажками, выведенных на лицевую панель приемника. Эти рычажки меняют положение не роторных, а статорных пластин КПЕ в небольшом диапазоне. Основная ручка настройки находится на оси, перпендикулярной оси вращения роторов КПЕ. Какой тип передачи, червячная или зубчатая, а может и фрикционная, используется мне найти не удалось.

Други отличием этих двух схем является способ регулирования положительной обратной связи. В ЭКЛ-4 она регулируется путем изменения положения катушки ПОС, а в ЭКЛ-34 - с помощью потенциометра с заземленным движком, включенного параллельно этой катушке.

Регулировка усиления проводится путем изменения смещения на сетке первой лампы УНЧ, а при подключении адаптера для проигрывания пластинок - и на сетке регенеративного детектора, который в этом случае работает как предварительный УНЧ.

Громкоговоритель имеет катушку подмагничивания, которая также используется в качестве дросселя в фильтре питания анодных цепей. Выпрямитель - ламповый, двухполупериодный.

Монтаж выполнен на металлическом шасси.

Рис. 5.
Рис. 5.

Обратите внимание на экранированные катушки.

Приемник смонтирован в деревянном корпусе. Выключатель питания - на левой боковой стороне.

Рис. 6.
Рис. 6.

Корпус приемников был двух видов: у ЭКЛ-4 и ранних выпусков ЭКЛ-34 - как на рис. 6. У более поздних выпусков ЭКЛ-34 корпус был попроще (рис. 7)

Рис. 7. (с сайта http://rw6ase.narod.ru)
Рис. 7. (с сайта http://rw6ase.narod.ru)
Рис. 8. Шильдик приемника ЭКЛ-34.(с сайта http://rw6ase.narod.ru)
Рис. 8. Шильдик приемника ЭКЛ-34.(с сайта http://rw6ase.narod.ru)

Чувствительность и избирательность зависят от глубины ПОС и при ее минимальной глубине составляли - 1,5...2 мВ/м и 10 дБ, а при максимальной - 80 мкВ и 36 дБ. А ведь это близко к показателям приемников I класса 70-х : чувствительность— 100—150 мкВ; избирательность 46 дБ !

Средняя выходная мощность усилителя низкой частоты приемников - около 0,8 Вт. Потребляемая мощность от электросети 50 Вт

Всем Здоровья и успехов!