Добавить в корзинуПозвонить
Найти в Дзене

ГАЗ-24 "Волга". РЕГУЛЯТОР НАПРЯЖЕНИЯ. РЕМОНТ.

Ремонт и регулировка регулятора напряжения должны производиться квалифицированным электриком в мастерской. Необходимо иметь испытательный стенд Э-211 или изготовить стенд, оборудованный электродвигателем для вращения ротора генератора Г250-Н1 с плавным изменением частоты вращения до 3 000 об/мин, аккумуляторную батарею, реостат (ламповый или проволочный) для создания нагрузки до 40 А и прибор для проверки полупроводниковых приборов. Схема простейшего стенда для проверки регулятора напряжения показано на рис. 1. Для проверки подать напряжение выключателем 5 и плавно увеличить частоту вращения генератора до 3 000 об/мин. Затем включить нагрузку выключателем 6 и реостатом 3 создать нагрузку от 5 до 25 А по амперметру 7. Напряжение, регулируемое регулятором, будет показывать вольтметр 8. Если при проверке на стенде оказалось, что регулятор напряжения даёт завышенное или заниженное напряжение, то необходимо подбором сопротивления 1 (см. рис. 2) добиться регулируемого напряжения

Ремонт и регулировка регулятора напряжения должны производиться квалифицированным электриком в мастерской. Необходимо иметь испытательный стенд Э-211 или изготовить стенд, оборудованный электродвигателем для вращения ротора генератора Г250-Н1 с плавным изменением частоты вращения до 3 000 об/мин, аккумуляторную батарею, реостат (ламповый или проволочный) для создания нагрузки до 40 А и прибор для проверки полупроводниковых приборов.

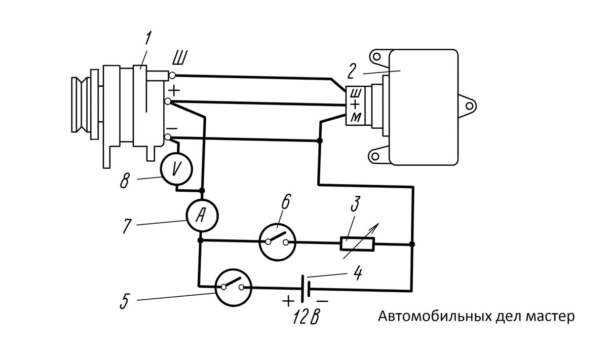
Схема простейшего стенда для проверки регулятора напряжения показано на рис. 1.

Рис. 1. Схема проверки регулятора напряжения: 1 - генератор; 2 - регулятор напряжения; 3 - рестарт; 4 - аккумуляторная батарея; 5 и 6 - выключатели; 7 - амперметр; 8 - вольтметр.
Рис. 1. Схема проверки регулятора напряжения: 1 - генератор; 2 - регулятор напряжения; 3 - рестарт; 4 - аккумуляторная батарея; 5 и 6 - выключатели; 7 - амперметр; 8 - вольтметр.

Для проверки подать напряжение выключателем 5 и плавно увеличить частоту вращения генератора до 3 000 об/мин. Затем включить нагрузку выключателем 6 и реостатом 3 создать нагрузку от 5 до 25 А по амперметру 7. Напряжение, регулируемое регулятором, будет показывать вольтметр 8.

Если при проверке на стенде оказалось, что регулятор напряжения даёт завышенное или заниженное напряжение, то необходимо подбором сопротивления 1 (см. рис. 2) добиться регулируемого напряжения в пределах 13,8 - 14,5 В.

Рис. 2. Схема регулятора напряжения: 1 - регулировочное сопротивление МЛТ 0,5 Вт, 510 - 2,2 кОм; 2 - сопротивление МЛТ 0,5 Вт, 300 Ом; 3 - стабилитрон Д814-А; 4 - сопротивление МЛТ 0,5 Вт, 300 Ом; 5 - транзистор П302; 6 - транзистор П214-В; 7 - диод КД202-Г; 8 - сопротивление 17 Ом (МЛТ 0,5 Вт, 51 Ом, 3 шт. параллельно); 9 - транзистор П217; 10 - диод КД202-В; 11 - включатель зажигания; 12 - амперметр; 13 - аккумуляторная батарея; 14 - генератор; 15 - обмотки возбуждения; 16 - обмотка статора; 17 - выпрямительный блок; 18 - штекерный разъём; 19 - сопротивление МЛТ 1 Вт, 220 Ом; 20 - диод КД202-В; 21 - сопротивление 27 Ом (МЛТ 2 Вт, 82 Ом, 3 шт. параллельно); 22 - сопротивление МЛТ 1 Вт, 470 Ом; 23 - сопротивление МЛТ 0,5 Вт, 3 кОм; 24 - дроссель; 25 - термосопротивление ММТ 1 Вт, 1 - 3 кОм; 26 - сопротивление МЛТ 0,5 Вт, 390 Ом; 27 - сопротивление МЛТ 0,5 Вт, 100 Ом.
Рис. 2. Схема регулятора напряжения: 1 - регулировочное сопротивление МЛТ 0,5 Вт, 510 - 2,2 кОм; 2 - сопротивление МЛТ 0,5 Вт, 300 Ом; 3 - стабилитрон Д814-А; 4 - сопротивление МЛТ 0,5 Вт, 300 Ом; 5 - транзистор П302; 6 - транзистор П214-В; 7 - диод КД202-Г; 8 - сопротивление 17 Ом (МЛТ 0,5 Вт, 51 Ом, 3 шт. параллельно); 9 - транзистор П217; 10 - диод КД202-В; 11 - включатель зажигания; 12 - амперметр; 13 - аккумуляторная батарея; 14 - генератор; 15 - обмотки возбуждения; 16 - обмотка статора; 17 - выпрямительный блок; 18 - штекерный разъём; 19 - сопротивление МЛТ 1 Вт, 220 Ом; 20 - диод КД202-В; 21 - сопротивление 27 Ом (МЛТ 2 Вт, 82 Ом, 3 шт. параллельно); 22 - сопротивление МЛТ 1 Вт, 470 Ом; 23 - сопротивление МЛТ 0,5 Вт, 3 кОм; 24 - дроссель; 25 - термосопротивление ММТ 1 Вт, 1 - 3 кОм; 26 - сопротивление МЛТ 0,5 Вт, 390 Ом; 27 - сопротивление МЛТ 0,5 Вт, 100 Ом.

Если регулятор не обеспечивает нормального возбуждения генератора, то следует проверить величину падения напряжения в регуляторе напряжения при силе тока 3 А. Падение не должно превышать 2 В. Чрезмерное падение напряжения указывает на неисправность транзистора П217. Схема проверки указана на рис. 3. Перед замыканием цепи выключателем 2 реостат 5 должен иметь сопротивление 4 Ома. После установления тока 3 А по амперметру 6 замкнуть цепь вольтметра 4 выключателем 3. Вольтметр должен показывать напряжение не более 2 В.

   Рис. 3. Схема проверки падения напряжения в регуляторе напряжения: 1 - аккумуляторная батарея; 2 и 3 - выключатели; 4 - вольтметр; 5 - реостат; 6 - амперметр; 7 - регулятор напряжения.
Рис. 3. Схема проверки падения напряжения в регуляторе напряжения: 1 - аккумуляторная батарея; 2 и 3 - выключатели; 4 - вольтметр; 5 - реостат; 6 - амперметр; 7 - регулятор напряжения.

Если регулятор не регулирует напряжение генератора, то в первую очередь необходимо проверить исправность стабилитрона прибором типа «Тестер», а затем остальные полупроводниковые приборы. В случае, если регулятор не обеспечивает нормальное возбуждение генератора (в цепь обмотки возбуждения ток не поступает), в первую очередь необходимо проверить выходной транзистор П217 (П217В) и при необходимости остальные транзисторы. Неисправные полупроводниковые приборы подлежат замене.

Если регулятор неисправен, то прежде всего следует проверить надёжность электрических соединений и отсутствие механических повреждений деталей или монтажа. Неисправности устранить.