Найти в Дзене

Применение системы искусственного интеллекта в области анализа показателей аварийности

В современном мире требования к большинству технологических процессов повышаются, что требует применения различного рода решений, в том числе и применения систем искусственного интеллекта (ИИ). В рамках исследования рассмотрена возможность применения систем ИИ для оценки показателей аварийности, что позволяет оперативно принимать решения в рассматриваемой предметной области – области безопасности дорожного движения. При работе с показателями аварийности специалисту приходится тратить довольно много времени для установления основных мест совершения происшествий, определенных условий, в которых они произошли, что крайне необходимо при определении мероприятий, направленных на снижение дорожно-транспортных происшествий. Александр Новиков, заведующий кафедрой "Сервис и ремонт машин" ОГУ им. И.С. Тургенева Анастасия Шевцова, профессор кафедры "Эксплуатация и организация движения автотранспорта" БГТУ им. В.Г. Шухова Общедоступная база данных в России позволяет выполнить оценку показателей ава
Оглавление

В современном мире требования к большинству технологических процессов повышаются, что требует применения различного рода решений, в том числе и применения систем искусственного интеллекта (ИИ). В рамках исследования рассмотрена возможность применения систем ИИ для оценки показателей аварийности, что позволяет оперативно принимать решения в рассматриваемой предметной области – области безопасности дорожного движения. При работе с показателями аварийности специалисту приходится тратить довольно много времени для установления основных мест совершения происшествий, определенных условий, в которых они произошли, что крайне необходимо при определении мероприятий, направленных на снижение дорожно-транспортных происшествий.

Александр Новиков, заведующий кафедрой "Сервис и ремонт машин" ОГУ им. И.С. Тургенева
Анастасия Шевцова, профессор кафедры "Эксплуатация и организация движения автотранспорта" БГТУ им. В.Г. Шухова

Общедоступная база данных в России позволяет выполнить оценку показателей аварийности по стране, определить количество аварий вне городских и на городских участках, а также в определенный день недели, но оценить причины и условия в данном случае не представляется возможным. В таком случае требуется точечный анализ показателей аварийности, который подразумевает работу с каждым отдельным дорожно-транспортным происшествием. Такая работа является достаточно трудоемкой и занимает большое количество времени.

Следует отметить, что показатели аварийности в статистических базах данных представлены за долгосрочный период, что в целом позволяет оценить динамику изменения рассматриваемых показателей в стране и сделать вывод об эффективности принимаемых мер в области безопасности дорожного движения. На протяжении многих лет большое количество исследований в данной области базируется на данных показателях, в которых рассматриваются различные подходы к оценке как количества происшествий, так и пострадавших и раненных в них.

Анализ данных по ДТП

За период 2015–2021 гг. в России произошло 1 137 987 дорожно-транспортных происшествий. Сложившаяся мировая тенденция, направленная на стремление к нулевой смертности на дорогах, которая подробно описана в трудах [1–5], находит свое отражение в законодательных актах, направленных на повышение безопасности дорожного движения, что сказывается и на показателях аварийности, а именно на снижении уровня смертности в авариях.

В России за рассматриваемый период происходит планомерное снижение рассматриваемого показателя, что объясняется выполнением ряда работ, направленных на повышение безопасности дорожного движения, реализуемых сегодня [6–8].

Еще одним из основных показателей является количество происшествий в городе и за его пределами, эти данные также позволяют оценить, где происходит наибольшее количество аварий. Анализ показывает, что в России больше всего происшествий происходит в населенных пунктах, меньшее количество приходится на участки вне населенных пунктов. Несмотря на определенную разницу в разрешенных скоростях движения, в городах происходит больше всего происшествий. в России за аналогичный период в населенных пунктах произошло 853 183 происшествия, с учетом того, что общее количество составило 1 137 987, за пределами населенных пунктов – 284 803.

Описанные показатели позволяют оценить изменение ситуации по данным в статистических базах, но не позволяют оценить, например, уровень смертности на определенных участках или осуществить оценку причин и условий, влияющих на возникновение происшествий. В данном случае требуется применение систем искусственного интеллекта, которые позволят на основании имеющегося набора данных осуществить оценку ситуации.

Модель искусственного интеллекта для анализа показателей аварийности

Для возможности оценки условий возникновения происшествий в рамках исследования авторами предлагается разработать модель, которая на первоначальном этапе позволит оценить имеющиеся первичные данные. Следует отметить, что первичные данные – данные статистики аварийности позволяют ответить на ряд вопросов, касающихся эффективности мер, принятых для снижения этих показателей и повышения безопасности дорожного движения. Выполненный анализ показателей аварийности позволил установить два основных вида условий возникновения происшествий – в городах и за их пределами, что дает возможность на данном этапе классифицировать такой показатель, как условия возникновения.

Для дальнейшей оценки показателей аварийности предлагается принять за основу модель, позволяющую перевести имеющиеся данные в относительные показатели. Несмотря на имеющееся разнообразие математических моделей, большинство из них основывается на абсолютных значениях, но выполненный анализ аварийности показывает, что значения изменяются в довольно широком диапазоне, что не позволяет применить имеющиеся методы и модели. В таком случае для оценки изменения распределения рассматриваемых показателей в относительных величинах применяют различные вероятностные модели. В данном исследовании разработана математическая модель, основанная на определении вероятности наступления событий в статистическом смысле. в таком случае примем P(A) как вероятность возникновения происшествий в определенных условиях – городских и за их пределами в совокупности, равной 1, тогда пусть Р(а1) – вероятность возникновения происшествий в городе, а Р(а2) – вероятность возникновения происшествий за городом.

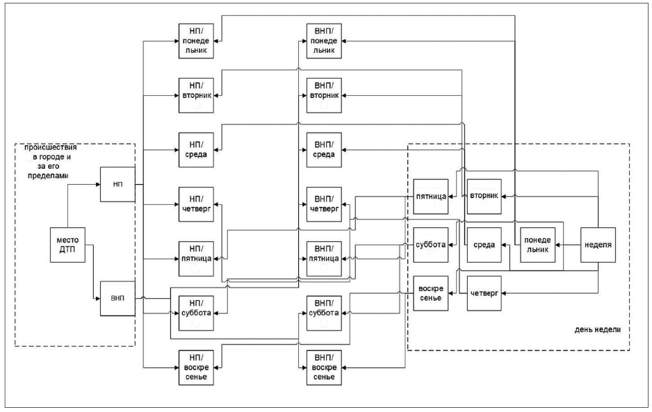
Выполненные расчеты позволяют сделать вывод о том, что на протяжении рассматриваемого долгосрочного периода (семь лет) распределение вероятности возникновения происшествий остается на неизменном уровне. Так, вероятность возникновения происшествий в городе находится выше показателя 0,7, что свидетельствует о том, что более 70% происшествий происходит именно в городах. Показатель "день недели" также позволяет сделать вывод о том, что в течение недели вероятность возникновения происшествий приблизительно одинаковая, причем вероятность возникновения происшествий с понедельника по четверг и в воскресенье одинаковая и составляет 14%, но в пятницу и субботу немного выше и составляет 15%. Полученные результаты вероятностей позволяют разработать схему работы модели, согласно которой возможно оценить вероятность возникновения происшествий в различных условиях в определенный день недели (рис. 1).

Рис. 1. Модель искусственного интеллекта для анализа показателей аварийности
Рис. 1. Модель искусственного интеллекта для анализа показателей аварийности

Совокупность приведенных зависимостей и их графическое представление являют собой основу модели, которая может быть применена для прогнозирования количества происшествий.

Эксперимент

Для специалиста установленная закономерность, которая имеет линейный характер, является необходимой, так как позволяет значительно сократить время обработки результатов. Основное требование при применении разработанной вероятностной модели – точность, с этой целью в рамках исследования на примере имеющихся данных за 2022 г. выполнен эксперимент по расчету числа происшествий в определенные дни недели с проверкой точности полученных результатов.

Таблица 1. Результаты оценки точности разработанной вероятностной модели
Таблица 1. Результаты оценки точности разработанной вероятностной модели

В используемой базе данных приведены показатели по количеству происшествий в определенный день недели за 2022 г., для того чтобы оценить эффективность вероятностной модели в рамках исследования, выполнена оценка точности разработанной модели. в табл. 1 представлены результаты данной процедуры. Зная общее количество происшествий в год, которое составило 126 705, было определено значение N2 с использованием:

-4

где N2 – рассчитанное количество происшествий с использованием вероятностной модели (зависимостей вероятности), ед.;

N – общее количество происшествий, полученное из статистических баз данных, ед.;

P(Вn) – значение средней вероятности, полученное по результату расчетов за рассматриваемый период, где n – количество вероятностей (n = 7).

Полученные результаты позволяют сделать вывод о том, что разработанная модель дает достаточно точные показатели. Таким образом, зная общее количество происшествий и переведя их в относительные величины, можно осуществить расчет необходимых данных. В качестве примера в рамках данного исследования было определено, что существует определенная зависимость между рассматриваемыми показателями в относительных величинах. Это может быть использовано в качестве разработанной модели с применением систем ИИ при обработке показателей аварийности как региона, так и страны в целом. Максимальная погрешность, полученная в результате расчетов, составила 2,42%, минимальная – 0,19%, что подтверждает эффективность разработанной вероятностной модели.

Относительная погрешность минимальна и не превышает показатель 0,02, что также подтверждает высокую степень точности разработанной вероятностной модели.

Заключение

Вопрос безопасности дорожного движения на протяжении многих лет продолжает оставаться актуальным. Для снижения числа погибших и раненных в происшествиях необходимо проведение большого количества мероприятий, но с целью их эффективного применения на первоначальном этапе требуется оценить причины и условия их возникновения. Большой набор первичных данных представлен в официальных статистических источниках – базах данных, но при работе с ними отсутствует возможность задания логики процесса исследования, здесь нужна разработка определенной модели с различными вариантами возможных поисковых запросов. Основу такой модели составляет математическое описание, позволяющее обеспечить определенную точность при анализе сформулированного запроса. В представленном исследовании разработана вероятностная модель возникновения происшествий в определенные дни недели в городской и загородной среде, что с учетом изменения таких показателей, как уровень автомобилизации и численность населения, позволяет осуществить прогноз изменения рассматриваемых показателей аварийности.

Для специалистов в рассматриваемой предметной области полученные результаты и их применение позволяют эффективно использовать комплекс мероприятий, направленных на снижение аварий, например ужесточение контроля на определенных участках дорог, расположенных в городе или за его пределами, в определенные, наиболее аварийные, дни.

Список литературы

  1. Зейналов Ф.Н. О применимости шведской программы повышения безопасности дорожного движения Vision Zero к российской действительности // Научный вестник Орловского юридического института МВД России имени В.В. Лукьянова. 2020. № 1 (82). С. 92–98.
  2. Шевцова А.Г. Динамика реализации программы Vision Zero в мировых странах // Мир транспорта и технологических машин. 2021. № 3 (74). С. 35–42.
  3. Капитанов В.Т., Чубуков А.Б., Сильянов В.В., Монина О.Ю. О факторах, определяющих дорожно-транспортную аварийность в регионах России // Наука и техника в дорожной отрасли. 2019. № 4 (90). С. 18–23.
  4. Блинкин М.Я., Решетова Е.М. Институциональные новации и математические модели Рубена Смида в свете современных российских транспортных реалий // Городские исследования и практики. 2019. Т. 4. № 1 (14). С. 43–63.
  5. Кравченко П.А., Олещенко Е.М. Системный подход в управлении безопасностью дорожного движения в Российской Федерации // Транспорт Российской Федерации. 2018. № 2 (75). С. 14–18.
  6. Старовойт Р.В. Безопасные и качественные автомобильные дороги -- главный проект федерального дорожного агентства // Транспортная стратегия – XXI век. 2016. № 34. С. 28–29.
  7. Аверин А.Н., Ляхов В.П., Керимов О.Ю., Разумец В.М. Решение проблемы безопасных и качественных автомобильных дорог в национальном проекте // Наука и образование: хозяйство и экономика; предпринимательство; право и управление. 2019. № 5 (108). С. 115–118.
  8. Соколов М. Транспортная стратегия России на период до 2030 года // Транспортная стратегия – XXI век. 2013. № 22. С. 7–9.

Оригинал публикации >>

Изображение от freepik