Найти в Дзене

Пистолет пулемёт Аймо Лахти - Suomi M/31

В 1920-1921 годах, когда Аймо Лахти служил мастером оружия в гражданской гвардии Риихимяки, он смог познакомиться с пистолетом пулемётом Bergmann MP 18. Будучи молодым человеком, который проявлял интерес к стрелковому оружию, он заметил, что в конструкции есть потенциал для улучшения, и был уверен, что сможет спроектировать ещё более эффективный пистолет пулемёт. Вскоре после этого, став оружейным мастером в Центральной Финляндии в Коула, Лахти начал реализовывать свою идею. В свободное время он разработал предварительные чертежи для нового образца оружия и заказал у кузнеца в Вииала изготовление модели, под патрон 7,65 мм Browning. К сожалению информации о первом прототипе пистолета пулемёта Лахти довольно мало, не сохранились ни чертежи ни сама модель, но можно предположить что патрон 7,65 мм Browning подходил не лучшим образом для подобного оружия, но в остальном прототип на удивление показал хорошие результаты надёжности. Когда работа достигла конкретных результатов, Лахти предста
Оглавление

Первый пистолет пулемёт Аймо Лахти - M/26

В 1920-1921 годах, когда Аймо Лахти служил мастером оружия в гражданской гвардии Риихимяки, он смог познакомиться с пистолетом пулемётом Bergmann MP 18. Будучи молодым человеком, который проявлял интерес к стрелковому оружию, он заметил, что в конструкции есть потенциал для улучшения, и был уверен, что сможет спроектировать ещё более эффективный пистолет пулемёт.

Охранник военного тюремного лагеря № 6 с пистолетом пулемётом Bergmann MP 18.
Охранник военного тюремного лагеря № 6 с пистолетом пулемётом Bergmann MP 18.

Вскоре после этого, став оружейным мастером в Центральной Финляндии в Коула, Лахти начал реализовывать свою идею. В свободное время он разработал предварительные чертежи для нового образца оружия и заказал у кузнеца в Вииала изготовление модели, под патрон 7,65 мм Browning. К сожалению информации о первом прототипе пистолета пулемёта Лахти довольно мало, не сохранились ни чертежи ни сама модель, но можно предположить что патрон 7,65 мм Browning подходил не лучшим образом для подобного оружия, но в остальном прототип на удивление показал хорошие результаты надёжности. Когда работа достигла конкретных результатов, Лахти представил свои планы офицерам полка. Некоторые из них заинтересовались проектом настолько, что были готовы поддержать его на добровольной основе.

Когда для продвижения дела потребовались деньги, Лахти с офицерами своего полка: капитаном В. Корпелой и лейтенантами Ю. Коскиненом и Л. Бойер-Спуфом, основали коммерческую компанию, которая получила название Konepistooliosakeyhtiö (что можно перевести как - “Компания по производству пистолетов пулемётов”) . Несмотря на то, что средства военных чиновников были весьма ограничены, скромный капитал, вложенный в проект, а также займы, полученные от знакомых, были использованы для оплаты производства серии образцов. Стоит отметить что самые первые образцы Лахти изготовила на собственные средства.

Несмотря на то что командиры Центрально-Финляндского полка, полковники В. Хэгглунд и Э. Хейнрихс, старались всеми силами добиться финансовой поддержки от государства для разработки, Министерство обороны не предоставило такой помощи. Весной 1923 года прототип был представлен на рассмотрение министерству, но и это не вызвало ожидаемого интереса со стороны официальных лиц.

Один из самых ранних протипов пистолета пулемёта Лахти 1922 года сделанного на заводе в Тампере.
Один из самых ранних протипов пистолета пулемёта Лахти 1922 года сделанного на заводе в Тампере.

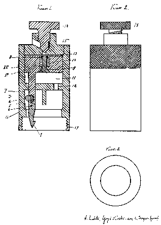
На этом этапе также была подана заявка на патент, который был выдан осенью 1923 года под номером 9886. Пистолет пулемёт был изготовлен на заводе Konepaja Leskinen & Kari в Тампере в 1922 году.

Патентный чертёж пистолета пулемёта M/22.
Патентный чертёж пистолета пулемёта M/22.

Автоматика первого опытного M/22 в целом была типичной для ранних пистолетов пулемётов и была основана на свободном затворе, но по сравнению с Bergmann MP 18, первый M/22 выглядел как грубая заготовка. Длина хода затвора была сравнительно короткой. Патрон на это раз был 7,65 мм Парабеллум, который всё больше получал распространение на территории Финляндии. Из за особенностей патрона, 36 зарядный однорядный магазин имел сильный изгиб, который позволял вести стрельбу из относительно низкого положения лёжа. Ложе было очень коротким, а деревянный приклад казался хрупким. Ствол с грубыми охлаждающими рёбрами крепился к корпусу с помощью винтовой фиксации, который фиксировал его внутри продольно перфорированного кожуха, подобная конструкция позволяло производить быструю замену ствола без инструментов. Справой стороны цилиндрической ствольной коробки располагалась рукоятка взведения. Рычаг предохранителя и переключателя огня находился на правой стороне ложа.

Затвор пистолета пулемёта M/22.
Затвор пистолета пулемёта M/22.

Несмотря на внешний вид, в этом оружии было достаточно передовых решений, которые можно было развивать дальше. В 1923-1924 годах Лахти с партнёрами доработал некоторые детали и изготовил несколько новых опытных образцов. В одном из них магазин был размещён на левой стороне оружия как у Bergmann MP 18.

Разрабатывая пистолет пулемёт, Аймо Лахти стремился сделать оружие максимально герметичным, используя в качестве образца пулемёт Максима, который во время Первой мировой войны оказался единственным эффективным оружием в условиях тумана или мелкого дождя после применения хлористого газа. Хлор блокировал винтовочные затворные механизмы всего через несколько минут воздействия, приводя их в полную неработоспособность, в свою очередь герметичные пулемёты Максима продолжали стрельбу, несмотря на то, что их внешняя поверхность краснела от последствий атаки.

Финский боец в противогазе, фото сделано 1 ноября 1939 года.
Финский боец в противогазе, фото сделано 1 ноября 1939 года.

Таким образом в 1924 году были внесены дополнительные изменения, так например в целях герметичности, а также исключения попадания внутрь ствольной коробки пыли и грязи через прорезь от выступающей сбоку рукоятки взведения отказались в пользу отдельной рукоятки взведения расположенной под затыльником ствольной коробки, сама рукоятка при стрельбе оставался неподвижным и таким образом не могла вызвать помех, цепляясь за внешние препятствия, например, за снаряжение солдата. Оставалось открытым только отверстие для выброса гильз, которое можно было легко защитить в случае газовой атаки различными способами, например портянкой или рукавицей. Одновременно с удлинением ствольной коробки в её затыльнике был сконструирован механизм регулировки темпа стрельбы на основе вакуумного торможения. На новые изобретения вскоре были поданы отдельные заявки на патенты.

Патентный чертёж механизма регулировки темпа стрельбы.
Патентный чертёж механизма регулировки темпа стрельбы.

Когда пистолет пулемёт был признан коммерчески жизнеспособным, компания Konepistooliosakeyhtiö начала планировать серийное производство и обратилась к компании Ab Tool Oy, расположенной в Хельсинки. Эта компания, работающая в металлургической отрасли, уже производила различную продукцию для армии, включая винтовочный патроны. На этом этапе в Konepistooliosakeyhtiö оставалось только трое партнёров: Лахти, Коскинен и Бойер-Спуф. Капитан Корпела выпал из группы, потому что без согласия остальных отправился торговать изобретением за границу.

Один из прототипов M/26 с другим прикладом и дополнительным фиксатором магазина.
Один из прототипов M/26 с другим прикладом и дополнительным фиксатором магазина.

С Ab Tool Oy был заключен производственный договор на изготовление ста единиц оружия. Затвор, затворная коробка и ключевые элементы спускового механизма должны быть изготовлены из шведской никелевой стали Bofors, а стволы были согласованы к закупке у английского завода B.S.A. дополнительным условием было четкое указание на то, что стволы должны быть из того же материала, что и у знаменитых пулемётов Льюиса.

Поздний прототип M/26 имеющий устройство регулировки темпа стрельбы и массивный приклад.
Поздний прототип M/26 имеющий устройство регулировки темпа стрельбы и массивный приклад.

В августе 1924 года Министерство артиллерийского управления настолько заинтересовалось пистолетом пулемётом, что заказало для испытаний четыре образца. В рамках соглашения о закупке, подписанного в октябре того же года, министерство разместило дополнительный заказ на одиннадцать новых образцов оружия с оборудованием. Таким образом, общее число выросло до пятнадцати. Тем же соглашением министерство также оставило за собой привилегию решить в течение трёх месяцев, будет ли патент выкуплен финским государством. Министерство так же пообещало приобрести для компании Konepistooliosakeyhtiö сто возвратных пружин для оружия из Швейцарии.

Серийный пистолет пулемёт M/26.
Серийный пистолет пулемёт M/26.

Всего в феврале 1925 года в инспекцию Министерство артиллерийского управления поступило тринадцать пистолетов пулемётов из заказанных партий. Серийные номера оружия находились в промежутке 1005-1034. В ходе проверки оружие работало хорошо, однако их магазины в ряде случаев оказались не взаимозаменяемыми, а древесина подверглась коррозии. Несмотря на это, оружие прошло проверку. По всей видимости два других пистолета пулемёта достались министерству ранее.

За прошедшие три месяца после утверждения серийного производства армия не выразило чётких намерений относительно изъятия прав на производство. По этой причине компания Konepistooliosakeyhtiö в июне 1925 года запросила у PLM (Патентное и Лицензионное Управление) информацию о возможности отправки пяти образцов оружия в Эстонию для испытаний. Министерство артиллерийского управления не увидело препятствий для экспорта, поскольку это оружие являлось частной собственностью компании.

В октябре 1925 года министерство сделало новый заказ: десять штук “пистолетов пулемётов Suomi”, укомплектованных двумя магазинами и запасными ударниками. Примечательно, что с этого момента в официальных документах начали использовать название “пистолет пулемёт Suomi”. Заказанная партия была принята на вооружение армии 11 сентября 1925 года.

Демонстрация M/26 на соревнованиях в гражданской гвардии.
Демонстрация M/26 на соревнованиях в гражданской гвардии.

Весной 1926 года, когда у Konepistooliosakeyhtiö появились на складе оставшиеся готовые образцы оружия из серии в 100 единиц, произведенные компанией Ab Tool Oy, они были вновь предложены Министерству обороны. В начале марта армия заказала 39 пистолетов пулемётов, 33 из которых прошли проверку в течение нескольких первых недель, а остальные - в июне. Серийные номера оружия варьировались от 1035 до 1105. Они, как и ранее приобретенные, были изготовлены под патрон 7,65×21 мм Параблелум.

Переноска M/26 через плечо.
Переноска M/26 через плечо.

В мае 1926 года Konepistooliosakeyhtiö выразила надежду, что Министерство обороны также выкупит четыре опытных образца, все еще находившиеся в распоряжении компании. Один из опытных пистолетов пулемётов имел особое устройство регулировки темпа стрельбы, в свою очередь другие модели были отличны. По предположения это были - модель с боковым креплением магазина изготовленная в 1922 году и модель с увеличенным затыльником ствольной коробки и другой защёлкой магазина. Также возможно среди этих моделей были пистолеты пулемёты под патрон 7,63×25 мм Маузер. Эти образцы также были выкуплены, несмотря на то, что оружие было непригодно для использования в полевых условиях из за конструктивных различий.

M/26 под патрон 7,63×25 мм Маузер.
M/26 под патрон 7,63×25 мм Маузер.

Из 100 пистолетов пулемётов, произведенные компанией Ab Tool Oy, более 60 были поставлены в финскую армию. Оставшиеся пистолеты пулемёты были распределены между Национальной гвардией и Пограничной службой, а некоторые экземпляры были доставлены в качестве рекламных образцов в зарубежные страны. По результатам армейской проверки можно сделать вывод, что не все M/26 из серии 100 образцов были хорошего качества. Возможно, некоторые из них были разобраны на запчасти еще на ранней стадии.

Партия из менее чем 100 пистолетов пулемётов на вооружение финской армии, различавшихся по конструкции и калибру, впоследствии оказались весьма сложными в обслуживании. Поэтому в 1930-е годы пистолеты пулемёты M/26 хранились на складах и использовались в качестве оружия для учебных целей. В годы войны это оружие находилось в основном в распоряжении тыловых войск и в обслуживании. Для фронтового использования они были слишком специфичны и устаревшими. По этой причине M/26 пережил войны 1939-1945 годов с очень небольшими потерями.

Часовой учебного центра снабжения в Мянття с M/26, фото сделано в январе 1942 года.
Часовой учебного центра снабжения в Мянття с M/26, фото сделано в январе 1942 года.

Характеристики M/26:

Патрон - 7,65 мм Парабеллум
Общая длина - 930 мм
Длина ствола - 350 мм
Масса - 4,180 кг
Темп стрельбы - 600 выс/мин
Боепитание - 36 зарядный коробчатый магазин

Доведение до совершенства - M/31

Хотя Аймо Лахти смог разработать серийно производимый пистолеты пулемёты при поддержки своей компании Konepistooliosakeyhtiö и продать их под названием M/26 армии, он всё же не считал это решение наилучшим возможным исходом. Некоторые детали оружия, особенно магазин и приклад, были слишком хрупкими и слабыми для постоянного использования. Также было замечено, что механизм подачи патронов нуждается в доработке для повышения надёжности.

Однако работы по проектированию и производству нового пулемёта в конце 1920-х годов настолько настолько тесно привязали Лахти к его фактическим служебным обязанностям, что переориентация на пистолеты пулемёты отложилась до начала 1930-х. К этому времени военные руководители также стали более благосклонно относиться к идее пистолетов пулемётов после начала реализации масштабных проектов по пулемётам и винтовкам.

Пулемёт LS/26 разработкой которого занимался Аймо Лахти в 1920-х.
Пулемёт LS/26 разработкой которого занимался Аймо Лахти в 1920-х.

Самым главным недостатком М/26 оказалась подача патронов, которые были чувствительны к повороту вбок. В ходе исследования Лахти пришёл к выводу, что одной из причин этого была неоправданно большая ширина передней защёлки. Увеличив длину рамки защёлки магазина M/26 по всей длине приёмника и соответственно уменьшив передний конец защёлки, удалось устранить пустое пространство, и максимально повысить надёжность подачи патрона.

В период с 1930 по 1931 год Лахти внёс в оружие ещё несколько усовершенствований. Так передняя часть кожуха ствола стала скошенной к дульному срезу, чтобы компенсировать подъём оружия при стрельбе очередями. Способ крепления ствола к ствольной коробке был изменён на защёлку вместо прежней винтовой фиксации. От возможности регулировки темпа стрельбы было решено отказаться (сюдя по патенту, крючок фиксатора затвора в устройстве мог быстро изнашиваться, а неопытный боец мог так же столкнуться со сложностями в обращение). Корпус стал более прочным и простым, а металлические детали были полностью переработаны, чтобы сделать оружие пригодным для массового производства.

Важной предпосылкой для новых решений стало появление 9 мм пистолетного патрона в качестве основы для разработки пистолета пулемёта, соответствующего мировым тенденциям. С 1932 года компания Sako начала выпуск отечественных 9 мм пистолетных патронов. Эти события открыли перед Лахти новые возможности для разработки более практичных типов магазинов, заменивших длинный и изогнутый магазин M/26.

Чтобы в оружие можно было вставить как коробчатый, так и барабанный магазин, приёмник сделали открытым по бокам (как у ППШ). На начальном этапе в качестве магазинов использовались коробчатые на 20 патронов и барабанные на 40 патронов, причём последний, по расчётам Лахти, при необходимости можно было переделать в двухканальный на 70 патронов.

Новая конструкция приёмника магазина.
Новая конструкция приёмника магазина.

Все эти нововведения Аймо Лахти разработал в основном в 1930 году, но они оставались лишь на бумаге. У Лахти не было возможности изготовить модель пистолета пулемёта по чертежам, поскольку это не входило в его служебные обязанности, а его тогдашнее место работы - Национальный оружейный завод - не могло удовлетворить его личный проект из за сильной загруженности и занятости. В свою очередь права собственности на M/26, который послужил основой для разработки нового пистолета пулемёта, также по прежнему находились под контролем компании Konepistooliosakeyhtiö.

Планировалось, что производство будет начато при поддержке Министерства артиллерийского управления, но у тех не оказалось необходимых производственных мощностей для начала серийного производства. Помимо этого, в армии того времени была в принципе тенденция недооценивать важность пистолетов пулемётов - как инструмента ведения войны в будущем.

После выполнения своего гражданского долга перед государством, Аймо Лахти обсудил возможности производства своего пистолета пулемёта с другими специалистами в области отечественного оружейного производства. Об этом узнал и тогдашний директор Tikkakoski Rauta ja Puuteollisuusosakehtiö, инженер Оскар Остма, который к тому времени уже заключил множество контрактов на производство частей оружия с финской армией. Зная Аймо Лахти и имея большую уверенность в его способностях оружейника, Отсман предложил изготовить прототип в Тиккакоски и приобрести для завода права на серийное производство оружия.

В результате сделки Tikkakoski Rauta ja Puuteollisuusosakehtiö получила исключительное право на производства пистолета пулемёта, который в будущем получит индекс M/31. Компенсация была распределена между Лахти и его партнёрами, после чего деятельность Konepistooliosakeyhtiö прекратилась, и компания была вскоре ликвидирована.

Первое публичное представление нового пистолета “Suomi”, разработанного компанией Tikkakosken Rauta ja Puuteollisuusosakeyhtiö, состоялось в Ювяскюля 13-14 сентября 1930 года в рамках соревнований по стрельбе среди охранного корпуса Финляндии. Множество участников, среди которых был и генерал Лаури Мальмберг, получили возможность испытать стрельбу из этого оружия. О новинке было довольно ярко сообщено в журнале Hakkapeliitta в сентябре 1930 года. Сообщалось, что оружие было спроектировано Аймо Лахти и изготовлено на заводе в Тиккакоски на основе идей инженера Оскара Остма.

Ранний прототип пистолета пулемёта Suomi на испытаниях во время чемпионата гражданской гвардии по стрельбе в Ювяскюля в 1930 году. Аймо Лахти стоит на коленях рядом со стрелком. За ситуацией на заднем плане наблюдает генерал Лаури Мальмберг с сигарой в руке.
Ранний прототип пистолета пулемёта Suomi на испытаниях во время чемпионата гражданской гвардии по стрельбе в Ювяскюля в 1930 году. Аймо Лахти стоит на коленях рядом со стрелком. За ситуацией на заднем плане наблюдает генерал Лаури Мальмберг с сигарой в руке.

На самом начальном этапе производства, в период с 1930 по 1932 годы, Лахти предлагал альтернативные решения для определенных частей оружия. В частности, была два варианта переводчика огня: один располагался справа, как у M/26, а другой находился перед спусковой скобой и частично внутри неё. Между спусковой скобой и магазином при желании можно было установить дополнительную рукоятку для левой руки. Фабрика в Тиккакоски, как и сам Лахти, на тот момент ещё не определила как должна выглядеть стандартная модель, и решение в значительной степени оставалось от пожеланий заказчиков, в первую очередь от армии Финляндии.

M/31 с переводчиком огня справой стороны.
M/31 с переводчиком огня справой стороны.

После довольно скептического на протяжении 1920-х годов отношения к принятию пистолета пулемёта в качестве штатного вооружения, Министерство артиллерийского управления решило в октябре 1931 года заказать серию из 100 новых пистолетов пулемётов. Калибр был выбран 9 мм, и в зависимости от этого и года приобретения оружие получило название - “Пистолет пулемёт 9,00 мм М/31”.

От дополнительной рукоятки между и сошек в армии решили отказаться. Переводчик огня решили сделать в виде “Г”-образного переключателя расположенного перед спусковой скобой. Кожух ствола имел 12 длинных охлаждающих отверстий, подобная консультация оказалась не удачной, так как отверстия были достаточно большие, чтобы солдат мог случайно обжечься об ствол. Элементы автоматики во многом были аналогичны M/26. Для пистолетов пулемётов планировалось использовать три разных типа магазинов: коробчатые на 20 патронов и барабанные на 40 и 70 патронов. Однако по заказу армии в серийное производство пошли только первые два.

Серийная модель M/31.
Серийная модель M/31.

Характеристики M/31:

Патрон - 9 мм Парабеллум Общая длина - 870 мм Длина ствола - 314 мм Масса - 4,720 кг Темп стрельбы - 900 выс/мин Боепитание - 20, 50 зарядный коробчатые и 40, 70 зарядные барабанные магазины

В 1931 году компания Tikkakosken Rauta ja Puuteollisuusosakeyhtiö подала заявку на патент на конструкцию M/31. Однако патент был выдан только в следующем году, по этой причине на всех M/31, выпускаемых на заводе, на правой стороне планки прицела нанесен знак “Патент 1932”. Решением общего собрания в 1933 году название Tikkakoski Rauta ja Puuteollisuusosakeyhtiö было официально изменено на более короткую форму Oy Tikkakoski Ab.

Патентные чертежи M/31.
Патентные чертежи M/31.

В период с 1940 по 1944 год компания Oy Tikkakoski Ab поставила финской армии следующее количество пистолетов пулемётов разных модификаций:

  • 1939 - 1172
  • 1940 - 3600
  • 1941 - 11475
  • 1942 - 13067
  • 1943 - 15933
  • 1944 - 11600
Армия всё таки заказала небольшую партию в количестве 10 штук M/31 с дополнительной передней рукояткой и сошками, частично дополнительная рукоятка была вызвано тем, что изначально солдатам на строго запрещалось браться за магазин, однако позже от этого требования отказались.
Армия всё таки заказала небольшую партию в количестве 10 штук M/31 с дополнительной передней рукояткой и сошками, частично дополнительная рукоятка была вызвано тем, что изначально солдатам на строго запрещалось браться за магазин, однако позже от этого требования отказались.

В общей сложности 56847 единиц оружия были поставлены гражданской гвардии и финской полиции. Тщательность, а также строгое соблюдение высоких требований к качеству при изготовлении деталей заложили основу последующей репутации пистолета пулемета Suomi как отличного оружия, ставшего известным во всём мире.

Производство M/31.
Производство M/31.

Модификации и опытные модели Suomi для финской армии

Летом 1939 года технический инспектор генерал майор У. Сарлин, ответственный за фортификационные работы на юго-восточной границе Финляндии, обратился к Министерству обороны с просьбой срочно принять меры по приобретению дополнительного стрелкового вооружения, позволяющего вести стрельбу из смотровых отверстий и смотровых куполов блиндажей.

Бойцы РККА осматриваю дот во время Зимней войны.
Бойцы РККА осматриваю дот во время Зимней войны.

В связи с фортификационными работами на перешейке стало очевидно, что использование стандартного пистолета пулемёта Suomi в фортификационных сооружениях довольно затруднительно или вообще невозможно. Конец кожуха ствола был таким широким, что не помещался в малые бойницы. Если бы M/31 вёл стрельбу в закрытом помещении, стрелок был бы ослеплён пламенем из дула, а дым мешал бы видимости.

Вскоре была разработана модификация со специальным кожухом, чья передняя часть была сплюснута, с пистолетной рукояткой вместо приклада, прицельные приспособления находились слева. В августе 1939 года компания Oy Tikkakoski Ab получила заказ на изготовление 5 бункерных Suomi без прикладов и 49 специальных кожухов ствола двух разных длин: 5 коротких длинной 385 мм и 44 длинных длинной 435 мм. До этого техническому инспектору был представлен прототип бункерного Suomi, изготовленный в единственном экземпляре. Завод в Тиккакоски пообещал доставить заказанное оружие через три недели, а отдельные кожухи ствола - через четыре.

Бункерные модификации Suomi с разными по длине кожухами ствола.
Бункерные модификации Suomi с разными по длине кожухами ствола.

1 сентября 1939 года бункерным пистолет пулемёт получил формальное одобрение и необходимые условия для дальнейших продвижений. В первой предсерийной партии бункерные пистолеты пулемёты, изготовленные ещё до Советско-финляндской войны, имеют серийную нумерации в диапазоне 5900-6400.

Прицельные приспособления смещены влево.
Прицельные приспособления смещены влево.

Именно для устранения дульной вспышки и образования дыма более длинная версия кожуха была позже признана более подходящей для использования и была выбрана в качестве основы для серийных закупок. Однако вскоре после этого началась Зимняя война, и ввод в эксплуатацию бункерных моделей был отодвинут на второй план более срочными проектами.

Пистолетная рукоятка в разобранном состоянии.
Пистолетная рукоятка в разобранном состоянии.

Министерство артиллерийского вооружения обратилось к фабрике в Тиккакоски с просьбой немедленно начать подготовку к производству 500 бункерных Suomi со сроком поставки не более четырёх месяцев. Вскоре после этого было заказано ещё 9500 новых пистолетов пулемётов Suomi , из которых 500 должны были быть собраны по образцу бункерной модификации.

Бойцы с захваченной противотанковой пушкой. У солдата на переднем плане в руках бункерная модификация M/31.
Бойцы с захваченной противотанковой пушкой. У солдата на переднем плане в руках бункерная модификация M/31.

Пистолет пулемёт M/31 - хорошо подходил для использования на танках, поскольку в его конструкции не было габаритных выступов. Однако деревянный винтовочный приклад был слишком большим для танкистов, поэтому было решено стандартную модель заменить на специальную танковую, в которой будет пистолетная рукоятка, подобной той, что используется в бункерной модификации.

Танковая модификация M/31.
Танковая модификация M/31.

Для возможности крепления оружия внутри танка, для танковой модификации был разработан специальный кожух ствола массой 1,330 кг (для сравнения у стандартного кожуха масса - 0,55 кг) и длинной - 3000 мм. При необходимости оружия можно было снять с танка и использовать как пехотное.

Сравнение стандартного и танкового кожуха ствола.
Сравнение стандартного и танкового кожуха ствола.

Согласно доступным источникам, до начала Зимней войны было изготовлено всего несколько десятков танковых Suomi. Судя по серийным номерам, основная часть производства пришлась на осень 1939 года. После Зимней войны, согласно проведённой в июне 1940 года инвентаризации оружия, в распоряжении финских вооружённых сил находился 31 танковый Suomi.

Хотя в ходе войны базовая модель M/31 хорошо себя зарекомендовали, конструкция имела потенциал для улучшения. Одним из недостатков пистолета пулемёта было поднимание ствола, вызванное отдачей, при стрельбе очередями.

В январе 1942 года Штаб армии сообщил о том, что в стволах M/31 замечено значительное количество расширений, вызванных снегом и другими посторонними предметами. Для предотвращения этого было предложено разработать дополнительное устройство для конца ствола, аналогичное тому, что используется в русских винтовках. Это должно было защитить ствол и в какой то степени предотвратить подъём ствола при стрельбе очередями.

В том же письме сообщалось, что в 13-й роте по ремонту оружия уже был изготовлен опытный образец такого типа дульного устройства, и в ходе испытательных стрельб были получены положительные результаты.

Проблема, однако, уже была известна в Главном штабе, и Министерство артиллерийского вооружения с пренебрежением отнеслось к предложенному решению от 13-й роты. В Министерстве уже был разработан другой, более закрытый тип дульного тормоза, и после его испытаний в полевых условиях был сделан заказ на партию из 1000 единиц дульных тормозов. В то же время было установлено, что главной причиной расширения стволов стали влажные патроны, которые могли оставлять пулю в стволе, не прерывая при этом работу оружия. В результате этого происходило накопление нескольких последующих пуль и возникновение разрыва ствола.

Дульный тормоз представлял собой цилиндр длиной 9,5 см и толщиной наружного диаметра около 28 мм. Дульный тормоз при креплении к кожуху М/31 увеличивал длину оружия на 5,5 см. Внутренний диаметр сокращался до 11 мм, а в верхней поверхности дульного тормоза было десять отверстий для сброса давления.

Дульный тормоз на Suomi.
Дульный тормоз на Suomi.

Когда дальнейшие испытания больше не были признаны необходимыми, начальник Министерства артиллерийского вооружения генерал майор В. Сванстрём утвердил 26 июня 1942 года предложение о том, чтобы с этого момента пистолеты пулемёты Финской армии постоянно оснащались дульными тормозом. Прежде всего, это решение должно было быть применено к новым M/31, для которых изменения в чертежах были переданы заводу в Тиккакоски. M/31 с дульным тормозом получили приписку “SJR”, что было сокращением от “suujarru”, то есть “дульный тормоз”.

M/31 с дульным тормозом.
M/31 с дульным тормозом.

В ходе войны было обнаружено, что за всё своё качество - M/31 расплачивается сложностью в производстве. Не смотря на это, потребность в Suomi в армии всё больше возрастала, а Oy Tikkakoski Ab планировала увеличивать экспорт своих пистолетов пулемётов.

Исходя из этих соображений началась разработка пистолета пулемёта Suomi M/42, чья главная задача была простота производства с сравние с базовой моделью. Разработка M/42 ни как официально армией не способствовалась.

Характерными чертами модели M/42 были приклад, оснащенный более угловатой пистолетной рукояткой. Спусковая скоба была значительно шире прежней, а переводчик огня был размещён на правой стороне корпуса. Целик и мушка были изменены, прицельная планка позволяла установить три различных дистанции стрельбы. Кожух ствола был изменён и получил 8 охлаждающих отверстий. Крепление корпуса и кожуха ствола было значительно упрощено. В новой модели кожух ствола поворачивался на место крепления до тех пор, пока пружинный зажим не зафиксирует его в правильном положении. Магазин и система подачи остались аналогичными тем, что использовались в M/31.

Упрощённая версия пистолета пулемёта Suomi - M/42
Упрощённая версия пистолета пулемёта Suomi - M/42

Несмотря на все нововведения в конструкции новой модели M/42 способные в значительной степени упростить производство, армия сочла слишком рискованным начинать производство новой модели. От чего M/42 так и остался прототипом. Всего армии было представлено три M/42: с дульным тормозом, со скошенным срезом ствола как у M/31, со стволом без среза.

M/42 в разборе.
M/42 в разборе.

В ходе войны в Финляндию поступала информация о том, что у немцев на вооружение начало поступать оружие стреляющее новым патроном, который представлял из себя укороченную версию винтовочного. Хотя в финское военное командование не посчитало нужным начать какие либо работы в этом направлении.

Немецкий автомат MKb 42 (W).
Немецкий автомат MKb 42 (W).

Тем не менее, информация дошла и до Аймо Лахти. Без официального поручения он в 1943 году начал разрабатывать новый патрон к новому оружию. Новый патрон был 9×35 мм, была даже заказана небольшая партия этих патронов.

Патрон 9×35 мм.
Патрон 9×35 мм.

В основу конструкции самого оружия лёг M/31. Барабан был выполнен путём переделки барабана пистолета пулемёта Thompson. Автоматика Suomi со свободным затвором оказалась не подходящей для более мощного патрона, поэтому Лахти спроектировал полусвободный затвор. Передний конец затвора сначала отступал под воздействием силы выстрела, а лишь на следующем этапе он увлекал за собой всю конструкцию затвора. Переводчик огня располагался справа ствольной коробки как у M/26 или M/42. Из за большей массы у оружия появились складные сошки.

AL 43 установленный на сошки.
AL 43 установленный на сошки.

На этапе проектирования Лахти использовал название “пулемёт m/AL-43” с использованием своих инициалов в название. Позже также появились названия: “пистолет пулемёт - пулемёт” и “пехотное универсальное оружие”.

AL 43 в неполной разборке и магазин с открытой крышкой.
AL 43 в неполной разборке и магазин с открытой крышкой.

Хотя Департамент вооружения и Государственный оружейный завод не принимали участия в проекте, Лахти примерно в начале 1943 года обсуждал вопрос в частном порядке с полковником Й. Стольстрёмом, который служил в Департаменте военной экономики. Плагаясь на этот контакт, он поручил чертежи своему чертёжнику Пуллиайсену, а также организовал изготовление опытного образца на заводе, от которого ранее он полностью скрывал проект. За переработки, вызванные работой над проектом, Лахти выплатил Пуллиайсену 7000 марок, однако прочие производственные расходы привели к дополнительным затратам для Государственного оружейного завода в размере примерно 525000 марок в 1943 году. Позже выяснилось, что в течение нескольких недель Лахти, используя служебный автомобиль и водителя, отсутствовал на заводе, представляя и продавая свою незавершённую разработку другим компаниям.

В декабре 1943 года Лахти обратился в штаб квартиру министерства обороны с просьбой получить разрешение на частное патентование AL 43 и продажу прав на его производство за границу какой либо отечественной компании, что послужило началом конфликта.

AL 43 со сложенным сошками.
AL 43 со сложенным сошками.

Так директор Государственного оружейного завода Й. Вальякка был в ярости от подобного предложения и потребовал от Лахти возмещения затрат от создания AL 43. Но из за связей Лахти среди военного командования, было решено что Министерство обороны получит право при необходимости воспользоваться изобретением Лахти, и в случае, если будет заключён контракт на производство оружия за границей, Лахти будет обязан возместить Государственному оружейному заводу понесённые расходы.

AL 43 в сравнении с патроном.
AL 43 в сравнении с патроном.

Возможность применения оружия в войсках рассматривалась ещё в декабре 1943 года. Однако начальник Департамента вооружения генерал-майор В. Сванстрём посчитал, что AL 43 из за особого типа патрона не будет принят на вооружение армии, по крайней мере в ближайшей перспективе.

После этого Лахти заключил контракт с Rauma’s Oy Partaterä, и компания приступила к подготовке серийного производства оружия. В целях маркетинга была напечатана брошюра, в которой для оружия использовалось название “Pk 43/L” и в них же были представлены характеристики.

На полигоне Мальми 13 октября 1943 года AL 43 с патроном 9×35 мм прошёл испытания на пробивную способность. Стрельба велась с расстояния 150 метров, а в качестве мишеней использовали сосновые доски размером 120×120 см и длинной в один дюйм (2,54 см), между досками имелось воздушное пространство в тот же один дюйм.

  • Винтовка M/91 - 40,1 см
  • Пистолет пулемёт M/31 - 13,2 см
  • Автомат AL 43 - 26,4 см

В 1944 году компания Oy Partaterä изготовила несколько опытных образцов оружия, а Oy Ammus инструменты для изготовления барабанных магазинов на 56 патронов. В то же время Лахти всё ещё планировал некоторые альтернативные решения, например, магазины на 60 и 70 патронов и изменение калибра на патрон 7,62х35 мм, который был даже изготовлен для испытаний. Для изменения калибра требуется только заменить ствол и немного конструкцию магазина.

Патрон 7,62×35 мм.
Патрон 7,62×35 мм.

Новые испытания прошли весной и зимой 1944 года. В одной из памяток говорится, что Oy Partaterekka уже располагает большим количеством инструментов, готовых к запуску серийного производства, от чего можно сделать вывод о больших планах Лахти на счёт AL 43.

Однако конце войны производство AL 43 было остановлено, и было построено лишь несколько единиц оружия: первый прототип от Государственного оружейного завода, остальные от Oy Partaterä. Последние известные модели по всей видимости были доделаны уже после окончания войны.

Характеристики AL 43:

Патрон - 9×35 мм/7,62×35 мм Общая длина - 990 мм Длина ствола - 314 мм Масса - 5,6 кг Темп стрельбы - 800 выс/мин Начальная скорость пули - 700 м/с Боепитание - 56 зарядные барабанные магазины

Огнемёт был эффективный инструментом введения войны, особенно в ближнем бою против огневых точек противника. Во время ВОЙНЫ финская армия располагали в основном закупленными в Италии Lanciafiamme Mod. 40 и советскими трофеями - РОКС.

Однако огнемётчику почти всегда грозила опасность быть застигнутым врасплох противником в боевой обстановке. Для самообороны огнемёт был медленным, неповоротливым и неэффективным на больших дистанциях, поэтому огнемётчика обычно защищала пара бойцов, вооруженных пистолетами пулемётами. Несмотря на это, потери всё равно оставались довольно большими.

Весной и зимой 1944 года сержант М. Куусинен, служивший в 1-м пехотном полку, разработал новое решение, при котором брандспойт огнемёта крепился к нижней части кожуха M/31, подобная конструкция позволяла иметь огнемётчику в руках всегда готовый к огню пистолет пулемёт Suomi.

Огнемёт M/44 закреплённый на M/31.
Огнемёт M/44 закреплённый на M/31.

Изобретение было представлено 4 апреля 1944 года в штабе в Миккели. Первоначальное отношение военного командования было вполне позитивным. Так 14 апреля сержант Куусинен получил приказ из своей части в штаб разработать детали устройства и помочь в составлении рабочих чертежей. На их основе впоследствии была выпущена небольшая серия огнемётов с монтажными деталями, подходящими для пистолета пулемёта M/31. Устройству было присвоено обозначение “огнемёт M/44”.

Испытания огнемёта M/44.
Испытания огнемёта M/44.

Испытания М/44 проводились как в исследовательских условиях, так и во фронтовых войсках. Штаб кавалерийской бригады, штаб танковой дивизии и 35-й инженерный батальон докладывали о своём опыте использования осенью и летом 1944 года. Отчёты показали, что устройство более чем пригодно для использования с пистолетом пулемётом M/31 SJR. Однако переднюю часть ремня для переноски предлагалось сделать из негорючего материала, поскольку кожаный или тканевый ремень пистолета пулемёта быстро сгорала и приходила в негодность из за нагрева.

M/44 в Хельсинкском музее.
M/44 в Хельсинкском музее.

В лучшем случае за одну заправку баков было получено 50-70 коротких очередей или 40-60 секунд непрерывного огня. Однако длина пламени составляла всего около 15 метров.

Иллюстрация M/44.
Иллюстрация M/44.

Однако в связи с окончанием войны и вмешательством Союзной контрольной комиссией в проекты по разработке вооружения работы были прерваны, и огнемет M/44 остался на стадии полевых испытаний.

Suomi за границей и лицензионное производство

Когда в 1930-е годы заказы армии были ещё небольшими и не занимали всю производственную мощность завода, Oy Tikkakoski Ab предлагала пистолеты пулемёты Suomi другим финских органов, а также другим странам. Оружие было доставлено в несколько европейских стран и даже в Южную Америку. Представители завода и Аймо Лахти в сопровождении офицеров Министерства обороны уже осенью 1931 года посетили для демонстрации пистолета пулемёта страны Прибалтики и Германию. Заключение экспортных сделок также оказалось в интересах Министерства обороны с целью расширения производственных мощностей и снижения себестоимости оружия.

Для персидской армии был разработан специальный вариант M/33 с вертикальны магазином и складывающиеся вперёд сошками. Всего было сделано две версии, одна из которых в отличие от другой имела пистолетную рукоятку. Однако серийное производство так и не было начато, поскольку сделка с предполагаемым заказчиком не так и не состоялась. Именно поэтому оба варианта M/33 так и остались на стадии прототипа.

Таким образом, крупные серийные заказы с зарубежными странами так и не состоялись до начала Зимней войны. Тем не менее, небольшая партия Suomi, изначально изготовленных для Министерства обороны, была успешно продана весной 1933 года в количестве двадцати пистолетов пулемётов Suomi для польской государственной полицию в Варшаве.

Экспортные Suomi с переводчиком огня справа у армии Крайова.
Экспортные Suomi с переводчиком огня справа у армии Крайова.

Интерес к финскому пистолету пулемёту начал активно проявляться за границей лишь в ходе событий Зимней войны. До этого времени имели место быть лишь небольшие партии продаж за границу, и лишь в Швецию в 1939 году готовились к более масштабному экспорту, а также продаже лицензии на производство. Несмотря на то, что финские вооруженные силы не были вовлечены в этот процесс, экспорт в Швецию пришлось ограничить во время Зимней войны с целью обеспечения армией собственной продукции.

В период промежуточного мира компания Oy Tikkakoski Ab значительно расширила свои производственные мощности по выпуску оружия, и M/31 снова стал поставляться на экспорт. Вторая мировая война в Европе становилась всё больше, как и потенциальных покупателей оружия.

В 1940-1944 годах на заводе в Тиккакоски планировались крупные сделки по продаже M/31 в Швецию, Данию, Германию, Швейцарию, Болгарию и Хорватию. Для оптимальной реализации этих планов компания в указанный период подала заявки на получение разрешений на экспорт в общей сложности более 15300 единиц оружия, однако из за внутренних экономических условий и мер регулирования, связанных с военным положением, большая часть этого объёма не была реализована. В ходе продолжения войны экспортные возможности еще более ограничились, поскольку заказы от финской армии постоянно росли и имели абсолютное преимущество перед коммерческими продажами.

Некоторые экспортные проекты были одобрены командованием только потому, что за вырученные средства удалось приобрести для родной оборонной промышленности важнейшее оборудование или сырье. В связи с этой взаимозависимостью Главнокомандующиму Силами обороны Финляндии в 1943 году вынужден был согласиться на продажу, в частности, 5000 пистолетов пулемётов Suomi в Швейцарию и поставку 500 единиц оружия в Хорватию, несмотря на то, что собственные потребности в оружии были лишь частично удовлетворены. К началу декабря 1943 года в Швейцарию было отправлено 1800 и в Хорватию 250 пистолетов пулемётов с магазинами и снаряжением.

В качестве исключительного случая также рассматривалась просьба о поставке 200 пистолетов пулемётов Suomi, полученная компанией Oy Tikkakoski Ab от своего представителя в Берлине в начале лета 1943 года. Заказчиком выступила личная канцелярия Гитлера. Этот довольно необычный запрос, вероятно, был вызван интересом Гитлера к M/31, который он получил в качестве подарка от Маннергейма годом ранее. На поставку было выдано разрешение, и оружие было отправлено в Германию в начале 1944 года.

Подарочный Suomi Адольфу Гитлеру.
Подарочный Suomi Адольфу Гитлеру.

Обладая патентными правами на пистолет Suomi, компания Oy Tikkakoski Ab предложила данное оружие также для зарубежного лицензионного производства.

В первую очередь интерес к этому возник у шведов, для которых еще до Второй мировой войны была разработана собственная лицензионная версия M/37-39 на основе работы по разработке, проведённой заводом в Тиккакоски. Это оружие впоследствии производилось на заводе Husqvarna в Швеции в нескольких немного отличающихся версиях.

Первоначально на заводе Husqvarna Швеция производила M/37, который был рассчитан на патрон 9×20 мм Browning Long, используемый в шведских служебных пистолетах. Однако было произведено лишь ограниченное количество, поскольку шведы вскоре перешли на патрон 9×19 мм. Модель с новым патроном получила обозначение M/37-39.

Шведский M/37 под патрон 9×20 мм Browning Long.
Шведский M/37 под патрон 9×20 мм Browning Long.

Пистолет пулемет M/37-39 в отличие от Suomi имел на 10 см короче кожух ствола, а сам ствол был меньше в диаметре, всё это было сделано для снижения массы оружия. Спусковая скоба стала шире, а прицельные приспособления стали проще. Большинство шведских M/37-39 имели более прочую конструкцию приклада, поскольку это было слабым местом в финских моделях.

Шведский M/37-39 под патрон 9×19 мм.
Шведский M/37-39 под патрон 9×19 мм.

Сообщается, что некоторые из шведских пистолетов пулемётов без заводских маркировок были контрабандой ввезены из Швеции в Данию во время оккупации 1940-1945 годов и использовались датским движением сопротивления. Некоторое число M/37-39 успело попасть и в руки самих финнов, вероятно их привёз с собой Шведский добровольческий корпус.

Датчане также начали лицензионное производство во время Второй мировой войны. Их версия M/41 отличается от финской основной модели, в частности, формой приклада и другой мушкой. Производителями были завод Мадсена и Hove.

Датский M/41.
Датский M/41.

Около 1400 пистолетов пулемётов M/41 были произведены до того, как немцы полностью разоружили датскую армию и захватили их вооружение. По крайней мере некоторое количество M/41 были позже переданы датским коллаборационистам.

После приобретения стандартных пулеметов M/31 из Финляндии и присвоения им собственного наименования M/43, швейцарские вооруженные силы получили лицензии на производство данного оружия на заводе Hispano Suiza. В то же время к оружию были добавлены крепления для штыка, а также упростилась форма приклада и целика. В результате была создана швейцарская версия M/43-44, которая затем поступила в серийное производство и была принята на вооружение швейцарской армии и полиции, заменив оригинальную финскую модель.

Швейцарский M/43-44 с штыком.
Швейцарский M/43-44 с штыком.

Магазины к пистолету пулемёту Suomi

Коробчатый 20 патронный магазин представляет собой довольно типичную для своего времени прямоугольную коробку, которая с помощью закруглённой пружины и легкосплавного подъёмника подает слегка накладывающиеся друг на друга патроны через суженную горловину в оружие.

Несмотря на небольшое количество патронов, магазин имеет неоправданно большие размеры. Его главным недостатком была очень неудобная и сложная зарядка патронами. Для решения проблемы зарядки были разработаны и изготовлены различные устройства для наполнения магазина. Хотя эти устройства упростили процесс зарядки магазина, они так таковым не решили проблему полостью. Наряду с заводом в Тиккакоски, Государственный оружейный завод также выпустил небольшую серию устройств для зарядки магазинов.

Коробчатые магазины на 20 патронов сохраняли свою конструкцию на протяжении всех 1930-х годов, но их размеры были немного изменены в процессе производства. Увеличив толщину корпуса на несколько миллиметров, патроны стали располагаться более эффективно, что позволило сократить длину с 19 до 17 см. Форма горловины и толкателя также была изменена, по всей видимости, для улучшения характеристик заряжания.

Сравнение позднего и раннего 20 зарядного магазина.
Сравнение позднего и раннего 20 зарядного магазина.

К моменту начала продолжительной войны было решено отказаться от производства магазинов на 20 патронов в пользу коробчатых четырёхрядных магазинов на 50 патронов, производимые в Швеции. Однако ещё во время Зимней войны завод в Тиккакоски произвёл и поставил армии несколько тысяч магазинов на 20 патронов.

В рекламном буклете финского M/31, напечатанном в 1932 году, содержится подробная техническая информация и фотографии 40 зарядного барабанного магазина. Указывается, что сам магазин весит один килограмм, а его вес увеличивается до 1,48 килограмма при заполнении 40 патронами.

Внутренние государственные заказы и часть экспортных поставок включают 40 патронный барабанный магазин, который представляет собой круглую стальную оболочку диаметром 14,5 см. Внутри находится барабан, натянутый пружиной, с возможностью вращения. При вращении барабана почти на 360 градусов, находящийся на её основании фиксирующий штифт блокируется. После этого патроны устанавливаются в патронном канале. Затем пружина освобождается из заблокированного положения, что приводит к тому, что толкатель нажимает на ряд патронов в сторону горловины магазина. Крышка на задней части магазина закрывается, и загруженный магазин становится готовым к стрельбе.

40 зарядный барабан с открытой крышкой.
40 зарядный барабан с открытой крышкой.

Слабостями барабанного магазина были: значительный вес конструкции и сложность зарядки патронами. В полевых условиях патроны во время заряжания могли легко опрокинуться, что требовало начинать весь процесс заново.

На переднем крае 40 зарядного барабана для патронов имеется индикатор оставшегося количества патронов. В корпусе барабана с передней стороны сделано небольшое отверстие диаметром 7 мм, через которое лишь в исключительных условиях можно разглядеть число, выбитое на внутреннем кольце. Это отверстие собирало грязь между чувствительными подвижными частями, и стрелок не мог в боевой ситуации заглянуть за ствол, чтобы узнать, сколько патронов у него осталось в магазине. Позже от этой бесполезной детали было решено отказаться.

В первой половине 1930-х годов для решения проблемы опрокидывания патронов Аймо Лахти спроектировал еще один опытный магазин на 60 патронов, в котором пазы были заменены несколькими отсеками, расположенными по периметру. В каждом из них помещается по пять патронов. Подобное решение было реализовано ранее, например в барабанном магазине американского пистолета пулемёта Thompson.

В октябре 1934 года Министерство артиллерийское управление и Министерство обороны заказали у Государственного стрелкового завода опытный экземпляр магазина нового типа. Вероятно, это был вышеупомянутый магазин. Тем не менее, изобретение так и не дошло до стадии серийного производства.

Причиной тому послужил усовершенствованный барабанный магазин на 70 патронов, по всей видимости, разработанный бывшим партнером Аймо Лахти Ю. Коскиненом уже в 1935 году. В нем патроны по прежнему размещались по кругу диска, но в два ряда каналов, а крышка магазина была перенесена вперёд. Таким образом, патроны лучше держались на месте во время заряжания благодаря плоской части донца гильзы. В своём серийном производственном варианте магазин включал отдельный вращающийся внутренний диск, в который была размещена вся внутренняя патронная камера.

Заряженный 70 зарядный диск.
Заряженный 70 зарядный диск.

Магазинами Коскинена заинтересовалась армия, и после нескольких опытных магазинов, компания Oy Tikkakoski Ab 28 января 1936 года получила заказ на изготовление 8000 новых 70 зарядных барабанов для армии. Они были завершены к апрелю 1937 года.

70 зарядные диски на хранение.
70 зарядные диски на хранение.

Доказательством успеха нового магазина можно считать то, что советские конструкторы скопировали основную конструкцию магазина и использовали её в ППД 34/38, ППД 40 и ППШ.

Барабан ППШ скопированный по типу барабана Suomi.
Барабан ППШ скопированный по типу барабана Suomi.

Когда армия Швеции начала в конце 1930-х годов использовать пистолет пулемёт Suomi и запустила лицензионное производство, было принято решение внести изменения в некоторые конструктивные детали оружия. В частности, барабанный магазин был признан сложным, дорогостоящим в производстве и чрезмерно тяжёлым. Поэтому в Швеции был спроектирован новый магазин, который был на 40% легче и вмещал 50 патронов.

Шведский 50 зарядный четырёх рядный магазин.
Шведский 50 зарядный четырёх рядный магазин.

Корпус магазина довольно широкий - 4,5 см. Его внутренняя часть разделена на два отдельных отсека, каждый из которых имеет собственную винтовую пружину и подающие основание из алюминия. Форма корпуса сужается кверху, поэтому патроны поднимаются между подавателями из разных отсеков поочередно и только по одному.

Хотя в конце 1930-х годов в Финляндии вполне устраивал новый барабанный магазин на 70 патронов, лёгкость и дешевизна шведского магазина заинтересовала Министерство обороны Финляндии.

На заседании Совета по проектированию оружия 4 января 1939 года представитель завода Тиккакоски, инженер Харлахти, представил шведский магазин и устройства для его заполнения. На заседании также было решено приобрести 50 образцов магазинов для выяснения их технических и тактических характеристик.

После того как испытания магазина показали положительные результаты, было приобретено ещё 200 шведских магазинов для проведения испытаний в военных частях. Полученные отзывы почти единогласно поддержали использование нового магазина, однако введения шведского магазина было отложено из за начала Зимней войны.

В 1940 году компания Oy Tikkakoski Ab приобрела у Швеции права на производство четырёхрядного магазина. Пружины были также закуплены у того же шведского производителя, который поставлял их для производства магазинов шведской армии.

Первой крупной партией новых 50 зарядных магазинов в количестве 70000 штук была заказана 14 марта 1941 года у завода в Тиккакоски. В 1942 году по новому заказу было приобретено ещё 50 000 магазинов. Также были заказаны детали для магазинов: 8000 штук в 1941 году, 10000 в 1942 году и ещё 3000 в 1944 году.

Несмотря на то, что проведённый в войсках опрос ещё в декабре 1941 года дал довольно положительную оценку шведских магазинов, уже в следующем году это мнение изменилось практически на противоположное. Со временем использования, магазины стали проявлять значительную подверженность сбоям на фронте. Петли пружин часто застревали друг в друге, а подаватель оказался недостаточно надёжным в работе. Было установлено, что магазин оказался особенно уязвимым к ударам, особенно когда он был заряжен. При полной загрузки магазина 50 патронами, вероятность задержек резко возрастала.

В 1942 году попытались исправить эти проблемы, в том числе изменив форму подавателей магазина на более округлую. Однако, добиться желаемого результата не удалось, поэтому серийное производство шведских 50 зарядных магазинов было полностью прекращено к осени 1943 года, и с этого момента внимание сосредоточилось исключительно на 70 зарядных барабанных магазинах.

Слева-направо: 40 зарядный барабан, 70 зарядный барабан, 20 зарядный магазин, 50 зарядный магазин.
Слева-направо: 40 зарядный барабан, 70 зарядный барабан, 20 зарядный магазин, 50 зарядный магазин.