Найти в Дзене
РБК Тренды

Чему равна масса Земли и как ее измерили

Масса Земли — величина, которая определяет многие природные процессы. Она остается практически неизменной, несмотря на внешние воздействия. Рассказываем, сколько весит наша планета Содержание: Масса Земли — одна из ключевых характеристик планеты, которая влияет на многие физические процессы, включая силу гравитации. Согласно последним научным данным, масса Земли составляет примерно 5,972×10²⁴ кг, или 5,972 септиллиона (септиллион — единица с 24 нулями) тонн. [1] Для сравнения, Марс в десять раз легче нашей планеты, а масса Луны, естественного спутника Земли, составляет около 0,07346×10²⁴ кг, то есть примерно в 81 раз меньше (это объясняет, почему сила притяжения Луны относительно Земли значительно слабее). [2] Самая тяжелая часть нашей планеты — это мантия, на нее приходится 66% массы Земли. Она состоит из силикатов кальция, железа и магния. [3] Масса нашей планеты практически постоянна, однако может незначительно меняться из-за разных космических и геофизических процессов. Например, в
Оглавление

Масса Земли — величина, которая определяет многие природные процессы. Она остается практически неизменной, несмотря на внешние воздействия. Рассказываем, сколько весит наша планета

   Shutterstock
Shutterstock

Содержание:

  • Сколько весит
  • Как измерили
  • Как вычисляют сейчас

Сколько весит Земля

Масса Земли — одна из ключевых характеристик планеты, которая влияет на многие физические процессы, включая силу гравитации. Согласно последним научным данным, масса Земли составляет примерно 5,972×10²⁴ кг, или 5,972 септиллиона (септиллион — единица с 24 нулями) тонн. [1]

Для сравнения, Марс в десять раз легче нашей планеты, а масса Луны, естественного спутника Земли, составляет около 0,07346×10²⁴ кг, то есть примерно в 81 раз меньше (это объясняет, почему сила притяжения Луны относительно Земли значительно слабее). [2]

Самая тяжелая часть нашей планеты — это мантия, на нее приходится 66% массы Земли. Она состоит из силикатов кальция, железа и магния. [3]

Меняется ли масса Земли

Масса нашей планеты практически постоянна, однако может незначительно меняться из-за разных космических и геофизических процессов. Например, в результате падения метеоритов и космической пыли Земля прибавляет вес, а из-за потери водорода и гелия в верхних слоях атмосферы теряет его. Но эти изменения настолько незначительны, что не оказывают особого влияния на общую массу планеты.

Ежегодно на Землю падает около 40 тыс. т космической пыли, а планета теряет около 95 тыс. т водорода, который улетучивается из верхних слоев атмосферы. Это ничтожно мало и составляет доли процента от общей массы Земли. [4]

Как измерили массу Земли

Летом 1774 года Невил Маскелайн, английский астроном и математик, решил провести эксперимент, чтобы рассчитать плотность Земли. Он использовал необычный метод — наблюдение за гравитационным воздействием на одинокую гору Шихаллион в Шотландии.

Гравитация — фундаментальная сила природы, которая притягивает объекты друг к другу. Ее воздействие проявляется во многих аспектах — от удержания атмосферы Земли до движения планет вокруг Солнца. Гравитационное поле — это особый вид физического поля, которое создается любой массой и действует на другие массы, вызывая их притяжение. Чем больше масса, тем сильнее гравитационное поле.

В эксперименте Маскелайна гравитационное притяжение горы Шихаллион влияло на специальный отвес, который использовался для измерений, слегка отклоняя его от вертикального положения (в обычных условиях отвес маятника висит строго вертикально, потому что его притягивает Земля, то есть он направлен прямо к ее центру). Это позволило ученому рассчитать общую плотность Земли, сравнив эффект притяжения горы с гравитацией планеты в целом.

Маскелайн провел серию исследований, используя отвес и инструменты для измерения углов. Зная размеры горы, ее плотность и изменения притяжения под влиянием Луны, исследователем смог рассчитать примерную плотность нашей планеты.

Результат оказался неверным, но недалеким от реальности: по расчетам шотландца, плотность Земли составила 4,5 г/см³, что на 20% ниже установленного современного значения — 5,515 г/см³. [5] Для XVIII века это исследование было грандиозным: оно позволило предположить, что внутри Земли есть тяжелое металлическое ядро. [6]

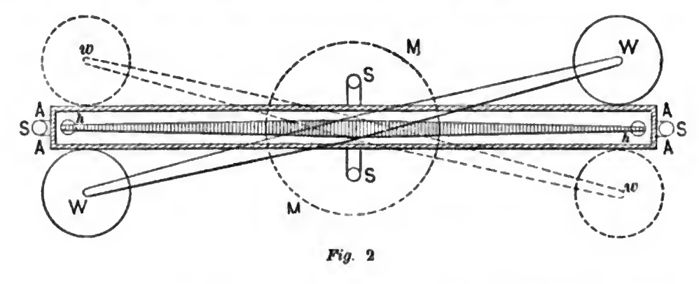
Считается, что первое научное измерение массы Земли сделали в XVIII веке благодаря великому британскому физику Генри Кавендишу. В 1798 году он провел знаменитый эксперимент с использованием так называемых крутильных весов.

wikipedia.org📷Схема маятника Кавендиша, вид сверху
wikipedia.org📷Схема маятника Кавендиша, вид сверху

Кавендиш использовал две небольшие свинцовые сферы и две большие свинцовые отливки, которые располагались на определенном расстоянии друг от друга. Взаимное гравитационное притяжение между ними вызывало небольшое отклонение тонкой нити, на которой крепились сферы. Измеряя это отклонение и опираясь на закон всемирного тяготения Ньютона, Кавендиш смог определить гравитационную постоянную G и точную среднюю плотность Земли — 5,48 г/см³, что очень близко к современному значению. В те века еще не было общепринятых единиц массы, и ученый не стал вычислять общую массу планеты.

Эксперимент Кавендиша стал прорывом в науке и позволил в дальнейшем измерить массу планеты. [7] Массу Земли в килограммах начали вычислять в XIX веке, когда метрическая система уже стала стандартом в науке, и первые значения, которые появились в научных публикациях, были близки к современному. [8]

Как вычисляют массу Земли сейчас

Классический метод — при помощи барометра и на основе второго закона Ньютона и закона всемирного тяготения. Есть и более современные методы определения массы Земли.

  • Гравиметрия, или измерение гравитационного поля. Используя наземные и космические гравиметры, ученые фиксируют изменения гравитационного ускорения в разных местах на Земле, включая океаны, ледники и горные массивы. [9]scintrexltd.com
    Один из видов гравиметра
-3
  • Спутниковые измерения. Высокоточные измерения проводят с помощью спутников, например GRACE (Gravity Recovery and Climate Experiment). Они фиксируют малейшие вариации гравитационного поля Земли, что позволяет уточнять массу планеты. [10]NASA
    Спутник GRACE
-4
  • Изучение орбитальных движений. Массу Земли вычисляют через анализ движения спутников, Луны и других небесных тел в гравитационном поле нашей планеты.

В 2018 году массу Земли впервые вычислили с помощью нейтрино — крошечных субатомных частиц, которые проходят сквозь всю планету, но почти не взаимодействуют с материей. Исследователи анализировали данные, полученные детектором нейтрино IceCube, расположенным в Антарктиде.

icecube.wisc.edu📷Нейтринная обсерватория IceCube в Антарктиде
icecube.wisc.edu📷Нейтринная обсерватория IceCube в Антарктиде

Ученые смотрели, как часто и с какой вероятностью нейтрино, приходящие из космоса, теряли энергию или поглощались при прохождении сквозь Землю. Это зависело от плотности вещества внутри планеты и позволило составить карту плотности Земли. В итоге подсчеты совпали с традиционными измерениями: масса Земли — около 6×10²⁴ кг. [11]

Читайте также:

➤ Подписывайтесь на телеграм-канал «РБК Трендов» — будьте в курсе последних тенденций в науке, бизнесе, обществе и технологиях.