Найти в Дзене

Как работает гидрораспределитель: объяснение на примерах

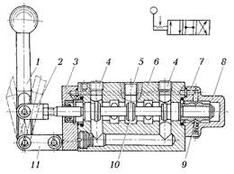
Гидрораспределитель – это устройство, предназначенное для управления направлением потока рабочей жидкости в гидравлических системах. Его основная задача – распределение потока жидкости между различными исполнительными механизмами, такими как гидроцилиндры и гидромоторы. Применяется в промышленности, сельском хозяйстве, строительстве и других сферах, где требуется точное управление гидравлическими процессами. Принцип работы гидрораспределителя основан на изменении положения внутренних элементов, которые регулируют движение жидкости по каналам. В зависимости от конструкции устройство может работать в следующих режимах: Работа гидрораспределителя может осуществляться вручную (с помощью рычагов), механически, пневматически, электрически или гидравлически. Гидравлические схемы распределителей помогают визуализировать работу системы. Они содержат условные обозначения каналов, элементов управления и направлений потоков жидкости. Такие схемы широко используются при проектировании, диагностике
Оглавление

Гидрораспределитель – это устройство, предназначенное для управления направлением потока рабочей жидкости в гидравлических системах. Его основная задача – распределение потока жидкости между различными исполнительными механизмами, такими как гидроцилиндры и гидромоторы. Применяется в промышленности, сельском хозяйстве, строительстве и других сферах, где требуется точное управление гидравлическими процессами.

Принцип работы гидрораспределителя

Принцип работы гидрораспределителя основан на изменении положения внутренних элементов, которые регулируют движение жидкости по каналам. В зависимости от конструкции устройство может работать в следующих режимах:

  • Направление потока – рабочая жидкость поступает к нужному исполнительному механизму.
  • Перекрытие потока – прекращение подачи жидкости для остановки работы механизма.
  • Слив жидкости в бак – возврат масла в резервуар после завершения работы.

Работа гидрораспределителя может осуществляться вручную (с помощью рычагов), механически, пневматически, электрически или гидравлически.

Гидравлические схемы распределителей

Гидравлические схемы распределителей помогают визуализировать работу системы. Они содержат условные обозначения каналов, элементов управления и направлений потоков жидкости. Такие схемы широко используются при проектировании, диагностике и обслуживании гидравлических систем.

Основные элементы схемы гидрораспределителя:

  • Корпус устройства – содержит все каналы и соединительные отверстия.
  • Клапаны и золотники – регулируют движение жидкости.
  • Приводы управления – отвечают за перемещение управляющих элементов (рычаги, катушки, соленоиды).

Виды гидрораспределителей

Существует несколько типов гидрораспределителей, различающихся по конструкции и принципу работы:

  • Моноблочные – представляют собой цельную конструкцию, компактны и удобны в установке.
  • Секционные – состоят из отдельных модулей, что позволяет изменять конфигурацию системы.
  • Пропорциональные – обеспечивают плавное регулирование потоков жидкости в зависимости от входного сигнала.

Выбор типа гидрораспределителя зависит от области применения, требуемой точности и условий эксплуатации.

Схемы гидрораспределителей и обозначения на них

Распределительная коробка обозначается на схемах специальными символами, указывающими на ее функции и подключение к другим элементам системы. Различные виды гидрораспределителей имеют свои обозначения, которые важно учитывать при проектировании и ремонте оборудования.

Примеры применения гидрораспределителей

  1. Строительная техника – гидрораспределители управляют движением стрел экскаваторов, подъемников и ковшей.
  2. Промышленные станки – обеспечивают точную подачу жидкости для работы механизмов.
  3. Сельскохозяйственная техника – регулируют работу гидросистем тракторов и комбайнов.
  4. Авиационная и автомобильная промышленность – применяются в гидравлических тормозных и рулевых системах.
  5. Гидроэнергетика – управляют работой гидравлических турбин и насосов.

Понимание принципа работы гидрораспределителя и его схемы важно для эксплуатации гидравлических систем. Использование правильного оборудования и грамотное проектирование схем позволяет повысить эффективность и надежность работы техники. В зависимости от типа распределителя и области его применения, можно добиться точного и стабильного управления гидравлическими процессами.