Добавить в корзинуПозвонить
Найти в Дзене
OVERCLOCKERS.RU

OPPO получила патент на новую систему измерения давления в умных часах

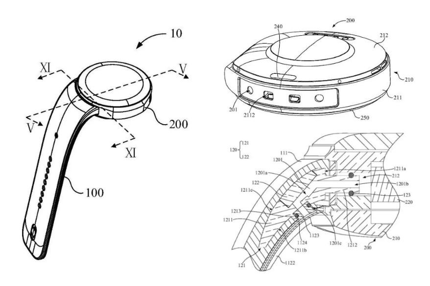
27 января 2025 года компания OPPO сделала ещё один шаг в развитии технологий измерения артериального давления в носимых устройствах. Согласно сообщению , компания получила патент на новую систему, которая призвана усовершенствовать существующую технологию измерений в умных часах. Традиционно системы измерения давления в смарт-часах используют встроенную в ремешок воздушную подушку, которая накачивается насосом, расположенным в корпусе устройства. Однако такой подход имеет существенный недостаток - необходимость выделения дополнительного пространства в корпусе часов для воздушного сопла. Это ограничивает возможности размещения других компонентов и датчиков, сдерживая развитие новых функций. Инженеры OPPO предложили оригинальное решение этой проблемы. Новый механизм интегрирует воздушный канал непосредственно в ремешок часов, устраняя потребность в отдельном воздушном сопле. При соединении измерительной головки с ремешком образуется цельный воздушный путь для надувания подушки безопаснос

27 января 2025 года компания OPPO сделала ещё один шаг в развитии технологий измерения артериального давления в носимых устройствах. Согласно сообщению , компания получила патент на новую систему, которая призвана усовершенствовать существующую технологию измерений в умных часах. Традиционно системы измерения давления в смарт-часах используют встроенную в ремешок воздушную подушку, которая накачивается насосом, расположенным в корпусе устройства. Однако такой подход имеет существенный недостаток - необходимость выделения дополнительного пространства в корпусе часов для воздушного сопла. Это ограничивает возможности размещения других компонентов и датчиков, сдерживая развитие новых функций.

Инженеры OPPO предложили оригинальное решение этой проблемы. Новый механизм интегрирует воздушный канал непосредственно в ремешок часов, устраняя потребность в отдельном воздушном сопле. При соединении измерительной головки с ремешком образуется цельный воздушный путь для надувания подушки безопасности. Корпус часов по-прежнему содержит воздушный насос и контур, но теперь они соединяются с внешней частью через специальное отверстие. Ремешок и корпус соединяются посредством "соединительного компонента", формируя полноценный воздушный контур.

Такой подход не только упрощает производственный процесс, но и оптимизирует внутреннюю компоновку устройства. Это открывает новые возможности для дизайнеров и инженеров, позволяя реализовать более креативные и функциональные решения в умных часах.

📃 Читайте далее на сайте