Найти в Дзене
OVERCLOCKERS.RU

OPPO патентует инновационную технологию измерения артериального давления для смарт-часов

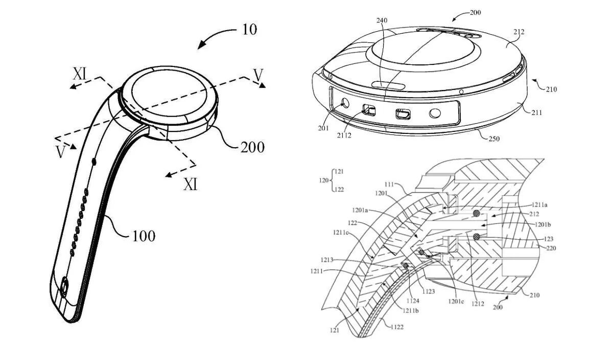
Согласно изданию 91Mobile, компания OPPO объявила о получении патента на новую систему измерения артериального давления, предназначенную для смарт-часов. Данная разработка призвана повысить эффективность существующей технологии подушек безопасности, используемой в этих устройствах. OPPO Обычно системы измерения артериального давления в смарт-часах включают в себя воздушную подушку в ремешке, которая надувается насосом, расположенным в головке часов. Однако такая традиционная конструкция имеет существенный недостаток: она требует дополнительного места в головке часов для воздушного сопла, что ограничивает свободное пространство для других компонентов, включая датчики. В патенте OPPO представлен другой механизм, который устраняет необходимость в отдельном воздушном сопле. Вместо этого он интегрирует воздушный канал в ремешок. Когда головка часов соединяется с ремешком, создается полный воздушный контур, позволяющий насосу надувать подушку безопасности без специального сопла. OPPO Констру

Согласно изданию 91Mobile, компания OPPO объявила о получении патента на новую систему измерения артериального давления, предназначенную для смарт-часов. Данная разработка призвана повысить эффективность существующей технологии подушек безопасности, используемой в этих устройствах.

OPPO

Обычно системы измерения артериального давления в смарт-часах включают в себя воздушную подушку в ремешке, которая надувается насосом, расположенным в головке часов. Однако такая традиционная конструкция имеет существенный недостаток: она требует дополнительного места в головке часов для воздушного сопла, что ограничивает свободное пространство для других компонентов, включая датчики.

В патенте OPPO представлен другой механизм, который устраняет необходимость в отдельном воздушном сопле. Вместо этого он интегрирует воздушный канал в ремешок. Когда головка часов соединяется с ремешком, создается полный воздушный контур, позволяющий насосу надувать подушку безопасности без специального сопла.

-2

OPPO

Конструкция включает в себя корпус головки часов, в котором находятся насос и воздушный канал. Насос надувает и сдувает подушку безопасности через этот интегрированный канал, который соединяется с внешней средой через отверстие на головке часов. Ремешок и головка часов соединены соединительным компонентом, образуя полный воздушный контур.

В патенте отмечается, что этот инновационный подход не только упрощает процесс производства, но и оптимизирует внутреннюю компоновку, что в перспективе позволяет создавать более креативные модели смарт-часов.

📃 Читайте далее на сайте