Добавить в корзинуПозвонить
Найти в Дзене
110КМ.ру

Ford разрабатывает систему голосовой обратной связи: водители смогут ругать инженеров в режиме реального времени

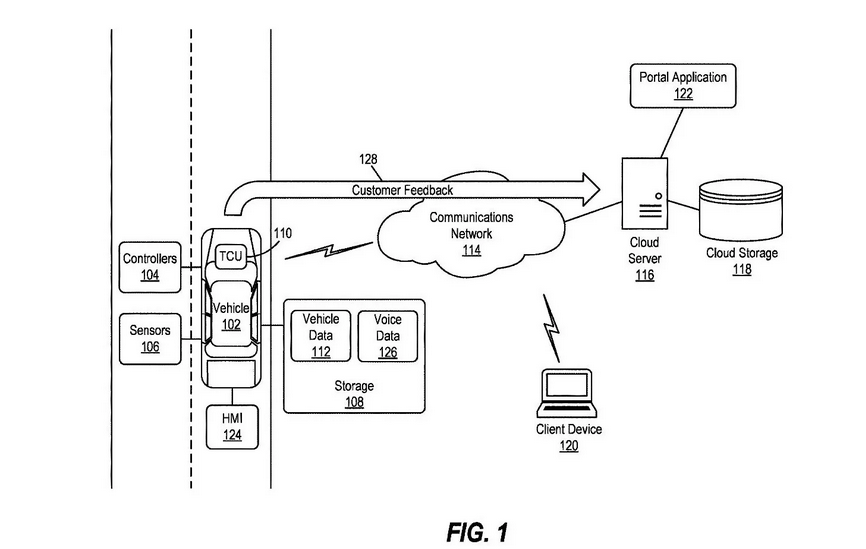
Время от времени у каждого водителя возникает желание сказать инженерам, спроектировавшим его автомобиль, все, что он о них думает. Компания Ford планирует предоставить им такую возможность. В патентное бюро США подана заявка на регистрацию нового устройства голосовой обратной связи. Водитель выбирает в меню медиасистемы соответствующий пункт и записывает аудиообращение. Машина отправляет его в контактный центр, где ИИ расшифровывает жалобу и сортирует в соответствии с темой обращения. Дальнейшая его судьба зависит от сути проблемы. В любом случае, обращение будут хранить и в аудио-, и в текстовом формате.Владелец обязательно получит по электронной почте ответ на свое обращение. Единственный нюанс, текст ответа также будет сформирован ИИ. Каждый, кто имел опыт общения с чат-ботом, знает, насколько эти ответы обычно далеки о реальной ситуации. В качестве примера ответного сообщения Ford приводит следующий текст: «Из вашего отзыва следует, что сотрудники дилерского центра не продемонстри

Время от времени у каждого водителя возникает желание сказать инженерам, спроектировавшим его автомобиль, все, что он о них думает. Компания Ford планирует предоставить им такую возможность.

В патентное бюро США подана заявка на регистрацию нового устройства голосовой обратной связи. Водитель выбирает в меню медиасистемы соответствующий пункт и записывает аудиообращение. Машина отправляет его в контактный центр, где ИИ расшифровывает жалобу и сортирует в соответствии с темой обращения. Дальнейшая его судьба зависит от сути проблемы. В любом случае, обращение будут хранить и в аудио-, и в текстовом формате.Владелец обязательно получит по электронной почте ответ на свое обращение. Единственный нюанс, текст ответа также будет сформирован ИИ. Каждый, кто имел опыт общения с чат-ботом, знает, насколько эти ответы обычно далеки о реальной ситуации. В качестве примера ответного сообщения Ford приводит следующий текст: «Из вашего отзыва следует, что сотрудники дилерского центра не продемонстрировали вам, как использовать все функции вашего нового пикапа. Пожалуйста, перейдите по ссылке, чтобы запланировать виртуальную экскурсию по вашему новому автомобилю», далее следует URL-адрес.

-2

Фото: Ford

Если такой ответ получен на претензии, например, к эргономике салона, то он, скорее всего, вызовет еще большее раздражение и будет восприниматься как издевка: «Да вы просто не знаете, как пользоваться своей новой машиной!» К счастью для владельцев Ford, патент предполагает, что доступ к обращениям клиентов получат также дилеры и отделы контроля качества, которые смогут более эффективно на них реагировать.