Найти в Дзене
Shazoo

Sony запатентовала систему снижения задержек ввода с помощью ИИ, а также новый аксессуар для DualSense

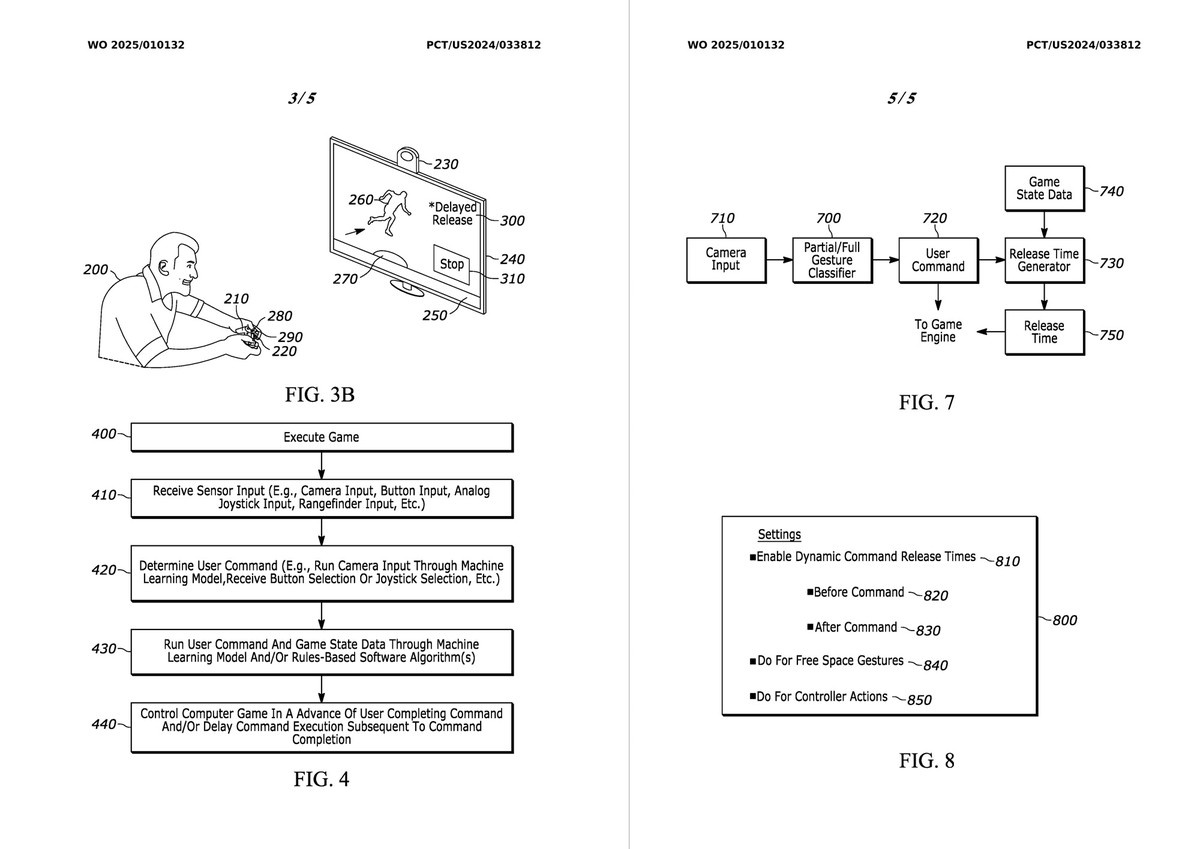
Sony зарегистрировала два новых патента: один описывает возможность использовать DualSense как девайс для прицеливания, второй — технологию снижения задержек ввода с помощью искусственного интеллекта. Первый патент, поданный в июне прошлого года, описывает специальное крепление для курка DualSense, призванное добавить реализма в игровую стрельбу. По задумке, игроки должны держать контроллер боком, используя пространство между кнопками R1 и R2 в качестве прицела. Патент также предполагает возможность интеграции с VR-гарнитурами, хотя необходимость в этом сомнительна, учитывая наличие контроллеров PS VR2 Sense. Более интересным представляется второй патент, описывающий систему снижения задержек в онлайн-играх. Технология использует камеру для отслеживания действий игрока и контроллера, позволяя ИИ предугадывать следующие нажатия кнопок. Альтернативный вариант предполагает анализ незавершенных действий для определения намерений игрока. Основная цель — уменьшение задержки между вводом кома

Sony зарегистрировала два новых патента: один описывает возможность использовать DualSense как девайс для прицеливания, второй — технологию снижения задержек ввода с помощью искусственного интеллекта.

Первый патент, поданный в июне прошлого года, описывает специальное крепление для курка DualSense, призванное добавить реализма в игровую стрельбу. По задумке, игроки должны держать контроллер боком, используя пространство между кнопками R1 и R2 в качестве прицела. Патент также предполагает возможность интеграции с VR-гарнитурами, хотя необходимость в этом сомнительна, учитывая наличие контроллеров PS VR2 Sense.

Более интересным представляется второй патент, описывающий систему снижения задержек в онлайн-играх. Технология использует камеру для отслеживания действий игрока и контроллера, позволяя ИИ предугадывать следующие нажатия кнопок. Альтернативный вариант предполагает анализ незавершенных действий для определения намерений игрока.

  📷
📷

Основная цель — уменьшение задержки между вводом команд и их отображением в игре, что особенно важно для онлайн-геймплея.

Среди других недавних патентов Sony:

  • Использование ИИ-аккаунтов для выявления читеров
  • Предоставление информации о местоположении для помощи раздраженным игрокам
  • Обнаружение хаотичного нажатия кнопок и эмоциональных всплесков

Стоит отметить, что регистрация патентов не гарантирует реализацию описанных технологий, но позволяет оценить направление исследований компании.

Комментарии на сайте

Sony
151,6 тыс интересуются