Найти в Дзене
Агри Партс Рус

Рекомендации по замене противорежущего бруса комбайна CLAAS JAGUAR

Перед началом работы необходимо заблокировать ножевой барабан путем установки предохранителя для предотвращения проворачивания! Ниже отображена схема и пошаговое руководство. Снимите старый брус, открутив болты 1. Установите новый брус (артикулы 0004952732, 0026142701, 0013180191), используя новые пружинные шайбы 2 (0002110840) и новые болты 1 (0010704031) и 12 (0002144540), равномерно оттянув в отверстиях назад как можно дальше, с целью обеспечения максимальной параллельности. После этого затяните болты 1 и 12 с моментом 195 Нм. Далее, выполните базовую настройку противорежущего бруса посредством регулирования шпинделя сначала на одной стороне максимум на 2 оборота, затем на другой. Это предотвратит перенапряжение опоры противорежущего бруса. Далее необходимо убрать предохранитель от проворачивания. После этого, используя щуп, отрегулируйте противорежущий брус при помощи регулировочного устройства на обеих сторонах таким образом, чтобы зазор измельчения между брусом и ножами составлял
Перед началом работы необходимо заблокировать ножевой барабан путем установки предохранителя для предотвращения проворачивания!

Ниже отображена схема и пошаговое руководство.

Руководство по замене противорежущего бруса комбайна CLAAS JAGUAR
Руководство по замене противорежущего бруса комбайна CLAAS JAGUAR

Снимите старый брус, открутив болты 1. Установите новый брус (артикулы 0004952732, 0026142701, 0013180191), используя новые пружинные шайбы 2 (0002110840) и новые болты 1 (0010704031) и 12 (0002144540), равномерно оттянув в отверстиях назад как можно дальше, с целью обеспечения максимальной параллельности.

После этого затяните болты 1 и 12 с моментом 195 Нм. Далее, выполните базовую настройку противорежущего бруса посредством регулирования шпинделя сначала на одной стороне максимум на 2 оборота, затем на другой. Это предотвратит перенапряжение опоры противорежущего бруса.

Далее необходимо убрать предохранитель от проворачивания.

После этого, используя щуп, отрегулируйте противорежущий брус при помощи регулировочного устройства на обеих сторонах таким образом, чтобы зазор измельчения между брусом и ножами составлял 0,2 – 0,3 мм. Регулировку выполняйте на ножах, выступающих сильнее других.

На обеих сторонах выставьте уплотнительные клинья 17 на 2 мм выше противорежущего бруса.

Важно!

Перед окончательной настройкой бруса, следует опустить на землю установленную жатку, чтобы полностью убрать давление в гидроцилиндрах. Также должна быть произведена заточка ножей!
Агри Парт Рус руководство пользователя
Агри Парт Рус руководство пользователя

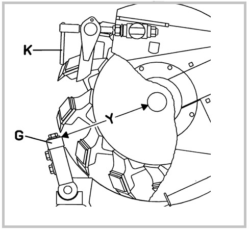
Теперь запустите двигатель комбайна и включите измельчающее устройство. Винтами К медленно подводите брус к ножам, пока не будут слышны легкие звуки ударов. Затем на обеих сторонах открутите винты К назад на два оборота.

А еще у нас можно...

Мы дорожим нашими клиентами, поэтому предлагаем:

  • Премиальное качество товара;
  • Расширенную гарантию на товары, до 12 месяцев;
  • Высокое качество сервиса;
  • Оперативную отправку товара по всей России;

Наши конкурентные преимущества:

  • Ассортимент более 30000 наименований;
  • Наличие товара на складе в Москве;
  • Высокая скорость обработки клиентских запросов;
  • Наличие автономного инструмента расценки 24/7.

Обращайтесь с любыми вопросами, мы работаем для вас♥