Найти в Дзене

Вычерчивание модели планера самолета

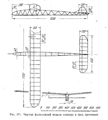
Фюзеляжная модель планера отличается от схематической наличием объемного фюзеляжа, профилированных крыла и хвостового оперения (рис. 171). Постройка этой модели значи­тельно сложнее и требует больше времени. Это, однако, оку­пается тем, что летные качества модели фюзеляжного планера много лучше схематического, полет модели очень красив и по­хож на полет настоящего планера. Оглавление. Авиационный моделизм.
Для постройки такой модели, естественно, потребуется больше материалов и более сложный инструмент. Нужны острый нож, небольшой рубанок, лобзик с пилочками, пиланожовка по дереву, молоток, кусачки, плоскогубцы, напильник драчевый, спиртовка, ножницы, настольные тиски, дрель с на­бором сверл разного диаметра и ножовочное полотно. Рис. 171. Чертеж фюзеляжной модели планера в трек проекциях Из материалов понадобятся: рейки сосновые, сухие и без сучков, кусок липы, фанера 3-мм, фанера 1-мм или картон 1-мм, проволока стальная 1-мм, бумага плотная, бумага папиросная, эмалит бесцветный, кл

Вычерчивание модели планера самолета

Фюзеляжная модель планера отличается от схематической наличием объемного фюзеляжа, профилированных крыла и хвостового оперения (рис. 171). Постройка этой модели значи­тельно сложнее и требует больше времени. Это, однако, оку­пается тем, что летные качества модели фюзеляжного планера много лучше схематического, полет модели очень красив и по­хож на полет настоящего планера.

Оглавление. Авиационный моделизм.

Для постройки такой модели, естественно, потребуется больше материалов и более сложный инструмент. Нужны острый нож, небольшой рубанок, лобзик с пилочками, пиланожовка по дереву, молоток, кусачки, плоскогубцы, напильник драчевый, спиртовка, ножницы, настольные тиски, дрель с на­бором сверл разного диаметра и ножовочное полотно.

Чертеж фюзеляжной модели планера в трек проекциях
Чертеж фюзеляжной модели планера в трек проекциях

Рис. 171. Чертеж фюзеляжной модели планера в трек проекциях

Из материалов понадобятся: рейки сосновые, сухие и без сучков, кусок липы, фанера 3-мм, фанера 1-мм или картон 1-мм, проволока стальная 1-мм, бумага плотная, бумага папиросная, эмалит бесцветный, клей казеиновый, гвозди мелкие (№ 12— 15), нитки катушечные № 10, белые, свинцовые пластинки или дробь и наждачная бумага.

Описываемый планер, приведенный на рис. 171, имеет че­тырехгранный раскосный фюзеляж, крыло выпукло-вогнутого профиля и один толстый лонжерон. Прямоугольная форма в плане крыла позволяет нервюры делать одинаковыми, что сильно ускоряет и упрощает их изготовление.

Стабилизатор несущего профиля конструктивно и по форме схож с крылом. Небольшой киль укреплен непосредственно на стабилизаторе.

Приступая к работе, надо сделать рабочий чертеж. Можно ограничиться простым, схематическим чертежом частей мо­дели: отдельно — крыла, фюзеляжа и стабилизатора. На рис. 172 изображен именно такой чертеж. На листе плотной бу­маги надо начертить чертеж, похожий на наш, но в натураль­ную величину и точно соблюдая указанные на рисунке размеры.

Обозначать размеры на рабочем чертеже не обязательно, так как проверку правильности сборки и

Сначала надо начертить фюзеляж при виде его сбоку (рис. 172, наверху). Начинают вычерчивать любую деталь с проведения осевой линии. В верхней части листа бумаги про­водят осевую линию для фюзеляжа (осевой пунктир на рис. 172). После этого на расстоянии 15 мм под осевой линией и параллельно ей проводят еще одну прямую линию; она обо­значит нижнюю границу фюзеляжа — нижний его стрингер. Верхние стрингеры фюзеляжа изогнуты по плавной кривой. Чтобы правильно начертить фюзеляж, следует в пяти-шести ме­стах измерить расстояния по перпендикуляру к осевой линии и, отложив их кверху, поставить точки. Соединяют эти точки плав­ной кривой, используя лекало или тонкую ровную рейку, соот­ветственно ее изогнув. Это будет очертание верхней стороны фюзеляжа. Носовую часть фюзеляжа можно вычертить, подо­брав лекало.

На линиях, изображающих стрингеры, нужно отметить точ­ками положение концов раскосов а вычертить их, как показано на рис. 172.

После этого вычерчивают фюзеляж при виде сверху. Снова проводят осевую линию и, повторяя прием, описанный выше, вычерчивают очертания фюзеляжа при помощи изогнутой рейки. Фюзеляж по низу уже, чем вверху. Пунктиром проводят линию, обозначающую нижние стрингеры. Носовую часть фю­зеляжа при виде сверху также вычерчивают по лекало.

Закончив вычерчивание вида сверху и пользуясь видом сбоку, размечают и проводят карандашом линии, указывающие положение поперечных распорок фюзеляжа: верхние поперечные распорки проводят сплошной линией, нижние — пунк­тирной.размеров деталей можно производить, прикладывая эти детали непосредственно к чертежу.Вычерчивание модели планера самолета.

Вычерчивание модели планера самолета
Вычерчивание модели планера самолета

Рис. 172. Вычерчивание модели планера самолета

На боковой проекции фюзеляжа вычерчивают лыжу и крюч­ки для леера, а также обозначают места расположения крыла и хвостового оперения.

Вычерчивание крыла и стабилизатора. Крыло модели имеет прямоугольную, с эллиптическими законцовками форму. Лон­жерон крыла и кромки параллельны друг другу. Нервюры рас­положены строго перпендикулярно лонжеронам и кромкам — при вычерчивании крыла это надо помнить.

Удобной осевой линией крыла (рис. 172) является лонже­рон; его и нужно начертить первым. Параллельно лонжерону на расстоянии, указанном на рис. 172, вычерчивают вверху переднюю, а внизу заднюю кромки крыла. Перпендикулярно к кромкам и лонжерону в левом их конце проводят короткую осевую Л'инию х—х. Это будет середина крыла, она находится сбоку потому, что чертится только одна правая половинка крыла. От осевой линии отмеряют расстояние, равное половите размаха крыла, т. е. 850 мм, и отмечают его точкой на другом, правом конце лонжерона. По лекалу вычерчивают закругление так, чтобы кривая, обозначающая его контур, проходила через точку а на лонжероне.

Далее, пользуясь размерами рис. 172, размечают места рас­положения нервюр и при помощи рейсшины и угольника вычер­чивают их. Стирают лишние линии, и чеотеж крыла готов.

Стабилизатор чертят так же, как и крыло. Его можно чер­тить отдельно или на входе фюзеляжа сверху, что удобнее, так как сразу указывает положение стабилизатора относительно фюзеляжа.

Изготовление шаблонов профилей крыла и стабилизатора

Крыло и стабилизатор имеют большое количество нервюр. Для ускорения их изготовления удобно сделать шаблоны, вос-производяшие форму нервюр в натуральную величину. Имея контур профиля, переносят его на фанеру или целлулоид и вырезают.

Шаблоны следует выполнять очень тщательно, поэтому кон­туры профилей надо перенести на материал, приготовленный для шаблонов возможно точнее. На рис. 173 показаны профили крыла (вверху) и стабилизатора (внизу). Они вычерчены в натуральную величину. Аккуратно перечертив их на кальку, можно иглой околоть контур на хорошо очишенный шкуркой лист фанеры. По нанесенным точкам надо аккуратно привести при помощи лекала контур профиля, а затем вырезать шаблон, оставляя линию. Окончательную обработку следует делать особенно тщательно (шкуркой, напильником с тонкой насечкой), чтобы на краях шаблона не было неровностей и задиров.

Профили крыла и стабилизатора модели планера самолета
Профили крыла и стабилизатора модели планера самолета

Рис. 173. Профили крыла и стабилизатора модели планера самолета

Шаблоны профилей крыла и стабилизатора полезно сохра­нить, написав иа них название профилей и на .какой модели они были применены. У нашего планера использованы профили:
 для крыла вогнутый, с отношением толщины к хорде равным 12%, для стабилизатора — плосковыпуклый десятипроцентный профиль. Эти шаблоны и в дальнейшем могут пригодиться; их можно также использовать и в качестве лекала для черчения.

Заготовка стрингеров для фюзеляжа, оперения и крыла

Для нашей модели потребуется большое количество сосно­вых стрингеров различного сечения. Стрингеры удобнее всего выстрагивать небольшим рубанком из заранее напиленных су­хих сосновых реек. Для модели потребуются следующие стрингеры.

Заготовка стрингеров для фюзеляжа, оперения и крыла
Заготовка стрингеров для фюзеляжа, оперения и крыла

Выстрагивать стрингеры лучше методом «протягивания», точно так, как при изготовлении схематической модели. Однако поскольку требуется изготовить стрингеры разного сечения, то приспособление для такого строгания надо делать иначе. На­пример, можно взять небольшой обрезок толстой доски (чтобы не портить стол) и на нее набивать фанерки разной толщины.

Приспособление для выстрогивания тонких стрингеров методом протягивания
Приспособление для выстрогивания тонких стрингеров методом протягивания

Рис. 174. Приспособление для выстрогивания тонких стрингеров методом протягивания

(рис. 174). Всего нужно прибить фанерки для размеров стрин­геров 2, 3, 5, б, 7, 10 мм. Доску с набитыми фанерками для выстрогивания стрингеров следует беречь: она пригодится не раз и в дальнейшем. Длинные стрингеры тонкого сечения удоб­нее выстрогивать вдвоем, пригласив на помощь товарища.

Выстрогать надо сразу все стрингеры, желательно даже с небольшим запасом, на тот случай, если какой-либо стрингер случайно сломается. После заготовки стрингеров можно перейти к постройке фюзеляжа.

Оглавление. Авиационный моделизм.

Лучшая поисковая катушка металлоискателя