Добавить в корзинуПозвонить
Найти в Дзене

Свет мой, зеркальце, скажи... Случай из практики онколога

Болезнь и выздоровление отражались в зеркале. Первой жалобой пациентки было появление небольшой припухлости мягких тканей левой щеки, никакой боли при этом не было. Как позже выяснилось, припухлость была вызвана злокачественной опухолью, которая образовалась в верхнечелюстной пазухе. Со временем опухоль заполнила весь объем Гайморовой пазухи, разрушила скуловую кость и продолжила рост наружу под кожей и мышцами лица, что и явилось причиной увеличения размеров щеки. Всего за несколько недель опухоль распространилась за пределы верхнечелюстной пазухи в полость орбиты, и в полость носа слева, в левую подвисочную ямку. Менее чем через 2 месяца после появления самых первых симптомов, опухоль достигала размеров 46х47х53мм, и метастазировала в шейные лимфоузлы слева. При обращении к онкологу по месту жительства была выполнена пункционная биопсия шейного лимфоузла слева, по данным цитологического исследования - картина злокачественного мелкоклеточного круглоклеточного новообразования, больше

Болезнь и выздоровление отражались в зеркале. Первой жалобой пациентки было появление небольшой припухлости мягких тканей левой щеки, никакой боли при этом не было. Как позже выяснилось, припухлость была вызвана злокачественной опухолью, которая образовалась в верхнечелюстной пазухе.

Стрелкой обозначена верхнечелюстная (Гайморова) пазуха
Стрелкой обозначена верхнечелюстная (Гайморова) пазуха

Со временем опухоль заполнила весь объем Гайморовой пазухи, разрушила скуловую кость и продолжила рост наружу под кожей и мышцами лица, что и явилось причиной увеличения размеров щеки.

Всего за несколько недель опухоль распространилась за пределы верхнечелюстной пазухи в полость орбиты, и в полость носа слева, в левую подвисочную ямку.

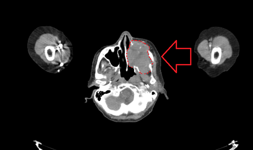
Стрелка указывает на опухоль, обведенную крастным пунктиром. На снимке хорошо видно, насколько левая половина лица больше правой
Стрелка указывает на опухоль, обведенную крастным пунктиром. На снимке хорошо видно, насколько левая половина лица больше правой

Менее чем через 2 месяца после появления самых первых симптомов, опухоль достигала размеров 46х47х53мм, и метастазировала в шейные лимфоузлы слева.

При обращении к онкологу по месту жительства была выполнена пункционная биопсия шейного лимфоузла слева, по данным цитологического исследования - картина злокачественного мелкоклеточного круглоклеточного новообразования, больше данных за лимфому.

Затем по месту жительства была выполнена пункционная биопсия опухоли верхнечелюстной пазухи - получены клетки рака.

А дальше процесс диагностики застопорился, так как возможности выполнить полноценную кор-биопсию и получить столбики опухолевой ткани не было, а результаты пункционных биопсий из опухоли и пораженного лимфоузла противоречили друг другу.

Дело в том, что между диагнозом рак и лимфома очень существенная разница. Лимфома – это злокачественная опухоль лимфоидной ткани, это заболевание, в отличие от рака, нередко протекает более агрессивно, но и гораздо легче поддается лечению. Излечение пациента с диагнозом лимфома IV стадии на сегодняшний день уже не является редким явлением.

Опухоль прогрессировала настолько быстро, что практически каждый день невооруженным глазом было заметно нарастание отека левой половины лица, а в течение последней недели левое глазное яблоко начало выдавливаться растущей опухолевой массой наружу. Пациентка была в отчаянии, поскольку ситуация выглядела безнадежной...

Опухоль разрушает нижнюю стенку орбиты и вплотную прилежит к глазному яблоку
Опухоль разрушает нижнюю стенку орбиты и вплотную прилежит к глазному яблоку

Достаточно было одного внешнего вида пациентки, чтобы понять всю экстренность ситуации. Действовать необходимо было максимально быстро. В день первичной консультации я под УЗИ-наведением выполнил кор-биопсию, получив 5 столбиков опухолевой ткани и с жирной подписью cito! отправил материал в патоморфологическую лабораторию. Скоро предстояло узнать с каким заболеванием нам предстояло иметь дело. Все очень надеялись на лимфому.

Через два дня после консультации был готов ответ – лимфопролиферативное заболевание.

-4

Диагноз рак не подтвердился, и это было самое главное. Теперь как можно быстрее нужно было провести все необходимые дополнительные обследования:

- ИГХ (иммуногистохимическое исследование) указало на тип лимфомы – мы имели дело с достаточно агрессивным вариантом высокозлокачественной B-клеточной лимфомы с мутацией гена с-МУС.

Иммуногистохимическое заключение указало конкретный тип лимфомы
Иммуногистохимическое заключение указало конкретный тип лимфомы

Ki67 - составлял 90% - это значит, что почти все опухолевые клетки были в состоянии деления, что выражалось в столь быстром увеличении объема опухолевой массы;

- ПЭТ-КТ подтвердило наличие образования левой верхнечелюстной пазухи с деструкцией ее стенок и альвеолярного отростка, а также пораженные шейные лимфоузлы слева с гиперметаболизмом ФДГ (мтс);

ПЭТ-КТ (вид спереди). Зеленый пунктир - головной мозг. Красный пунктир - опухоль
ПЭТ-КТ (вид спереди). Зеленый пунктир - головной мозг. Красный пунктир - опухоль

- МРТ головного мозга подтвердила отсутствие прорастания опухоли в полость черепной коробки и инвазию центральной нервной системы;

- Спинномозговая пункция подтвердила отсутствие опухолевых клеток в спинномозговой жидкости.

Вовлечение в опухолевый процесс центральной нервной системы является показанием к введению химиопрепаратов в полость спинного мозга (это помимо системной химиотерапии в вену).

Далее онкогематолог назначил достаточно серьезную 6-компонентную схему химиотаргетной терапии R-EPOCH. Лечение начали незамедлительно. От моей первичной консультации и биопсии опухоли до начала первого курса химиотерапии прошло 15 дней.

Всё происходящее дальше без преувеличения можно назвать волшебством. Наблюдение за бурным ответом лимфомы на лечение доставляет истинное удовольствие. Просто невероятно: страшная смертельная болезнь под воздействием химиопрепаратов начинает таять буквально на глазах.

Уже в первый день химиотерапии пациентка отметила уменьшение болевого синдрома, на второй день ночью смогла нормально уснуть, а на пятый день припухлость левой половины лица полностью исчезла, а глазное яблоко стало на свое привычное место. Пациентка не могла поверить своим глазам.

После четырех курсов химиотерапии опухоль уменьшилась практически до размеров верхнечелюстной пазухи, опухолевые клетки при этом практически перестали накапливать глюкозу, что говорит о том, что остаточная опухоль состоит по большей части из мертвых опухолевых клеток.

Контрольное обследование после 4-х курсов химиотерапии
Контрольное обследование после 4-х курсов химиотерапии

По контрольной ПЭТ-КТ зарегистрирован полный метаболический ответ уже после 4 курсов химиотаргетной терапии:

-8

Протокол лечения включает всего 6 курсов химиотерапии с последующим курсом лучевой терапии на ложе опухоли для снижения риска рецидива в будущем. Несмотря на изначальный можно сказать ужас положения пациентки, ситуацию удалось взять под контроль. Прогноз у пациентки благоприятный.

_____________________________________

Вячеслав Лисовой, врач-онколог. +7(915)050-85-81 (WhatsApp, Telegram)

Также Вам может быть интересно: