Найти в Дзене
СОЮЗ-ПРИБОР

Вольтметры: виды и принцип работы

Вольтметр — устройство, с помощью которого измеряют напряжение электрической цепи. При этом можно проводить замеры как постоянного, так и переменного тока. Есть несколько факторов, на основании которых классифицируют вольтметры: Также при выборе измерительного оборудования важно помнить о его технических характеристиках: нужно учитывать температуру, влажность, атмосферное давление, напряжение и другие факторы, при которых возможно задействовать вольтметр в цепи. Кроме этого, большую роль играет тип объекта, на котором будут проводиться измерения. По принципу действия вольтметры делят на: Измерения прибором первого типа основываются на взаимодействии конструктивных механизмов (рамки, стрелки, металлических наконечников) и напряжения. В результате взаимодействия появляется электромагнитное поле, которое с помощью стрелки отображает полученный результат. Таким образом входное переменное напряжение преобразовывается в постоянное. Чем больше величина входного напряжения, тем больше отклоняе
Оглавление

Вольтметр — устройство, с помощью которого измеряют напряжение электрической цепи. При этом можно проводить замеры как постоянного, так и переменного тока.

Какие бывают вольтметры

Есть несколько факторов, на основании которых классифицируют вольтметры:

  • Принцип действия;
  • Конструкция;
  • Назначение.

Также при выборе измерительного оборудования важно помнить о его технических характеристиках: нужно учитывать температуру, влажность, атмосферное давление, напряжение и другие факторы, при которых возможно задействовать вольтметр в цепи. Кроме этого, большую роль играет тип объекта, на котором будут проводиться измерения.

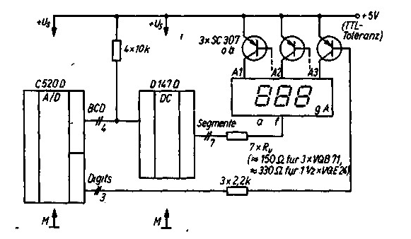
На чем основан принцип работы вольтметра

Схема цифрового вольтметра
Схема цифрового вольтметра

По принципу действия вольтметры делят на:

  • Электромеханические;
  • Электронные.

Измерения прибором первого типа основываются на взаимодействии конструктивных механизмов (рамки, стрелки, металлических наконечников) и напряжения. В результате взаимодействия появляется электромагнитное поле, которое с помощью стрелки отображает полученный результат. Таким образом входное переменное напряжение преобразовывается в постоянное. Чем больше величина входного напряжения, тем больше отклоняется стрелочный указатель.

Цифровой вольтметр считается более точным по сравнению с аналоговыми приборами. Работа устройства основана на трансформировании входного напряжения в цифровой показатель, отображающийся на дисплее. При этом точность результата зависит от того, какой дискретностью обладает устройство. Технические и функциональные возможности универсальных цифровых вольтметров позволяют использовать прибор как на производстве, так и при проведении лабораторно-исследовательских и научных работ.

Особенности конструкции

Конструктивно вольтметры делятся на стационарные и портативные. Первый вид характеризуется более сложной измерительной схемой по сравнению с другими модификациями. Также часто одним из преимуществ таких приборов считается диапазон измерений.

Портативные вольтметры отличаются мобильностью. Поэтому их можно использовать на объектах производственного цикла.

Для чего используется вольтметр

В7-78/1 - универсальный вольтметр
В7-78/1 - универсальный вольтметр

По назначению все измерительные устройства можно разделить на следующие типы:

  • Импульсные. Используются для замеров коротких импульсов.
  • Селективные. Приборы этого типа применяют для избирательного выделения определенных гармоник в сложном сигнале.
  • Вольтметры для работы в сетях переменного/постоянного тока.
  • Фазочувствительные, или векторметры. Такие приборы применяют не только для определения комплексного напряжения, но и для измерения отдельных составляющих электрической цепи.
  • Универсальные. Многофункциональный тип вольтметров, с помощью которого производят замеры ЭДС в разных видах сетей. Одним из преимуществ таких приборов считается небольшое потребление энергии при богатом наборе функциональных возможностей.

Перед выбором вольтметра важно определиться, какой тип измерений будет производиться с его помощью и с какой точностью необходимо получить результат. Если нужна консультация, или возникли вопросы, можно связаться с менеджерами СОЮЗ-ПРИБОР по телефону, электронной почте или через форму обратной связи.

Отправить заявку:
radio@souz-pribor.ru
Технические вопросы:
support-radio@souz-pribor.ru

Телефон:
8 800 222-51-73