Найти в Дзене
4pda.to

Инсайд: Google «прокачает» реверсивную зарядку гаджетов от смартфона

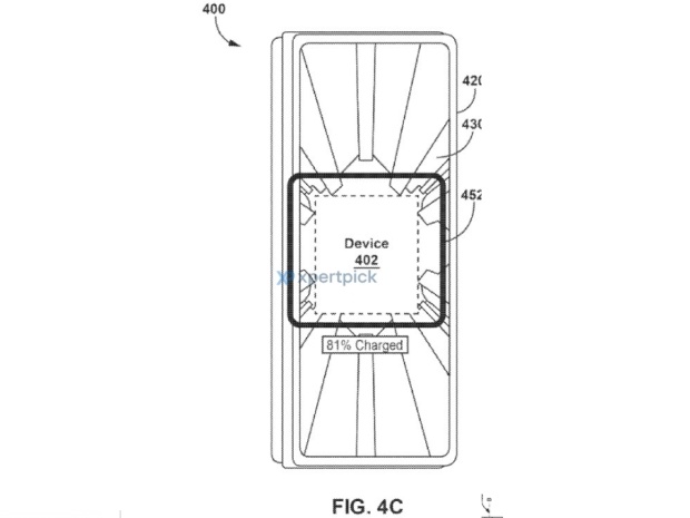
Современные смартфоны способны делиться зарядом с наушниками и умными часами по воздуху — но при этом им приходится лежать на столе экраном вниз из-за расположения индукционной катушки под задней крышкой. Судя по одному из патентов Google, вскоре ситуация может измениться. Новая технология описана в патентной заявке под номером 18294508. Согласно документу, индукционная катушка может встраиваться не под заднюю крышку, а под экран смартфона. У такого метода обратной беспроводной зарядки, по словам разработчиков, есть сразу два преимущества перед актуальной схемой. В первую очередь, телефон больше не придётся постоянно класть экраном вниз, пропуская уведомления из приложений во время зарядки. Кроме того, производители смогут оснащать смартфоны задними крышками из металла и других материалов, не пропускающих ток, не отказываясь от функции «реверса». Когда именно устройства с поддержкой новой технологии могут появиться на рынке, пока неизвестно. Не исключено, что компания просто защищает с
   Инсайд: Google «прокачает» реверсивную зарядку гаджетов от смартфона
Инсайд: Google «прокачает» реверсивную зарядку гаджетов от смартфона

Современные смартфоны способны делиться зарядом с наушниками и умными часами по воздуху — но при этом им приходится лежать на столе экраном вниз из-за расположения индукционной катушки под задней крышкой. Судя по одному из патентов Google, вскоре ситуация может измениться.

-2

Новая технология описана в патентной заявке под номером 18294508. Согласно документу, индукционная катушка может встраиваться не под заднюю крышку, а под экран смартфона. У такого метода обратной беспроводной зарядки, по словам разработчиков, есть сразу два преимущества перед актуальной схемой.

В первую очередь, телефон больше не придётся постоянно класть экраном вниз, пропуская уведомления из приложений во время зарядки. Кроме того, производители смогут оснащать смартфоны задними крышками из металла и других материалов, не пропускающих ток, не отказываясь от функции «реверса».

Когда именно устройства с поддержкой новой технологии могут появиться на рынке, пока неизвестно. Не исключено, что компания просто защищает свою интеллектуальную собственность.