Найти в Дзене

Ударный способ бурения нефтяных и газовых скважин. Принцип работы

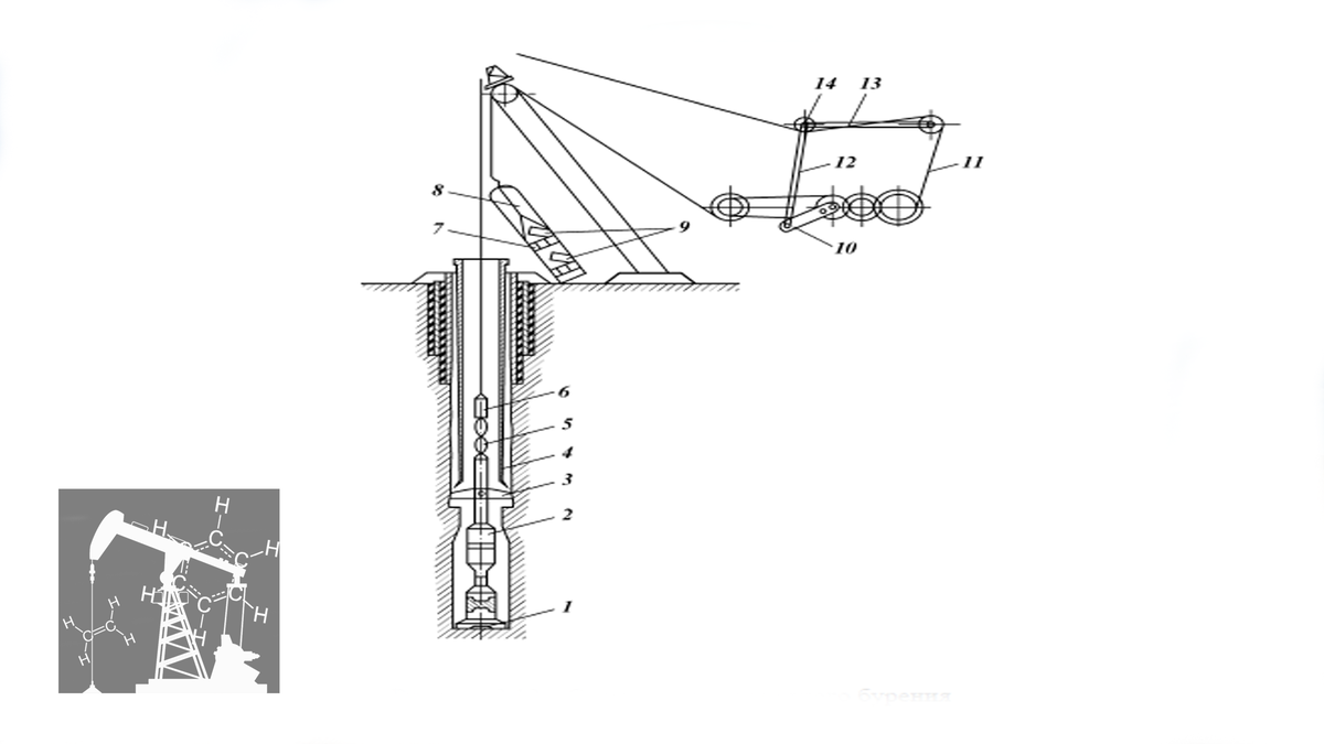
Доброго времени суток, дорогие читатели. Ранее мы с вами рассматривали вращательный способ бурения. Однако есть еще и ударный способ бурения нефтяных и газовых скважин. Всё об этом способе поговорим в этой статье. Начнем с того, что при ударном способе бурения ствол скважины создается периодическими ударами долота по забою под действием собственного веса и тяжелой ударной штанги. Приподнимание долота и ударной штанги, прикрепленных к штангам (ударное штанговое бурение) или инструментальному канату (ударное канатное бурение), осуществляется балансиром бурового станка. На рисунке, представленном ниже изображена схема ударно-канатного бурения. Кривошипно-шатунный механизм 10, 12 приводит в движение балансирную раму 13, при опускании которой оттяжной ролик 14 натягивает инструментальный канат 11 и поднимает долото 1 над забоем на 0,05–1,5 м. При подъеме балансирной рамы долото падает и разрушает породу. Лезвия долота имеют небольшую площадь контакта с забоем, что обеспечивает их значительн

Доброго времени суток, дорогие читатели. Ранее мы с вами рассматривали вращательный способ бурения. Однако есть еще и ударный способ бурения нефтяных и газовых скважин. Всё об этом способе поговорим в этой статье.

Начнем с того, что при ударном способе бурения ствол скважины создается периодическими ударами долота по забою под действием собственного веса и тяжелой ударной штанги. Приподнимание долота и ударной штанги, прикрепленных к штангам (ударное штанговое бурение) или инструментальному канату (ударное канатное бурение), осуществляется балансиром бурового станка. На рисунке, представленном ниже изображена схема ударно-канатного бурения. Кривошипно-шатунный механизм 10, 12 приводит в движение балансирную раму 13, при опускании которой оттяжной ролик 14 натягивает инструментальный канат 11 и поднимает долото 1 над забоем на 0,05–1,5 м. При подъеме балансирной рамы долото падает и разрушает породу. Лезвия долота имеют небольшую площадь контакта с забоем, что обеспечивает их значительное углубление при каждом ударе и разрушение даже очень твердых пород. Поражение всей поверхности забоя и получение цилиндрического ствола достигается принудительным проворачиваем инструмента после каждого удара с помощью канатного замка 6. После углубления всей площади забоя на достаточную величину на ту же величину удлиняется весь инструмент. Инструментальный канат 11 сматывается с инструментального барабана. Инструмент (буровой снаряд) канатного бурения кроме долота 1 ударной штанги 2 массой 1000–2000 кг, каната и канатного замка 6 для их соединения включает раздвижную штангу 5 (ясс, самопад) и расширитель 3. При штанговом бурении ясс предохраняет штанги от действия динамических нагрузок, допуская некоторое свободное перемещение штанг вниз после удара долота о забой; самопады допускают свободное падение долота и ударной штанги с высоты, близкой к длине хода головки балансира (балансирной рамы).

-2

Конструктивно яссы представляют собой трубу в трубе как два звена цепи, имеющие свободное перемещение в пределах определенной длины. В самопаде предусматривается устройство, обеспечивающее захват ударной штанги, долота на забое и сбрасывание их после окончания хода балансира вверх. При канатном бурении яссы облегчают выбивание долота вверх при бурении в вязких породах.

-3

Расширитель 3 обеспечивает увеличение диаметра скважины больше диаметра долота 1 и обсадной колонны 4, внутри которой он вместе со всем инструментом спускается. Поэтому расширитель при спуске и подъеме внутри обсадной колонны складывается, а в рабочее положение приводится при выходе из-под ее башмака (основания).

-4

Для взвешивания шлама в процессе работы долота на забой подается вода, если она самопроизвольно не поступает из разбуриваемых или ранее вскрытых пластов. Очистка забоя скважины от шлама осуществляется по мере его накопления периодически с помощью устройства, называемого желонкой 8. Желонка состоит из цилиндра и поршня, оборудованных обратными клапанами 7, 9. Желонка спускается на относительно легком тартальном канате с высокоскоростного барабана (тартального). При достижении желонкой забоя поршень под действием собственного веса опускается вниз на дно колонки. При подъеме поршня его клапан закрывается, а клапан желонки остается открытым, обеспечивая поступление в желонку перемешанного с водой шлама. При отрыве желонки от забоя под действием собственного веса и веса шлама закрывается и нижний клапан. При ударном бурении скважина обычно не заполняется буровым раствором, поэтому для предотвращения обвалов спускается (ходовая) обсадная колонна, периодически продвигающаяся к забою по мере углубления скважины.

-5

Обсадная колонна спускается со специального барабана. Наращивание ее осуществляется трубами с резьбовыми соединениями (редко на сварке). С увеличением выхода (расстояния) башмака опускаемой колонны из-под башмака предыдущей (ранее спущенной) затрудняется и наконец становится невозможным ее проталкивание к забою даже с помощью забивных снарядов. Тогда эта колонна оставляется в скважине в таком положении, чтобы ее башмак находился в устойчивых породах. Далее вновь опускается следующая (ходовая) обсадная колонна, которая так же продвигается к забою по мере углубления скважины. Поэтому число обсадных колонн при ударном бурении велико.

Для ударного бурения нефтяных скважин характерны следующие основные особенности. Способ разрушения горных пород периодическими ударами с частотой от 10–20 до 100–150 в минуту при длительности собственного удара всего в десятые и сотые доли секунды дает возможность сосредотачивать в контакте с породой большие мощности и разрушать практически любую по твердости породу из осадочного комплекса при малой мощности привода бурового станка. Однако вследствие низкой частоты ударов невелики и скорости проходки – не более нескольких метров в час.

-6

Отсутствие буровых насосов, очистных устройств, непрерывной промывки скважин облегчает буровую установку, требует сравнительно небольшой мощности привода и расхода электроэнергии или топлива. Энергоемкость бурения невелика, однако скорости проходки понижаются еще больше вследствие периодичности очистки забоя и больших перерывов в работе долота.

Из-за отсутствия бурового раствора в скважине не создается противодавление на ее стенки и насыщающие пласты флюиды, что, с одной стороны, улучшает качество вскрытия низконапорных пластов, исключает их загрязнение и пропуск при разведке, а с другой стороны, повышает опасность обвалообразований, вынуждает спускать большое число обсадных колонн, что соответственно требует больших затрат на строительство скважин. Отсутствие регулируемого противодавления в скважине практически исключает вскрытие высоконапорных нефтяных пластов из-за опасности выбросов, открытого фонтанирования и пожаров.

-7

Попытки усовершенствовать ударное бурение за счет применения непрерывной циркуляции жидкости для очистки забоя приводили к существенному усложнению оборудования и удорожанию его эксплуатации, лишали ударное бурение и другого преимущества перед вращательным – более высокого качества вскрытия продуктивных нефтяных пластов, поэтому выпускаемые у нас станки ударно-канатного бурения для других отраслей промышленности не предусматривают непрерывную циркуляцию бурового раствора, имеют небольшую массу и предназначены для бурения на глубину менее сотни метров. В США есть опыт применения ударного бурения лишь для вскрытия нефтяных пластов, когда весь основной ствол бурится вращательным способом (комбинированное последовательное ударно-вращательное бурение).

-8

Однако и для этих целей оно было заменено более эффективным вращательным бурением с аэрацией пеной или продувкой газообразными агентами, промывкой растворами на нефтяной основе. В России ударное бурение применяется ныне в других отраслях.

А на этом у меня всё, спасибо, что дочитали статью до конца. До новых встреч!