Добавить в корзинуПозвонить
Найти в Дзене

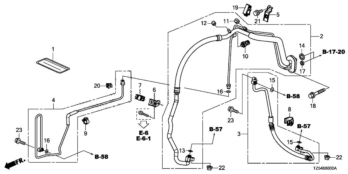
2. Шланги и трубки кондиционера

Приветствую читатель! Раз ты читаешь данную статью, значит в поисках запчастей на свою Acura MDX 3 поколения. Я, как и многие владельцы MDX-ов, испытываю некоторую сложность с подбором запчастей для своего автомобиля, и ситуация усугубляется тем, что мой MDX ещё и чистый американец, отличается чуток от тех(совсем немного), что продавались в РФ официально. Суть да дело, мои статьи будут направлены на руссификацию каталога запчастей MDX 3 поколения. Не знаю, на сколько меня хватит, ну буду стараться сделать полный перевод. Можете поддержать пальцем вверх! В случае выявления нестыковок, либо имеются опытные дополнения, прошу воспользоваться комментариями, буду редактировать статью! Подписываемся, чтобы не пропустить что то полезное! Всем удачи и родных дорог!

Приветствую читатель!

Раз ты читаешь данную статью, значит в поисках запчастей на свою Acura MDX 3 поколения.

Я, как и многие владельцы MDX-ов, испытываю некоторую сложность с подбором запчастей для своего автомобиля, и ситуация усугубляется тем, что мой MDX ещё и чистый американец, отличается чуток от тех(совсем немного), что продавались в РФ официально.

Суть да дело, мои статьи будут направлены на руссификацию каталога запчастей MDX 3 поколения. Не знаю, на сколько меня хватит, ну буду стараться сделать полный перевод. Можете поддержать пальцем вверх!

В случае выявления нестыковок, либо имеются опытные дополнения, прошу воспользоваться комментариями, буду редактировать статью!

Подписываемся, чтобы не пропустить что то полезное!

Всем удачи и родных дорог!

Схема
Схема