Добавить в корзинуПозвонить
Найти в Дзене
Ниппон Сервис

Сказ про насос высокого давления автомобилей Мазда

Вот еще один закос
Из страны сакурных рос –
Для систем прямова впрыску
Дивный топливный насос.
Вызывает антирес
Их питательный процесс:
Как они бензин качают —
С алкоголем али без?.. Автомобили с системой прямого впрыска Mazda имеют безвозвратную топливную систему с одной топливоподающей трубкой, и что характерно – не одни они. Блок управления двигателем РСМ меняет количество топлива, подаваемого в насос высокого давления (ТНВД), регулируя давление топлива в системе насосом низкого давления, расположенным в топливном баке, в зависимости от режима работы, что повышает надёжность системы. При включении зажигания, PCM включает на 1 сек реле топливного насоса низкого давления, чтобы поднять давление в магистрали подачи топлива, что улучшает запуск двигателя. При работе двигателя реле топливного насоса и реле управления оборотами топливного насоса (в зависимости от модели) изменяют давление в магистрали подачи топлива от 380 до 480 кПа в соответствии с режимом работы. В систему высокого да

Вот еще один закос
Из страны сакурных рос –
Для систем прямова впрыску
Дивный топливный насос.
Вызывает антирес
Их питательный процесс:
Как они бензин качают —
С алкоголем али без?..

Автомобили с системой прямого впрыска Mazda имеют безвозвратную топливную систему с одной топливоподающей трубкой, и что характерно – не одни они. Блок управления двигателем РСМ меняет количество топлива, подаваемого в насос высокого давления (ТНВД), регулируя давление топлива в системе насосом низкого давления, расположенным в топливном баке, в зависимости от режима работы, что повышает надёжность системы.

При включении зажигания, PCM включает на 1 сек реле топливного насоса низкого давления, чтобы поднять давление в магистрали подачи топлива, что улучшает запуск двигателя. При работе двигателя реле топливного насоса и реле управления оборотами топливного насоса (в зависимости от модели) изменяют давление в магистрали подачи топлива от 380 до 480 кПа в соответствии с режимом работы.

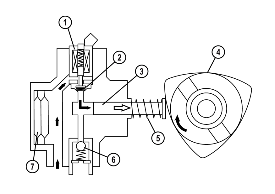
В систему высокого давления входят: насос высокого давления, магистраль высокого давления, топливная магистраль (рейка/рампа) с клапаном ограничителя давления и датчиком давления, топливные форсунки.

Насос высокого давления преобразует, что не удивительно, давление насоса низкого давления в высокое давление и подаёт топливо в топливную магистраль. Он находится в головке блока цилиндров и состоит из плунжера, впускного клапана, выпускного клапана, соленоида управления сбросом (электромагнитным сливным клапаном) и демпфера пульсаций.

ТНВД
ТНВД

1 – электромагнитный сливной клапан
2 – плунжер
3 –в топливную магистраль
4 – из топливного бака
5 – из клапана ограничителя давления

Подпружиненный плунжер (см. рисунок ниже) насоса высокого давления приводится в действие кулачком трохоидной формы, расположенным на распределительном вале головки блока цилиндров, который вращается с частотой, равной половине частоты вращения коленчатого вала двигателя.

Когда плунжер перемещается от верхней мертвой точки (ВМТ) к нижней мертвой точке (НМТ), топливо проходит через открытый впускной клапан в камеру высокого давления (фаза наполнения).

Схема ТНВД
Схема ТНВД

1 – электромагнитный сливной клапан
2 – впускной клапан
3 – плунжер
4 – распределительный вал с кулачком трохоидной формы
5 – пружина
6 – выпускной клапан
7 – демпфер пульсаций

Когда плунжер перемещается от HMT к BMT (рабочий ход), а электромагнитный сливной клапан держит впускной клапан открытым, топливо в камере высокого давления возвращается на сторону всасывания насоса (фаза сброса).

Фаза сброса
Фаза сброса

Когда электромагнитный сливной клапан закрывает впускной клапан, топливо сжимается в камере высокого давления (фаза высокого давления). Давление в камере высокого давления растет, выпускной клапан открывается, и топливо подается через магистраль высокого давления в топливную рейку.

Рабочий ход завершается, когда давление в камере высокого давления становится ниже, чем давление в магистрали высокого давления, и выпускной клапан закрывается (конец фазы высокого давления).

Фаза высокого давления
Фаза высокого давления

Электромагнитный сливной клапан управляет длительностью фазы высокого давления насоса и, следовательно, количеством топлива, подаваемого в топливную магистраль. В результате, давление топлива в магистрали меняется в зависимости от режима работы.

В случае обрыва цепи электромагнитный сливной клапан удерживает впускной клапан открытым, т.е., высокое давление больше не создаётся. В результате давления топлива, создаваемого топливным насосом низкого давления, достаточно для открытия впускного клапана насоса высокого давления. Топливо продолжает поступать в топливную рейку, так что двигатель продолжает работать и при давлении топлива, равном примерно 450-540 кПа. Автомобиль при этом легко обгоняется пешеходом.

Кроме того, насос высокого давления оборудован демпфером пульсаций, который находится на стороне всасывания насоса и состоит из двух демпфирующих камер, сделанных из листовой стали. Если давление на стороне всасывания достигло требуемого значения, демпферные камеры деформируются, увеличивая объём топлива. В результате, лишнее топливо при скачках давления аккумулируется, а также возвращается обратно, когда давление падает. Таким образом, колебания давления, характерные для подачи насоса, гасятся.

Топливная рейка аккумулирует топливо под постоянным высоким давлением от 3 до 12 МПа (в зависимости от рабочего режима). Работа насоса высокого давления, открытие и закрытие форсунок порождают колебания давления в системе высокого давления. Поэтому топливная рейка  имеет достаточный объём, чтобы сгладить колебания до минимума.

-5

1 – к форсунке
2 – клапан ограничителя давления
3 – от насоса высокого давления
4 – топливная магистраль
5 – датчик давления топлива

Клапан ограничителя давления защищает систему от чрезмерного давления в случае неисправности. Клапан находится в топливной рейке и содержит подпружиненный шариковый клапан. Если давление превысит максимально допустимое значение, равное 13 МПа, клапан откроется, и лишнее топливо возвратится на сторону всасывания насоса высокого давления.

Датчик давления топлива находится в топливной магистрали, определяет давление топлива в рейке и передает параметры давления в РСМ. Датчик состоит из стальной мембраны со встроенным сенсором деформации. Электрическое сопротивление сенсора меняется, если его форма изменяется под воздействием давления.

Датчик давления топлива
Датчик давления топлива

1 – оценочная электроника
2 – стальная мембрана со встроенным датчиком деформации
3 – от топливной магистрали

Ремонт насоса высокого давления заключается в его замене на новый либо заведомо исправный. Это справедливо и в отношении электромагнитного сливного клапана и датчика давления.

Проконсультироваться, если что, по проблемам топливной системы двигателя вашего автомобиля Mazda вы можете у наших специалистов по телефону: +7(495) 001-05-21. А задать вопросы вполне себе возможно в нашем чате: Ниппон Сервис Chat.

Оригинал статьи на сайте Ниппон Сервис: http://ниппонсервис.рф/tekhnika-i-tekhnologii/343-kak-rabotaet-nasos-vysokogo-davleniya-na-avtomobilyakh-mazda